

3/16”PUNCH & FLANGE TOOL
MODEL NO: CAT216
PART NO: 3110470
OPERATING & MAINTENANCE INSTRUCTIONS
ORIGINAL INSTRUCTIONS
GC04/22
INTRODUCTION
Thank you for purchasing this CLARKE Punch and Flange forming tool.
Before attempting to use this product, please read this manual thoroughly and follow the instructions carefully. In doing so you will ensure the safety of yourself and that of others around you, and you can look forward to your purchase giving you long and satisfactory service.
Please keep these instructions in a safe place for future reference.
SPECIFICATION
| Model Number | CAT216 |
| Part Number | 3110470 |
| Dimensions (L x W x H) | 250 x 60 x 60 mm |
| Max Operating Pressure | 90 psi (6.2 bar) |
| Average Air Consumption | 4 cfm (1.88l/s) |
| Air Inlet Size | 1/4“BSP female |
| Min Hose Diameter | 3/8 in |
| Punch Diameter | 3/16 in |
| Maximum Punching Capacity | 16-gauge (1.5mm) sheet metal |
| Maximum Crimping Capacity | 14-gauge (1.8mm) sheet metal |
GUARANTEE
This product is guaranteed against faulty manufacture for a period of 12 months from the date of purchase. Please keep your receipt which will be required as proof of purchase.
This guarantee is invalid if the product is found to have been abused or tampered with in any way, or not used for the purpose for which it was intended.
Faulty goods should be returned to their place of purchase, no product can be returned to us without prior permission. This guarantee does not affect your statutory rights
GENERAL SAFETY RULES
CAUTION: FAILURE TO FOLLOW THESE PRECAUTIONS COULD RESULT IN PERSONAL INJURY, AND/OR DAMAGE TO PROPERTY.
THE WORK ENVIRONMENT
- Keep the work area clean and tidy.
- Dress appropriately – DO NOT wear loose clothing or jewelry. Tie long hair out of the way.
- Keep children and visitors away – DO NOT let children handle the tool.
- DO NOT operate the tool where there are flammable liquids or gases.
USE OF AIR POWERED TOOLS
- Stay alert and use common sense – DO NOT operate the tool when you are tired or under the influence of alcohol, drugs, or medication.
- ALWAYS wear eye protectors when using the tool. Eye protectors must provide protection from flying particles from the front and the side. Ear protectors should also be worn.
- DO NOT overreach – Keep proper footing and balance at all times.
- NEVER use oxygen, CO², combustible gases, or any type of bottled gas as a source of power for this tool.
- DO NOT connect the air supply hose with your finger on the trigger.
- DO NOT exceed the maximum pressure for the tool of 90 psi / 6.2 bar.
- Check hoses for leaks or worn conditions before use and ensure that all connections are secure.
- Keep the air supply hose away from heat, oil, and sharp edges.
- DO NOT use the tool for any purpose than that described in this manual.
- DO NOT fit the tool to any stand or clamping device that may damage it.
- DO NOT carry out any alterations or modifications to the tool.
- ALWAYS disconnect from the air supply when:
• Performing any maintenance.
• The tool is not in use.
• The tool will be left unattended.
• Moving to another work area.
• Passing the tool to another person. - NEVER use the tool if it is defective or operating abnormally.
- This tool should be serviced at regular intervals by qualified service personnel.
- Avoid damaging the tool for example by applying excessive force of any kind.
- ALWAYS maintain the tool with care. Keep it clean for the best and safest performance.
- Quick change couplings should not be located at the tool. They add weight and could fail due to vibration.
- DO NOT force or misuse the tool. It will do a better and safer job at the rate at which it was designed.
- DO NOT remove any labels. Damaged labels should be replaced.
- This tool vibrates with use. Vibration may be harmful to your hands or arms. Stop using the tool if discomfort, a tingling feeling or pain occurs. Seek medical advice before resuming use.
HAZARDS SPECIFIC TO CUTTING/PUNCHING TOOLS
- Be careful around all moving parts and pinch points. Always keep your fingers away from the point of cutting.
- Ensure material is properly supported during cutting. Use supports for long material. Hold the material securely to prevent it from tilting during the cut. Use clamps or vices to hold the workpiece whenever possible.
- Take care of sharp edges produced by the work.
- DO NOT use damaged punches. When replacing cutting tool parts, make sure they are correctly and securely fitted.
- Anticipate the unexpected tool movement due to a binding punch. Release the trigger immediately if this occurs.
TRANSPORT & STORAGE
- DO NOT carry the tool by the air hose.
- Never carry an air tool with your finger on the trigger.
- When not in use the air tool must be disconnected from the air supply and stored in a dry place out of the reach of children.
COMPRESSED AIR REQUIREMENTS
WARNING: COMPRESSED AIR CAN BE DANGEROUS. ENSURE THAT YOU ARE FAMILIAR WITH ALL PRECAUTIONS RELATING TO THE USE OF COMPRESSORS AND A COMPRESSED AIR SUPPLY.
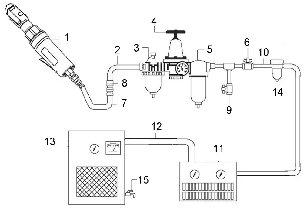
A typical airline layout is shown below. If an automatic in-line filter/regulator is used, it will keep air tools in good condition but should be regularly checked and topped up with oil. CLARKE airline oil should be used and the lubricator is adjusted to approx 2 drops per minute.

AIR SYSTEM LAYOUT :
- Air Tool
- Air Hose 3/8″ (I.D.)
- Oiler
- Pressure Regulator
- Filter
- Shut Off Valve
- Whip Hose
- Coupler Body And Connector
- Drain Daily
- 1/2″ Or Larger Pipe And Fitting
- Air Dryer
- 1″ Or Larger Pipe And Fitting
- Air Compressor
- Auto Drain
- Drain Daily
Use only clean, dry, regulated compressed air as a power source.
Air compressors used with the tool must comply with the appropriate European Community Safety Directives.
The air hose must be rated at least 150% of the maximum operating pressure of the tool.
For optimum performance, it is recommended that a 3/8” ID airline hose is used.
Set the tool in the OFF position before connecting it to the air supply.
A build-up of moisture or oil in the air compressor will accelerate wear and corrosion in the air tool. Ensure any moisture is drained from the compressor daily and the inlet filter is kept clean.
If an unusually long air hose is required, (over 8 meters), the line pressure or the hose inside diameter may need to be increased by up to 15 psi to maintain air pressure at the tool.
Never exceed the maximum operating pressure for the air tool. It is recommended that the air pressure to this tool does not exceed 90 psi at the air tool when running. Higher pressures and dirty air will shorten the life of the tool due to faster wear and is a possible safety hazard.
Check hoses for wear or damage before use.
PRODUCT OVERVIEW

| NO | DESCRIPTION | NO | DESCRIPTION |
| 1 | Clamp 6 | 6 | Trigger |
| 2 | Anvil | 7 | Oil plug |
| 3 | Punch Die | 8 | Air Cylinder |
| 4 | Punch 9 | 9 | Air Inlet |
| 5 | Hydraulic Cylinder | 10 | Airline adaptor |
The CAT216 Punch and Flange forming tool is a versatile 2-in-1 tool designed to crimp and punch mild steel. It has an aluminum alloy body with a steel punch and die and puts a flange onto the car panel thickness sheet for lap jointing and puts 3/16in holes in panels for MIG spot-welding or riveting.
BEFORE USE
WARNING: COMPRESSED AIR CAN BE DANGEROUS. ENSURE THAT YOU ARE FAMILIAR WITH ALL PRECAUTIONS RELATING TO THE USE OF AIR COMPRESSORS AND A COMPRESSED AIR SUPPLY.
CONNECTING THE AIRLINE
NOTE: Ensure the air supply is turned off.
- Remove the travel plug.
- If required, connect an in-line mini oiler to the tool. Refer to the instructions supplied with the mini oiler before use.
• A mini oiler helps to prolong the life of any air tool. - Connect a suitable hose. This can be done using either the male adaptor supplied or using a mini oiler from your CLARKE dealer.
- If a mini-oiler is not being used, run a few drops of oil through the tool before use. It can be entered through the airline connector or via the hose at the nearest connection to the air supply.
- Connect the other end of the hose to the compressor.
- Turn on the air supply and check for air leaks. Rectify any found before proceeding. Set the working pressure to 90psi/6.2 bar for best performance.
• PTFE tape may be useful for sealing threaded connections. - Place a sheet of paper next to the exhaust port and hold the throttle open for approximately 30 seconds. The oil volume is correctly set when a light stain of oil can be seen on the paper. Excessive oil should be avoided.
Your air tool is now ready for use.
You can fit a whip hose with a quick fit coupling if required (available from your CLARKE dealer).

OPERATION
- Connect the tool to the air supply.
FLANGING
IMPORTANT: If you intend to flange and punch the workpiece, flange it first and then measure for hole placement. Flanging will change the dimensions of the workpiece.
- Measure and cut the workpiece to the correct dimensions.
- Secure the workpiece in a vice or another appropriate clamping method if needed.
- Insert the workpiece into the flanging jaw between the anvil (2) and the clamp (1). Make sure that the workpiece is flush against the back of both the anvil and the clamp. Depress the trigger (6) and the anvil will be driven against the clamp forming a flange.
- Release the trigger. Slide the punch/flange tool along the edge of the workpiece to where the anvil (2) and the clamp (1) overlap part of the workpiece you just flanged. Repeat Step 3.
- Repeat steps 3 and 4 until the entire flange is finished.
- Disconnect the tool from the air supply.
PUNCHING
NOTE: The tool head can be rotated 360 degrees. Just manually rotate the tool head clockwise or counterclockwise within a half round to make the necessary adjustment.
- Mark the desired location on the workpiece of each hole you wish to punch.
- Insert the edge of the workpiece between the punch die (3) and punch (4). Make sure that your marks are aligned with the punch die.
- Depress the trigger (6) and the punch will pierce the workpiece.
- Align the punch/flange tool with the next mark on the workpiece and repeat Step 3 until the job is finished.
- Disconnect the tool from the air supply.
It is recommended that a whip hose with a swivel (not included) be used to prevent twisting, kinking, and resultant wear to the air hose.
DISCONNECTING THE AIR SUPPLY
- DO NOT disconnect the air hose until the supply is isolated at a shut-off valve.
- Once the pressure has been isolated, disconnect the air supply hose from the air tool.
- Shut down the compressor at the end of the work session and drain daily as recommended.
STORAGE
When not in use, disconnect from the air supply, clean & store in a safe, dry place.
If the tool is to be stored or is idle for longer than 24 hours, run a few drops of CLARKE air line oil into the air inlet and run the tool for 5 seconds in order to lubricate the internal parts. When storing, replace the blanking plug on the airline inlet. Avoid storing the tool where the temperature is below 0ºC.
MAINTENANCE
WARNING: MAKE SURE THAT THE AIR TOOL IS DISCONNECTED FROM THE COMPRESSED AIR SUPPLY BEFORE STARTING ANY CLEANING OR MAINTENANCE PROCEDURES.
DAILY
- Before use, drain water from the compressed air supply.
- If no airline lubricator or mini oiler is used, ensure that oil is applied to the tool on a daily basis through the air inlet connection. Run a few drops of oil through the tool before use. It may be entered into the tool air inlet, (ensuring the strainer is clear), or into the hose at the nearest connection to the air supply.
- This procedure should be repeated after every two to three hours of use or at the start of the working day.
- Keep the body of the tool clean and free from debris.
WEEKLY
- If in regular use, check the air inlet screen filter for blockage and clean if necessary.
CLEANING
Grit or gum deposits in the tool may reduce efficiency.
- After extensive use, remove the inlet screen filter and flush out the mechanism with gum solvent oil or an equal mixture of CLARKE air-line oil and paraffin. Allow drying before use.
- If the tool still runs erratically or becomes inefficient and the air supply is of good quality, it may be necessary to dismantle the air motor and replace worn or damaged parts. You may prefer to take the tool to your CLARKE dealer if internal maintenance is required.

HYDRAULIC SYSTEM LUBRICATION
- Remove the oil plug with the hex key (provided) and set it aside.
- Fill the reservoir with hydraulic oil. Take care not to overfill.
- Screw the oil plug back in and clean any excess oil.

PERFORMANCE
Please note that outside factors may affect the operation and efficiency of the tool, such as reduced compressor output, excessive drain on the airline, moisture or restrictions in the air-line, or the use of connectors of improper size or poor condition will reduce air supply.
Your air tool has been designed to give long and trouble-free service. If, however, having followed the instructions in this booklet carefully, you encounter problems, take the unit to your local CLARKE dealer.
TROUBLESHOOTING
| SYMPTOM | PROBLEM | SOLUTION |
| Tool runs at normal speed but slows down under any load. | 1. Motor parts are worn. 2. Worn or sticking mechanism due to lack of lubricant. | 1. Return to CLARKE dealer for repair. 2. Drip air tool lubricating oil into the air inlet. Allow the oil to soak moving parts before using. |
| Tool runs slowly. Air flows weakly from exhaust. | 1. Motor parts jammed with gum/dirt. 2. Air-line regulator in the closed position. 3. General airflow blocked by dirt. | 1. Examine the inlet air filter for blockage. Drip a few drops of air tool lubricant- ing oil into the air inlet. 2. Adjust the in-line regulator to an open position. 3. Operate tool in short bursts. |
| Tool will not run. Air flows freely from exhaust. | 1. Motor vanes stuck due to buildup of foreign material. | 1. Try operating the tool in short bursts. 2. Tap the motor housing gently with a rubber mallet. 3. Drip a few drops of air tool lubricating oil into the air inlet to soak moving parts |
| Loss of power or erratic performance. | 1. Excessive drain on the air hose. 2. Incorrect size or type of hose connectors. 3. Moisture or restriction in the air hose/tank 4. Compressor has an insufficient flow | 1. Check and confirm that the air hose and fitting are correct for the air inlet. 2. Do not use multiple hoses connected together with quick connecting fittings. 3. Vent system and drain tank and air hose of water. Oil tool and run for 1-2 seconds & ensure no water is evident. 4. Ensure air supply rate matches tool. |
| Tool will not shut off. | 1. Throttle O-rings damaged or ill-fitting in the seat. | 1. Return to your CLARKE dealer for repair. |
DECLARATIONS OF CONFORMITY
![]()
Clarke®
INTERNATIONAL
Homnall Street. Epping. Essox CM16 4LG
DECLARATION OF CONFORMITY This is an important document and should be retained.
We hereby declare that this product(s) complies with the following statuary requirement(s): Supply of Machinery (Safety) Regulations 2008
The following standards have been applied to the product(s): EN ISO 11148-4:2012
The technical documentation required to demonstrate that the product(s) meet(s) the requirement(s) of the aforementioned legislation has been compiled and is available for inspection by the relevant enforcement authorities.
The UKCA mark was first applied in 2022
Product Description: NW Air Punch and Flange Tool
Model number(s): CAT216
Serial/batch Number: N/A
Date of Issue: 30/03/2022
Signed:
INTERNATIONAL
Fitzwilliam Half: Fitzwilliam Place, Dublin 2
DECLARATION OF CONFORMITY This is an important document and should be retained.
We hereby declare that this product(s) complies with the following directive(s): 2006/42/EC Machinery Directive
The following standards have been applied to the product(s): EN ISO 114&4:2012
The technical documentation required to demonstrate that the product(s) meet(s) the requirement(s) of the aforementioned directive(s) has been completed and is available for inspection by the relevant enforcement authorities.
The CE mark was first applied in: 2022
Product Description: 3/16″ Air Punch and Flange Tool
Model number(s): CAT216
Serial I batch Number N/A
Date of Issue: 30/032022
Signed:
CAT2 I 6 CE Clarke DOC 033022
COMPONENT PARTS DIAGRAM

COMPONENT PARTS LIST
| No | Description |
| 1 | Clamp |
| 2 | Set screw |
| 3 | Punch die |
| 4 | Guide bush |
| 5 | Gasket |
| 6 | Punch |
| 7 | Screw |
| 8 | Plate guard |
| 9 | Anvil |
| 10 | Oil seal |
| 11 | Bush |
| 12 | O-ring |
| 13 | Oil plug |
| 14 | O-ring |
| 15 | O-ring |
| 16 | Hydraulic cylinder |
| 17 | O-ring |
| 18 | Bush |
| 19 | Air cylinder |
| 20 | Soft grip |
| 21 | Valve body |
| 22 | Air inlet |
| No | Description |
| 23 | Trigger |
| 24 | Trigger pin |
| 25 | O-ring |
| 26 | Valve stem |
| 27 | Spring |
| 28 | Valve |
| 29 | Spring |
| 30 | O-ring |
| 31 | Screw |
| 32 | Hydraulic piston |
| 33 | Bush |
| 34 | O-ring |
| 35 | Spring washer |
| 36 | Spring |
| 37 | Piston rod |
| 38 | Cushion |
| 39 | Slide plate |
| 40 | O-ring |
| 41 | Nut |
| 42 | O-ring |
| 43 | Screw |
| 44 | Hex key |
ACCESSORIES
A wide range of accessories is available including filter/regulators, lubricators, high-pressure hoses (5 to 50 meters) etc.
Contact your CLARKE dealer or the CLARKE International Service Department for further information.
CLARKE Air Line Oil (part no. 3050825) is available from your CLARKE dealer.
A SELECTION FROM THE VAST RANGE OF | ||
| ||
![]() | AIR COMPRESSORS | ![]() |
PARTS & SERVICE: 0208 988 7400
Parts Enquiries
[email protected]
Servicing & Technical Enquiries
[email protected]
SALES: UK 01992 565333 or Export 00 44 (0)1992 565335
Clarke® INTERNATIONAL Hemnall Street, Epping, Essex CM16 4LG
www.clarkeinternational.com
Parts & Service: 020 8988 7400
E-mail: [email protected]
[email protected]
QUALITY PRODUCTS




















