

AIR IMPACT WRENCH
MODEL NO: CAT23C
PART NO: 3110402
OPERATING & MAINTENANCE INSTRUCTION
![]()

INTRODUCTION
Thank you for purchasing this CLARKE Impact Wrench.
Before attempting to use this product, please read this manual thoroughly and follow the instructions carefully. In doing so you will ensure the safety of yourself and that of others around you, and you can look forward to your purchase giving you long and satisfactory service.
Please keep these instructions in a safe place for future reference.
SPECIFICATION
| Part number | 3110402 |
| Dimensions (L x W x H) | 180 x 70 x 180 mm |
| Weight 2.1 | 2.1 kg |
| Drive size | 1/2” square |
| Min. Hose Size (ID) | 10 mm |
| Air Inlet Size | 1/4“BSP Female |
| Operating Pressure | 90 psi (6.2 bar) |
| Air Consumption | 4.5 cfm average |
| Max Speed | 7000 rpm max free speed |
| Sound Pressure Level (LpA dB) | 94 dB(A) |
| Sound Power Level (LwA dB) | 105 dB(A) |
| Vibration Level in the handle | 10.4 m/s2 (Uncertainty K = 4.16m/s2) |
GUARANTEE
This product is guaranteed against faulty manufacture for a period of 12 months from the date of purchase. Please keep your receipt which will be required as proof of purchase.
This guarantee is invalid if the product is found to have been abused or tampered with in any way, or not used for the purpose for which it was intended. Faulty goods should be returned to their place of purchase, no product can be returned to us without prior permission.
This guarantee does not affect your statutory rights.
GENERAL SAFETY RULES
CAUTION: FAILURE TO FOLLOW THESE PRECAUTIONS COULD RESULT IN PERSONAL INJURY, AND/OR DAMAGE TO PROPERTY.
WORK ENVIRONMENT
- ALWAYS keep the work area clean and tidy.
- ALWAYS dress appropriately – Do not wear loose clothing or jewelry. Tie long hair out of the way.
- ALWAYS keep children and bystanders away – Do not let children handle the air tool.
- DO NOT operate the air tool where there are flammable liquids or gases.
USE OF COMPRESSED AIR-POWERED TOOLS
- ALWAYS stay alert and use common sense – Do not operate the wrench when you are tired or under the influence of alcohol, drugs, or medication.
- ALWAYS wear eye protectors when using this tool – Eye protection must provide protection from flying particles/objects from the front and the side. Ear protectors should also be worn.
- DO NOT overreach – Keep proper footing and balance at all times.
- NEVER use any type of bottled gas as a source of power for this tool.
- DO NOT connect the air supply hose with your finger on the trigger.
- NEVER exceed the maximum pressure for the wrench 90 psi / 6.2 bar.
- Check air hoses for leaks or worn conditions before use and ensure that all connections are secure.
- Keep the air supply hose away from heat, oil, and sharp edges.
- DO NOT use this tool for any purpose than that described in this manual.
- DO NOT fit the tool to any stand or clamping device that may damage it.
- DO NOT carry out any alterations or modifications to the tool.
- ALWAYS disconnect from the air supply when:
• Performing any maintenance
• The tool is not in use.
• The tool will be left unattended.
• Moving to another work area. - NEVER use the tool if it is defective or operating abnormally.
- DO NOT damage the tool by applying excessive force.
- ALWAYS maintain the tool with care. Keep it clean for the best and safest performance.
- Quick change couplings should not be located at the tool. They add weight and could fail due to vibration.
- DO NOT force or misuse the tool. It will do a better and safer job at the rate for which it was designed.
- This tool vibrates with use. Vibration may be harmful to your hands or arms. Stop using the tool if discomfort, a tingling feeling, or pain occurs. Seek medical advice before resuming use.
IMPACT WRENCH SAFETY INSTRUCTIONS
- ALWAYS use the impact wrench as described in these instructions.
- ALWAYS ensure the wrench is not moving and disconnected from the air supply when changing sockets etc. Use only Impact Wrench sockets…DO NOT use standard sockets.
- ALWAYS finish tightening wheel nuts or engine parts with a torque wrench or suitable spanner to the correct torque as recommended by the vehicle manufacturer.
- ALWAYS avoid excessive use of the impact wrench. When tightening a nut or bolt, only allow the wrench to impact briefly to avoid overtightening.
- ALWAYS ensure that the socket is correctly installed before starting.
- ALWAYS only use sockets that are specified for impact wrench use.
- Due to the possible presence of asbestos dust from vehicle brake linings, always wear suitable respiratory protection.
- ALWAYS disconnect from the air supply when changing sockets or when the impact wrench is not required for immediate use to avoid accidental starting.
- NEVER carry the impact wrench by the air hose.
- ALWAYS use both hands to control the impact wrench.
- ALWAYS ensure the impact wrench has stopped before putting it down.
PRODUCT OVERVIEW

- 1/2” square socket drive
- Forward/reverse selector
- Trigger
- Speed control regulator
- Airline connection with filter screen
- Lubrication port
THE COMPRESSED AIR SUPPLY
AIR SUPPLY REQUIREMENTS
WARNING: COMPRESSED AIR CAN BE DANGEROUS. ENSURE THAT YOU ARE FAMILIAs drained from the compressor daily and the inlet filter is kept clean.
If an unusually long air hose is required, (over 8 meters), the airline pressure or the hose inside diameter may need to be increased.
The air hose must be rated at least 150% of the maximum operating pressure of the tool.

A typical airline layout is shown above. If an automatic in-line filter/regulator is used, it will keep the air tool in good condition, but should be regularly checked and topped up with oil. SAE 10 oil should be used and the lubricator adjusted to approx 2 drops per minute.
The minimum hose diameter should be 8mm ID and fittings should have the same internal dimensions.
Never exceed the maximum operating pressure for the tool. It is recommended that air pressure to this tool does not exceed 90 psi at the tool when running. Higher pressures and unclean air will shorten the life of the tool due to faster wear and is a possible safety hazard.
BEFORE USE
NOTE: Ensure the compressor is turned off.
- Remove the plastic blanking plug from the air inlet connection.
- Pour 2-3 drops of CLARKE airline oil into the inlet port. This should be done regardless of whether or not a lubricated air supply is to be used.
- If the air supply is unlubricated, an in-line mini oiler is added to the air tool.
• A mini oiler helps to prolong the life of any air tool. - If a mini-oiler is not being used, run a few drops of oil through the tool before use. It can be entered through the airline connector or via the hose at the nearest connection to the air supply.
- Connect a suitable hose as shown or use the inlet adaptor supplied to connect directly to the hose.
- Connect the other end of the hose to the compressor.
- Turn on the air supply and check for air leaks. Rectify any found before proceeding.
• PTFE tape may be useful for sealing threaded connections. - If using a mini oiler, place a sheet of paper next to the exhaust port and hold the throttle open for approximately 30 seconds. The oil volume is correctly set when a light stain of oil can be seen on the paper. Excessive oil should be avoided.
Your impact wrench is now ready for use.
You can fit a whip hose with a quick fit coupling if required, available from your CLARKE dealer.
OPERATION
FITTING AN IMPACT SOCKET
WARNING: NEVER USE STANDARD SOCKETS. THESE MAY SHATTER WITH SERIOUS CONSEQUENCES. ONLY USE IMPACT SOCKETS DESIGNED FOR USE WITH IMPACT TOOLS.
- Select the impact socket you require, which must be in good condition and fit the tool exactly.
- Push the socket onto the square drive shaft.
Only use the correct impact sockets.
SETTING THE DIRECTION AND SPEED
- For normal tightening, the wrench should be operated in the forward (F) direction.
- For loosening, the wrench should be operated in the reverse (R) direction.
- To adjust the forward speed, turn the switch until the desired output is achieved. A click will be heard at each of the three positions.
• Setting 1 is the least amount of power while setting 3 is the most powerful.
• The wrench operates at maximum power in reverse. This setting is for releasing threaded fasteners.
NOTE: Where the torque setting is critical, the final tightening must be by hand using a calibrated torque wrench.
WARNING: WAIT UNTIL THE WRENCH HAS STOPPED ROTATING BEFORE OPERATING THE FORWARD/REVERSE SWITCH.
OPERATING THE IMPACT WRENCH
- Place the socket over the nut/bolt to be tightened or loosened.
- Squeeze the trigger to start and release the trigger switch to stop the wrench.
• The square drive will continue to rotate very briefly after the trigger has been released.
LOOSENING A WHEEL NUT/BOLT
- Remove any wheel trim, before selecting the appropriate socket and placing firmly on the square drive of the impact wrench.
- With the switch in the REVERSE running position, and holding the impact wrench firmly in BOTH HANDS, squeeze the trigger. The nut/bolt will be impacted repeatedly until it is loosened. IMPORTANT! Release the trigger as soon as the nut/bolt begins to loosen.
- Jack up the vehicle according to the vehicle handbook so that the wheel is clear of the ground, then proceed to fully undo the wheel nuts/bolts.
- Soak rusted nuts/bolts in penetrating oil and break any trust seal before twisting off with the wrench.
WARNING: ENSURE THAT THE CORRECT SOCKET IS BEING USED FOR THE NUTS ON YOUR PARTICULAR VEHICLE. AN INCORRECT SOCKET SIZE IS LIKELY TO DAMAGE THE HEADS OF THE NUTS/BOLTS.
TIGHTENING A NUT/BOLT
- Start the nut/bolt by hand, ensuring it is not cross-threaded, then with the appropriate socket installed on the impact wrench, place it on the nut/ bolt.
- With the switch in the clockwise (FORWARD) running position and holding the wrench firmly in BOTH HANDS, squeeze the trigger.
- Run each nut/bolt up in turn until it is ‘nipped’ up only – do not tighten. When all nuts/bolts are nipped up, tighten progressively by pulling the trigger fully and allowing the action to operate briefly to prevent overtightening.
- ALWAYS finish tightening with a torque wrench. The weight of the vehicle will need to be placed on the wheel to prevent it from rotating while the nuts/bolts are tightened. Ensure the final torque applied to the nuts/bolts meets the vehicle manufacturer’s recommendations.
DISCONNECTING THE AIR SUPPLY
- Shut down the compressor.
- Squeeze the trigger of the impact wrench and operate until all the compressed air is discharged.
- Once the pressure has been released, disconnect the air supply hose.
MAINTENANCE
WARNING: MAKE SURE THAT THE WRENCH IS DISCONNECTED FROM THE AIR SUPPLY BEFORE STARTING ANY CLEANING OR MAINTENANCE
PROCEDURES.
- Routinely drain water from the airline filter and compressor.
- If no airline lubricator or mini oiler is used, ensure that oil is applied to the tool on a daily basis through the air inlet connection. Run a few drops of oil through the tool before use. It may be entered into the air inlet, (ensuring the screen is clear), or into the hose at the nearest connection to the air supply.
- This procedure should be repeated after every two to three hours of use or at the start of the working day.
- Keep the body of the tool clean and free from debris.
WEEKLY
- Check the air inlet screen filter for blockage and clean if necessary.
CLEANING & OVERHAUL
- Grit or gum deposits in the tool may reduce efficiency.
- After extensive use, remove the inlet screen filter and flush out the mechanism with gum solvent oil or an equal mixture of CLARKE air-line oil and paraffin. Allow drying before use.
- If the tool still runs erratically or becomes inefficient, and the air supply is of good quality, it may be necessary to dismantle the air motor and replace worn or damaged parts. You may prefer to take the tool to your CLARKE dealer if internal maintenance is required.
- The air tool may be dismantled by unfastening the bolts and removing the rear cover prior to replacing any worn or damaged parts.
- While in a dismantled state, it may be desirable to grease the hammer mechanism and apply a small amount of good quality bearing grease.
• This may be better left to your CLARKE dealer.
PERFORMANCE
Please note that outside factors may affect the operation and efficiency of any air tool.
These include reduced compressor output, excessive drain on the airline, moisture ingress, and restrictions in the air-line such as the use of connectors of incorrect size or poor condition which will reduce the air supply.
Your air tool has been designed to give long & trouble-free service. If, however, having followed the instructions in this booklet carefully, you encounter problems, take the unit to your local CLARKE dealer.
STORAGE
If the tool is to be stored or is idle for longer than 24 hours, run a few drops of CLARKE air-line oil into the air inlet and depress the trigger in order to lubricate the internal parts.
When not in use, the tool should be disconnected from the air supply and stored in a dry place out of the reach of children. Avoid storing in a damp environment.
ACCESSORIES
A wide range of accessories is available including filter/regulators, lubricators, high-pressure hoses (5 to 50 meters), etc.
CLARKE Air Line Oil (part no. 3050825) is available from your CLARKE dealer.
SUITABLE CLARKE IMPACT SOCKET SETS INCLUDE:
CIS12/11 11 pieces 1/2” Metric Impact Socket Set part no 3110437
CIS12/17 17 pieces 1/2” A/F Deep Impact Socket Set part no 1800311
CIS12/10 1/2” Metric 6 Point Impact Socket Set part no 3110875
CIS12/3M 3pc 1/2” drive non-slip socket set part no 1700732
CIS12/6SB 6-piece impact Spline socket set part no 1700726
TROUBLESHOOTING
| SYMPTOM | PROBLEM | SOLUTION |
| The tool runs at normal speed but slows down under any load. | 1. Excessive pressure on the impact wrench. 2. Motor parts are worn. 3. Worn or sticking mechanism due to lack of lubricant. | 1. Reduce the force applied to the impact wrench. 2. Return to CLARKE dealer for repair. 3. Drip air tool lubricating oil into the air inlet. Allow the oil to soak moving parts before using. |
| Tool runs slowly. Air flows weakly from the exhaust. | 1. Motor parts jammed with gum/dirt. 2. Regulator in the closed position. 3. General airflow blocked by dirt. | 1. Examine the inlet air filter for cleanliness. 2. Adjust the regulator to an open position. 3. Operate tool in short bursts. |
| Tool will not run. Air flows freely from the exhaust. | 1. Motor vanes stuck due to buildup of foreign material. | 1. Disconnect air supply and rotate tool assembly manually. 2. Try operating the tool in short bursts. 3. Tap the motor housing gently with a rubber mallet. 4. Drip a few drops of air tool lubricating oil into the air inlet to soak moving parts. |
| Tool will not shut off. | 1. 0-rings damaged or ill-fitting in the seat. | 1. Return to CLARKE dealer for repair. |
DECLARATION OF CONFORMITY
![]()
Hymnal Street.Epping.Essex CM16ALG
DECLARATION OF CONFORMITY
This is an important document and should be retained.
We hereby declare that this product(s) complies with the following UK legislation: Supply of Machinery (Safety) Regulations 2008.
The following standards have been applied to the product(s): EN ISO 12100:2010, EN 11148-6:2012.
The technical documentation required to demonstrate that the product(s) meet(s) the requirement(s) of the aforementioned legislation has been compiled and is available for inspection by the relevant enforcement authorities.
This product was placed on the market: in 2013
Product Description: Air Impact Wrench
Model number(s): CAT23C
Serial batch Number: N/A
Date of Issue: 25/02/2021
Signed:


Fitzwilliam Hall Fitzwilliam Place, Dublin 2
DECLARATION OF CONFORMITY
This is an important document and should be retained.
We hereby declare that this product(s) complies with the following directive(s):
2006/42/EC Machinery Directive.
The following standards have been applied to the product(s):
EN ISO 12100:2010, EN 11148-6:2012.
The technical documentation required to demonstrate that the product(s) meet(s) the requirement(s) of the aforementioned directive(s) has been compiled and is available for inspection by the relevant enforcement authorities.
The CE mark was first applied in 2013
Product Description: Air Impact Wrench
Model number(s): CAT23C
Serial/batch Number: N/A
Date of Issue: 25102/2021
Signed:
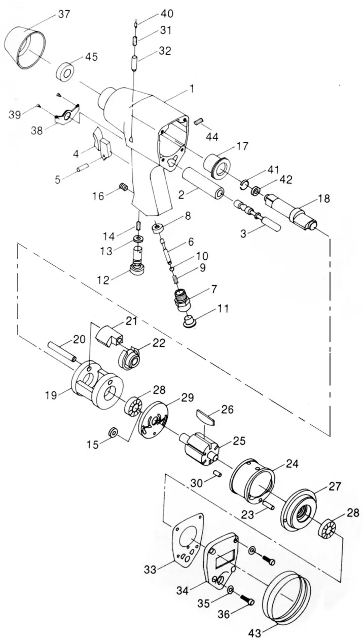
PARTS DIAGRAM

PARTS LIST
| No | Description |
| 1 | Housing |
| 2 | Valve bushing |
| 3 | Reverse valve |
| 4 | Trigger |
| 5 | Pin |
| 6 | Valve stem |
| 7 | Air inlet |
| 8 | Ball set |
| 9 | Spring |
| 10 | Steel ball |
| 11 | Inlet screen |
| 12 | Air regulator |
| 13 | 0-ring |
| 14 | Spring |
| 15 | Oil seal |
| 16 | Screw |
| 17 | Anvil bushing |
| 18 | Anvil |
| 19 | Hammer cage |
| 20 | Hammer pin |
| 21 | Hammer dog |
| 22 | Drive cam |
| 23 | Pin |
| No | Description |
| 24 | Cylinder |
| 25 | Rotor |
| 26 | Rotor blade |
| 27 | Front end plate |
| 28 | Ball Bearing |
| 29 | Rear-end plate |
| 30 | Pin |
| 31 | Spring |
| 32 | Pin |
| 33 | Gasket |
| 34 | Rear cover |
| 35 | Washer |
| 36 | Screw |
| 37 | Protective rubber |
| 38 | Exhaust deflector |
| 39 | Screw |
| 40 | Screw |
| 41 | Anvil collar |
| 42 | 0-ring |
| 43 | Rubber |
| 44 | Screw |
| 45 | Oil seal |
| A SELECTION FROM THE VAST RANGE OF | ||
![]() | QUALITY PRODUCTSAIR COMPRESSORS From DIY to industrial, Plus air tools, spray guns, and accessories. GENERATORS Prime duty or emergency standby for business, home, and leisure. POWER WASHERS Hot and cold, electric and engine driven – we have what you need WELDERS Mig, Arc, Tig, and Spot. From DIY to auto/industrial. METALWORKING Drills, grinders, and saws for DIY and professional use. WOODWORKING Saws, sanders, lathes, mortisers, and dust extraction. HYDRAULICS Cranes, body repair kits, and transmission jacks for all types of workshop use. WATER PUMPS Submersible, electric, and engine-driven for DIY, agriculture, and industry. POWER TOOLS Angle grinders, cordless drill sets, saws, and sanders. STARTERS/CHARGERS All sizes for car and commercial use. | ![]() |
| PARTS & SERVICE: 0208 988 7400 | ||
| Parts Enquiries [email protected] | ||
| Servicing & Technical Enquiries [email protected] | ||
SALES: UK 01992 565333 or Export 00 44 (0)1992 565335 INTERNATIONAL Hemnall Street, Epping, Essex CM16 4LGwww.clarkeinternational.com | ||
Parts & Service: 020 8988 7400 / E-mail: [email protected] or [email protected]

QUALITY PRODUCTS
















