Clarke CAT134 Air Ratchet Wrench

INTRODUCTION
Thank you for purchasing this CLARKE Air Ratchet Wrench. Before attempting to use this product, please read this manual thoroughly and follow the instructions carefully. In doing so you will ensure the safety of yourself and that of others around you, and you can look forward to your purchase giving you long and satisfactory service.
SPECIFICATION
| Model Number | CAT134 | CAT135 |
| Part Number | 3120148 | 3120149 |
| Max Operating Pressure | 90 psi (6.2 bar) | |
| Air Consumption | 16 cfm (max). Average 5 cfm (CAT134 / 4.5 cfm -CAT135 | |
| Max No Load Speed | 180 rpm +/-10% | |
| Air Inlet Size | 1/4“BSP Female | |
| Sound Pressure Level (LpA dB) | 87 dB(A) | |
| Sound Power Level (LwA dB) | 98 dB(A) | |
| Uncertainty Factor | K=3 | |
| Vibration Levels | 4.35 m/s2 (uncertainty factor K= 1.5m/s2) | |
| Weight | 1.2 kg | 1.2 kg |
| Drive Type | 1/2” Square | 3/8” Square |
| Max Torque | 60 ft/lb +/-10% | |
| Speed Settings (rpm) | 180 +/-10% | |
| 140 +/-10% | ||
| 85 +/-10% | ||
| 45 +/-10% | ||
GENERAL SAFETY RULES
CAUTION: FAILURE TO FOLLOW THESE PRECAUTIONS COULD RESULT IN PERSONAL INJURY, AND/OR DAMAGE TO PROPERTY.
WORK ENVIRONMENT
- Keep the work area clean and tidy.
- Dress appropriately – Do not wear loose clothing or jewellery. Tie long hair out of the way.
- Keep children and visitors away – Do not let children handle the tool.
- Do not operate the tool where there are flammable liquids or gases.
USE OF POWER TOOLS
- Stay alert and use common sense – do not operate the tool when you are tired or under the influence of alcohol, drugs or medication.
- Always wear eye protectors when using the tool. Eye protectors must provide protection from flying particles from the front and the side. Ear protectors should also be worn.
- Do not overreach – Keep proper footing and balance at all times.
- Never use oxygen, CO2, combustible gases or any type of bottled gas as a source of power for this tool.
- Do not connect the air supply hose with your finger on the trigger.
- Do not exceed the maximum pressure for the tool of 90 psi / 6.2 bar.
- Check hoses for leaks or worn condition before use, and ensure that all connections are secure.
- Keep the air supply hose away from heat, oil and sharp edges.
- Do not use the tool for any purpose than that described in this manual.
- Do not fit the tool to any stand or clamping device that may damage it.
- Do not carry out any alterations or modifications to the tool.
- Always disconnect from the air supply when:
- Performing any maintenance.
- The tool is not in use.
- The tool will be left unattended.
- Moving to another work area.
- Passing the tool to another person.
- Never use the tool if it is defective or operating abnormally.
- This tool should be serviced at regular intervals by qualified service personnel.
- Avoid damaging the tool for example by applying excessive force of any kind.
- Always maintain the tool with care. Keep it clean for the best and safest performance.
- Quick change couplings should not be located at the tool. They add weight and could fail due to vibration.
- Do not force or misuse the tool. It will do a better and safer job at the rate for which it was designed.
- Do not remove any labels. Damaged labels should be replaced.
- This tool vibrates with use. Vibration may be harmful to your hands or arms. Stop using the tool if discomfort, a tingling feeling or pain occurs. Seek medical advice before resuming use.
TRANSPORT & STORAGE
- Never carry the tool by the air hose.
- Never carry the tool with your finger on the trigger.
- When not in use the tool must be disconnected from the air supply and stored in a dry place out of the reach of children (preferably in a locked cabinet).
- Avoid storing the tool where the temperature is below 0oC.
SAFETY SYMBOLS
The following safety symbols are to be found on the machine.
OVERVIEW
| NO | DESCRIPTION | NO | DESCRIPTION |
| 1 | Forward/Reverse Switch | 4 | Speed Control |
| 2 | Adjustable Exhaust Deflector | 5 | Trigger |
| 3 | Air Inlet | 6 | Square Drive Shaft |
The CAT134 and CAT135 ratchet wrenches are ideally suited to quick removal and installation of nuts, bolts, and other fasteners where space is limited.
ACCESSORIES
A wide range of accessories is available including filter/regulators, lubricators, high-pressure hoses (5 to 50 metres) etc. Contact your Clarke dealer or the Clarke International Service Department for further information.
COMPRESSED AIR REQUIREMENTS
WARNING: COMPRESSED AIR CAN BE DANGEROUS. ENSURE THAT YOU ARE FAMILIAR WITH ALL PRECAUTIONS RELATING TO THE USE OF COMPRESSORS AND A COMPRESSED AIR SUPPLY.
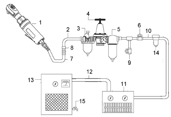
AIR SYSTEM LAYOUT
- Air Tool
- Air Hose 3/8″ (1.D.)
- Oiler
- Pressure Regulator
- Filter
- Shut Off Valve
- Whip Hose
- Coupler Body And Connector
- Drain Daily
- 1/2″ Or Larger Pipe And Fitting
- Air Dryer
- 1″ Or Larger Pipe And Fitting
- Air Compressor
- Auto Drain
- Drain Daily
- Use only clean, dry, regulated compressed air as a power source.
- Air compressors used with the tool must comply with the appropriate European Community Safety Directives.
- A build-up of moisture or oil in the air compressor will accelerate wear and corrosion in the tool. Ensure any moisture is drained from the compressor daily and the inlet filter is kept clean.
- If an unusually long air hose is required, (over 8 metres), the line pressure or the hose inside diameter may need to be increased.
- The air hose must be rated at least 150% of the maximum operating pressure of the tool.
- A typical air line layout is shown above. If an automatic in-line filter/regulator is used, it will keep the tool in good condition, but should be regularly checked and topped up with oil. clarke airline oil should be used, and the lubricator adjusted to approx 2 drops per minute.
- For optimum performance it is recommended that a minimum 3/8” ID hose is used.
- Never exceed the maximum operating pressure for the tool. It is recommended that air pressure to this tool does not exceed 90 psi at the tool when running. Higher pressures and dirty air will shorten the life of the tool due to faster wear and is a possible safety hazard.
CONNECTING THE AIRLINE
NOTE: Ensure the air supply is turned off.
- If required, connect an in-line mini oiler to the tool.
- A mini oiler helps to prolong the life of the air tool. Read the instructions supplied with the mini-oiler before use.
- If a mini-oiler is not being used, insert a few drops of oil into the tool through the air inlet before use.
- Connect a suitable hose as shown.
- Connect the other end of the hose
to the compressed air supply. - Turn on the air supply and check
for air leaks.- Rectify any found before proceeding. PTFE tape may be useful for sealing threaded connections.

- Rectify any found before proceeding. PTFE tape may be useful for sealing threaded connections.
Your air tool is now ready for use. You can fit a whip hose with a quick fit coupling if required (available from your Clarke dealer).
OPERATION
USING THE DIRECTION CONTROL
WARNING: ALWAYS WAIT UNTIL THE DRIVE SHAFT HAS STOPPED ROTATING BEFORE OPERATING THE DIRECTION CONTROL.
To select the direction of rotation turn the direction control as follows.
- For tightening, turn the direction control anti-clockwise to F (Forward).
- For loosening, turn the direction control clockwise to R (Reverse).

USING THE AIR RATCHET
- Select the socket you require.
- Push the socket onto the square drive shaft. It clicks into place when secure.
- Place the socket over the nut.
- Take care that the socket is firmly engaged.
- Squeeze the trigger against the body of the tool to start.
- Release the trigger to stop the tool.
- Always ensure the tool has stopped before putting it down.
- When releasing very tight fastenings initially break loose by hand. Squeeze the trigger and the air tool will complete the job.
- If necessary, use penetrating oil to assist in freeing off rusted fasteners.
- When assembling, start turning fasteners by hand, then set the rotation forward or reverse. Apply the tool gently and squeeze the trigger to tighten with power.
- Final tightening should be completed by hand.
SETTING THE SPEED
- Set the tool speed by rotating the control to one of the four settings.
- The graduations on the speed control indicate the speed setting when aligned with the reference mark on the air inlet.
- Speeds available are: 45, 85, 140 or 180 rpm (+/-10%).
NOTE: When critical torque values are not required, turn the nut or bolt until it is snug – slightly tighter if gaskets are used between surfaces. Where torque settings are critical, the final tightening of nuts or bolts must be by hand, using a calibrated torque wrench.
SETTING THE EXHAUST DEFLECTOR
The direction of the exhaust air leaving the tool can be adjusted by rotating the exhaust deflector. Twist the exhaust deflector sleeve to direct the air as required to deflect air away from the workpiece or operator.
DISCONNECTING THE AIR SUPPLY
- Do not disconnect the air supply hose until the compressor has been shut down and the compressed air released.
- Refer to the compressor instruction manual for the procedure to shut down and vent the compressed air.
- Once the pressure has been released, disconnect the air supply hose from the air tool.
- Store the tool safely in its box in a dry, secure environment.
MAINTENANCE
WARNING: MAKE SURE THAT THE AIR TOOL IS DISCONNECTED FROM THE COMPRESSED AIR SUPPLY BEFORE STARTING ANY CLEANING, OR MAINTENANCE PROCEDURES.
DAILY
- Before use, drain water from the compressed air supply.
- Pour a few drops of Clarke air-line oil, into the tool air inlet. This should be carried out regardless of whether or not an in-line mini oiler is used. If an in-line mini oiler is not used, this procedure should be repeated after every two to three hours of use.
WEEKLY
Check the air inlet screen filter for blockage and clean if necessary.
CLEANING
- Keep the body of the tool clean and free from debris.
- Grit or gum deposits in the tool may also reduce efficiency. This condition can be corrected by cleaning the air strainer and flushing out the tool with gum solvent oil, or failing this, the tool should be disassembled, thoroughly cleaned, dried and reassembled. This is better left to your Clarke dealer.
- After extensive use, remove the inlet screen filter and flush out the mechanism with gum solvent oil or an equal mixture of Clarke air-line oil and paraffin. Allow to dry before use.
- Clean the air inlet filter screen inside the air inlet.
- If the tool runs erratically or becomes inefficient, and the air supply is of good quality, it may be necessary to dismantle the air motor and replace worn or damaged parts. You may prefer to take the tool to your Clarke dealer if internal maintenance is required.
PERFORMANCE
Please note that factors other than the tool may effect its operation and efficiency such as reduced compressor output, excessive drain on the airline, moisture or restrictions in the air-line, or the use of connectors of improper size or poor condition which will reduce air supply. Clarke Air Line Oil (part no. 3050825) is available from your Clarke dealer. Your Clarke air tool has been designed to give long and trouble free service. If, however, having followed the instructions in this booklet carefully, you encounter problems, take the unit to your local Clarke dealer.
STORAGE
If the tool is to be stored, or is idle for longer than 24 hours, run a few drops of Clarke air line oil into the air inlet, and run the tool for 5 seconds in order to lubricate the internal parts. When not in use, disconnect from air supply, clean & store in a safe, dry place.
PARTS DIAGRAM
PARTS LIST
| No | Description |
| 1 | Housing |
| 2 | Valve Stem |
| 3 | Trigger |
| 4 | Trigger Pin |
| 5 | Housing Cover |
| 6 | Soft Grip – Upper |
| 7 | Soft Grip – Lower |
| 8 | Valve Seat |
| 9 | Throttle Valve |
| 10 | Valve Spring |
| 11 | Screw Cap |
| 12 | O-Ring |
| 13 | Air Regulator |
| 14 | Set Plate |
| 15 | O-Ring |
| 16 | Set Plate |
| 17 | Gasket |
| 18 | Air Inlet |
| 19 | Screw |
| 20 | O-Ring |
| 21 | Exhaust Deflector |
| 22 | Bearing Cap |
| 23 | Bearing |
| 24 | Rear Plate |
| 25 | Rotor |
| 26 | Rotor Blade |
| 27 | Cylinder |
| 28 | Pin |
| No | Description |
| 29 | Front Plate |
| 30 | Bearing |
| 31 | Washer |
| 32 | Thread Ring Gear |
| 33 | Idler Gear |
| 34 | Gear Pin |
| 35 | Gear Plate |
| 36 | Clamp Nut |
| 37 | Ring Gear |
| 38 | Bushing |
| 39 | Crankshaft |
| 40 | Drive Bushing |
| 41 | Ratchet Housing |
| 42 | Ratchet Yoke |
| 43 | Forward/Reverse Switch |
| 44 | Sleeve |
| 45 | Spring |
| 46 | Washer |
| 47 | 3/8” Ratchet Head (CAT134) |
| 1/2” Ratchet Head (CAT135) | |
| 48 | Pin |
| 49 | Ratchet Pawl |
| 50 | Thrust Washer |
| 51 | Retainer Spring |
| 52 | Spring |
| 53 | Steel Ball |
| 54 | Spring |
| 55 | Steel Ball |
TROUBLESHOOTING
| SYMPTOM | PROBLEM | SOLUTION |
| Tool runs at normal speed but slows down under any load. | 1. Motor parts worn.
2. Worn or sticking mechanism due to lack of lubricant. | 1. Return to Clarke dealer for repair. 2. Drip air tool lubricating oil into air inlet. Allow oil to soak moving parts before using. |
| Tool runs slowly. Air flows weakly from the exhaust. | 1. Motor parts jammed with gum/dirt. 2. Air-line regulator in the closed position. 3. General airflow blocked by dirt. | 1. Examine inlet air filter for blockage. Drip a few drops of air tool lubricating oil into air inlet. 2. Adjust in-line regulator to open position. 3. Operate tool in short bursts. |
| Tool will not run. Air flows freely from the exhaust. | 1. Motor vanes stuck due to buildup of foreign material. | 1. Disconnect air supply and rotate tool assembly manually. 2. Try operating tool in short bursts. 3. Tap motor housing gently with a rubber mallet. 4. Drip a few drops of air tool lubricating oil into air inlet to soak moving parts. |
| Tool will not shut off. | 1. O-rings damaged or ill-fitting in seat. | 1. Return to Clarke dealer for repair. |
GUARANTEE
This product is guaranteed against faulty manufacture for a period of 12 months from the date of purchase. Please keep your receipt which will be required as proof of purchase. This guarantee is invalid if the product is found to have been abused or tampered with in any way, or not used for the purpose for which it was intended. Faulty goods should be returned to their place of purchase, no product can be returned to us without prior permission. This guarantee does not effect your statutory rights.
























