LAVEX Plastic Laminate Tabletop Worktable
INSTALLATION INSTRUCTIONS
PARTS
ASSEMBLY
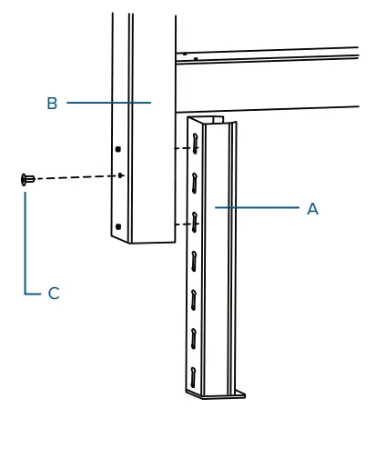
STEP 1
Insert one of the adjusting feet (A) into a step rivet of one of the leg frames (B). Choose your desired height and use a nylon rivet (C) to secure the foot.
STEP 2
Repeat Step 1 to install all four adjusting feet.
STEP 3
Secure the lateral channel bracing (D) to the leg frames using the screws (E) and nylon lock nuts (F) provided.
STEP 4
Place the tabletop (G) upside down on a surface that won’t scratch it.
STEP 5
Secure the tabletop to the leg frames using the hexagon flange head tapping screws (H).






















