H-6256, H-6257
H-6258
STAINLESS STEEL
WORKTABLE WITHOUT
BOTTOM SHELF

TOOL NEEDED
PARTS

ASSEMBLY
- Affix corner and end castings to the rear and front-to-back crossbracing. Secure crossbracing to castings with set screws using a 5/32″ Allen wrench. (See Figure 1)
NOTE: Use care not to over-tighten screws or failure may occur.
NOTE: If purchased with optional casters, adjustable feet will be replaced after complete table assembly. - With a cross brace on its side, push legs through the casting collars to the desired height. To ensure the exact height, mark desired height on each leg with a magic marker or grease pencil. (See Figure 2)

NOTE: Each leg must be at the same height or casting collars could fail. Recommended height from the floor to the top of the crossbracing is 10″ and must be 6″ or higher to meet NSF standards.
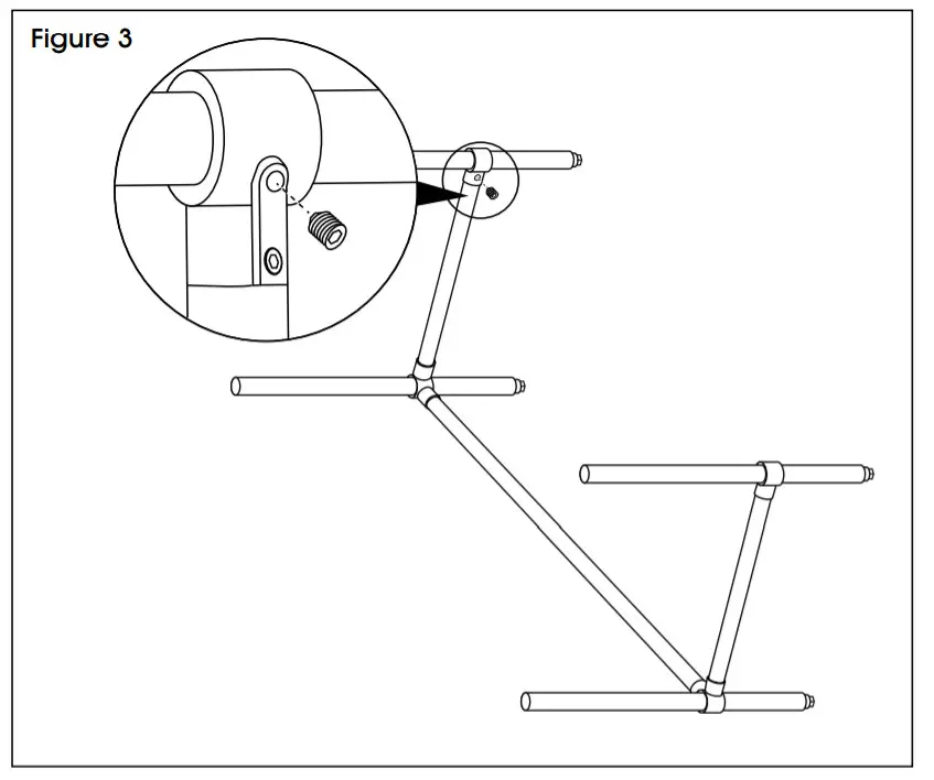
NOTE: Optional casters add 3/” to height. - Secure legs to cross-brace with set screws using a 5/32″ Allen wrench. (See Figure 3)

- Stand table upright and place tabletop onto legs, inserting legs into the tabletop gussets. With a 5/32″ Allen wrench, tighten the set screw on each gusset. (See Figure 4)

- Level table with adjustable feet. Adjustable feet allow approximately 1″ of adjustment. (See Figure 5)
Figure 5
OPTIONAL CASTERS
- Flip the table back over onto a smooth, non-marring surface. Remove adjustable feet from legs using a flat head screwdriver. (See Figure 6)
NOTE: You may need to use a rubber mallet or hammer to assist.
- Hold caster base and rotate nylon bushing clockwise. This will cause the rubber piece to expand. (See Figure 7)
- Expand the rubber enough so that it will fit snugly into the tube leg.

- With the caster fully inserted into the leg, turn clockwise until the caster is secured to the tube leg. (See Figure 8)
NOTE: If too loose, pull out the caster and tighten further. Repeat step 2.
1-800-295-5510
uline.com




























