
H-8447
INDUSTRIAL CABINET
1-800-295-5510
uline.com

TOOLS NEEDED

CAUTION! Some parts may have sharp edges. Take care when handling various pieces to avoid injury. For your safety, wear work gloves when assembling.
PARTS

| # | DESCRIPTION | QTY. |
| 1 | Back Panel | 1 |
| 2 | Left Side | 1 |
| 3 | Right Side | 1 |
| 4 | Shelf | 4 |
| 5 | Sill | 1 |
| 6 | Bottom | 1 |
| 7 | Top | 1 |
| 8 | Left Door | 1 |
| 9 | Right Door | 1 |
| 10 | Locking Bar Set | 1 |
| 11 | Locking Handle with Keys and Hardware | 1 |
| 12 | Locking Cam | 1 |
| 13 | Cotter Pin | 1 |
| 14 | Locking Bar Guide Insert (Nylon) | 2 |
| 15 | Hinge Pin | 6 |
| 16 | Nut Driver | 1 |
| #8-32 x 3/8″ Bolt (Not Shown) | 20 | |
| #8-32 Nut (Not Shown) | 30 |
ASSEMBLY
- Place the back (1) on a protected surface. The bottom flange should be facing upward. (See Figure 1)

NOTE: When bolting the unit together, leave the bolts slightly loose until Step 7, unless otherwise specified. - Attach the left side (2) to the back by placing flange around the back, and bolting the back and side together with seven bolts and nuts. Be sure that the lances on the shelf adjustment strips point up. (See Figure 2)

- Attach the top (7) to the unit by sliding the outer flange over the back of the unit and the side flange on the side panel of the unit. The threaded studs should go through the holes in the top flange of the side and fasten with three nuts. Attach the back to the top using four bolts and nuts. (See Figure 3)

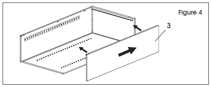
- Attach the right side (3) to the back as you did in step 2. Make sure the flange is around the back and that the lances on the shelf adjustment strips are pointed in the same direction as those on the left side. Push the side panel up so the studs in the top go through the holes in the top flange of side and fasten with three nuts. (See Figure 4)

- Attach the sill (5) to the sides. Place nut loosely on each of the studs and slide the ends of the sill into the slots on both sides of the unit. Then, securely tighten the nuts. (See Figure 5)

- Place rear flange of the bottom (6) into the bottom lances of the sides. The flange with two holes should face the front, hanging over the sill. Insert bolts through the bottom and sill with the head facing the front of the unit. Secure with two nuts. (See Figure 6)

- Set the unit upright and tighten all nuts and bolts around the entire unit.
- Insert the shelves (4) at your desired levels. (See Figure 7)

NOTE: In order to place the shelves, you must first tilt the shelf slightly to the left or right before inserting into the unit. - Attach the left door (8) to the unit by placing the door on the hinges, aligning the hinge holes, dropping the hinge pins into the slots, then placing the flat end of a screwdriver on the hinge pins and tapping them in with a hammer. (See Figure 8)

- Attach the right door (9) to the unit in the same way you attached the left door. (See Figure 9)

NOTE: If having issues with doors aligning, it may be due to cabinet not sitting level. Use included nut driver to adjust leveling feet in bottom front two corners. Nut driver should insert through inside of cabinet down into feet and adjust as needed.
HANDLE/LOCKING SYSTEM INSTALLATION
- Place the locking handle (11) on the righthand door and fasten with two #8-32 x 1/4″ slotted hex head bolts and lockwashers. (See Figure 10)

- Turn the handle to the open position. Place the locking cam (12) over the square shank of the door handle. The latch must be facing downward as shown. (See Figure 11) Place the cotter pin (13) through the hole of square shank. (See Figure 12)

- With the handle still in the open position, hook the locking bars (10) to the locking cam. (See Figure 13) Once in position, slowly rotate the door handle to the closed position so the lock bars protrude from the holes at the top and bottom of the door.
- Slide the nylon lock bar guide inserts (14) over the lock bar ends and through the door slots. Push firmly until the guides snap into place. If necessary, turn the handle back to the open position and gently tap with a hammer until the guides slide into place. (See Figure 14)

1-800-295-5510
uline.com































