
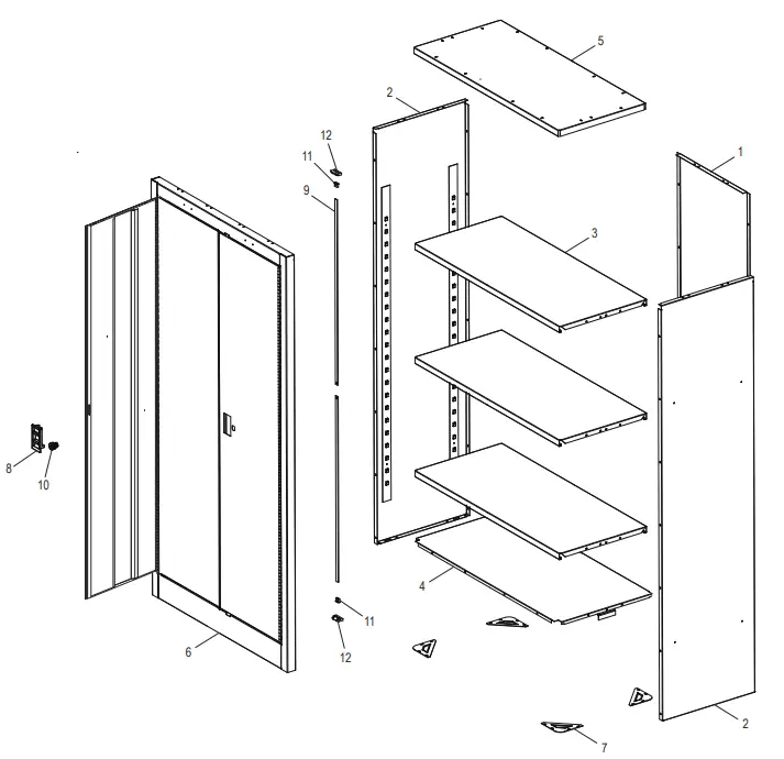
H-6317 SLIM STORAGE CABINET
1-800-295-5510
uline.com


| DESCRIPTION | QTY. | ULINE PART NO | MFG. PART NO. | |
| 1 | Back Panel – Black | 1 | ICR2466-22F-ME | |
| 1 | Back Panel-Gray | 1 | ———- | ICR2466-22F-PL |
| 1 | Back Panel – Wine | 1 | ———- | ICR2466-22F-MN |
| 1 | Back Panel – White | 1 | ———- | ICR2466-22F-SW |
| 2 | Side Panel – Black | 2 | ———- | ICS1866-22F-ME |
| 2 | Side Panel – Gray | 2 | ———- | ICS1866-22F-PL |
| 2 | Side Panel – Wine | 2 | ———- | ICS1866-22F-MN |
| 2 | Side Panel – White | 2 | ———- | ICS1866-22F-SW |
| 3 | Shelf-Black | 3 | H-632081. | ICAS2418ME |
| 3 | Shelf-Gray | 3 | H-6320GR | ICAS2418PL |
| 3 | Shelf-Wine | 3 | 11-6320WINE | ICAS2418MN |
| 3 | Shelf – White | 3 | 11-6320W | ICAS2418SW |
| 4 | Bottom – Black | 1 | ———- | ICB2418-22-ME |
| 4 | Bottom-Gray | 1 | ———- | ICB2418-22-PL |
| 4 | Bottom – Wine | 1 | ———- | ICB2418-22-MN |
| 4 | Bottom -White | 1 | ———- | 1CB2418-22-SW |
| 5 | Top-Black | 1 | 11-6317-TOP | 1CT2418-22-ME |
| 5 | Top-Gray | 1 | ———- | ICT2418-22-PL |
| 5 | Top-Wine | 1 | ———- | ICT2418-22-MN |
| 5 | Top-White | 1 | ———- | ICT2418-22-SW |
| 6 | Door and Frame-Black | 1 | ———- | ICSDF2466P-ME |
| 6 | Door and Frame-Gray | 1 | ———- | ICSDF2466P-PL |
| 6 | Door and Frame-Wine | 1 | ———- | ICSDF2466P-MN |
| 6 | Door and Frame – White | 1 | ———- | ICSDF2466P-SW |
| 7 | Foot Plate | 4 | ———- | CFP100 |
| 8 | Latch Handle | 1 | H-6318-8 | LS1100F |
| 9 | Lock Bar (Set) | 1 | H-6317-LCKBR | ICIRS66.2 |
| 10 | Cabinet Lock | 1 | II-6316-LOCK | ABA001 |
| 11 | Lock Bar Guide | 2 | H-6317-GLDEQ | LAGI |
| 12 | Bottom Bar Guide | 2 | ———- | BRG-100 |
| Bolt (Not Shown) | 56 | ———- | MBT200 | |
| Nut (Not Shown) | 56 | ———- | N201 | |
| Keys (Set of 2) (Not Shown) | 1 | H-7349 | ABA001K |
0421 PH-6317


















