
H-7646, H-7647 H-7648, H-7649
STORAGE SHOP DESK
1-800-295-5510
uline.com

TOOLS NEEDED

ASSEMBLY

CABINET ASSEMBLY
- Using a 10 mm wrench and Phillips screwdriver, assemble the back panel and left and right side panels together with twelve M6 flange nuts and Phillips head bolts. (See Figure 1)

- Using 10 mm wrench and Phillips screwdriver, assemble front and back support with eight Phillips head bolts and M6 flange nuts. (See Figure 2)

- Remove drawer from the desktop. Place desk top on a smooth, non-marring surface with the top side facing down. Flip base frame upside down and place onto the desktop. Using a 10 mm wrench and Phillips screwdriver, fasten the desktop to the frame with 16 Phillips head bolts and M6 flange nuts. (See Figure 3)

- Set desk top assembly upright and recheck all screws and nuts for tightness. (See Figure 4)

TOP SHELF ASSEMBLY
PEDESTAL AND DRAWER INSTALLATION
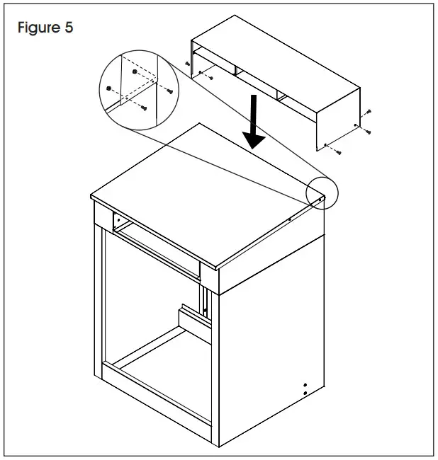
- Place top shelf on desktop and assemble with six Phillips head bolts and M6 flange nuts. (See Figure 5)

PEDESTAL AND DRAWER INSTALLATION
- Insert two pedestals on top of front and back supports. (See Figure 6)

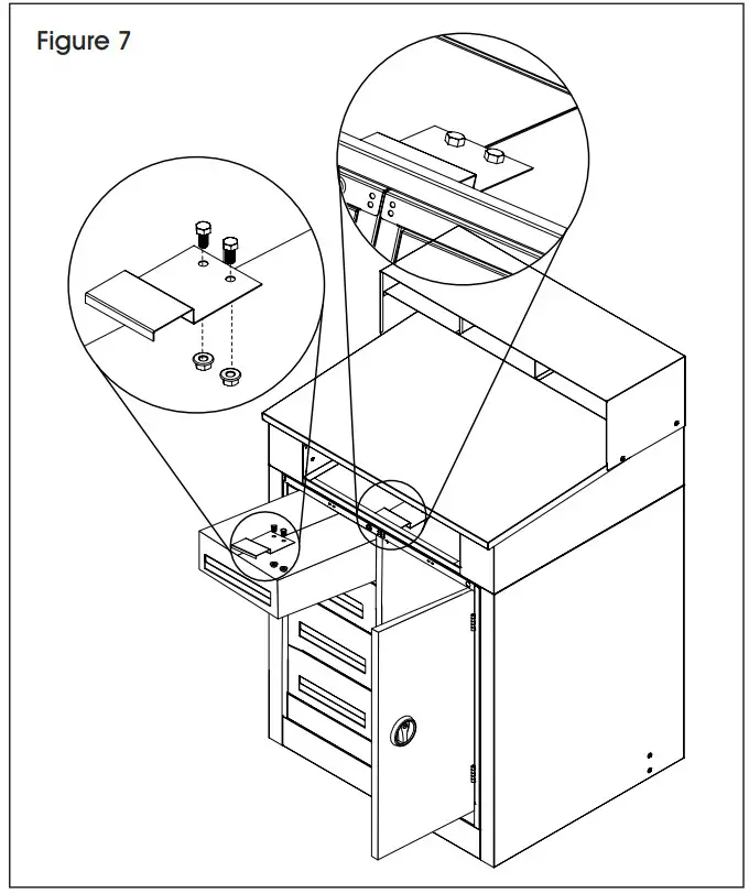
- Open top pedestal drawer and/or cabinet door of both pedestals. Using a 9/16″ wrench, attach pedestals to frame with pedestal bracket, two 3/8-16 x 3/4″ hex bolts, and two 3/8-16 flange nuts. (See Figure 7)

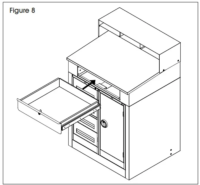
- Insert drawer into the desktop. (See Figure 8)


1-800-295-5510
uline.com



























