ULINE H-8226 96″ Packing Station

TOOLS NEEDED
|
|
|
|
|
|
| |
PARTS

# | DESCRIPTION | QTY. |
1 | Center Leg | 1 |
2 | Outside Leg | 2 |
3 | Adjustable Foot | 6 |
4 | Frame Support Bar | 4 |
5 | 4″ High Storage Shelf – 2-Piece | 1 |
6 | Storage Shelf Support Bracket | 2 |
7 | Full Depth Bottom Shelf – 2-Piece | 1 |
8 | Center Leg Support Bar | 1 |
9 | Bottom Shelf Divider | 4 |
10 | Upright | 2 |
11 | Tabletop | 1 |

CAUTION! Some parts may have sharp edges.
Care must be taken when handling various pieces to avoid injury. For your safety, wear a pair of work gloves when assembling.
NOTE: Hardware packs are included in shelf and frame packaging. Pack may include more hardware than needed.
ASSEMBLY
LEGS AND FRAME ASSEMBLY
NOTE: Tabletops add 11/2 – 1¾” depending on top purchased.
- Flip legs (1 and 2) upside down. Place adjustable feet (3) into legs and slide to desired height. Fasten adjustable feet to legs with two M10 x 65 hex bolts and two M10 nuts per adjustable foot using a 17 mm wrench. (See Figure 1)

- Turn legs upright and spread apart to accommodate frame support bars (4). Position frame support bars so that the larger holes are facing down. Open end of frame support bars should be positioned on the center leg (1). Fasten support bars to outside leg (2) with four M8 x 65 hex bolts per leg using a 13 mm wrench. (See Figure 2) Repeat for other side.

- Place center leg support bar (8) between frame support bars (4) on top of the center leg. Fasten center leg support bar to frame support bars and center leg (1) with eight M8 x 65 hex bolts using a 13 mm wrench. (See Figure 3)

BOTTOM SHELF ASSEMBLY
NOTE: Bottom shelf is a two-piece design. One end of each piece has a channel to rest shelf on top of the leg brace on the outside legs. The other end is flat and will bolt to the center leg’s brace.
1. Place the end of each shelf piece with the channel across the leg brace of the outside legs. Have two people hold up the end of the shelves that face the center leg (1) and align the holes on the side of the shelf pieces to the holes in the center leg brace. Fasten shelf pieces to center leg brace with three M8 x 65 hex bolts and three M8 nuts using a 13 mm wrench. (See Figures 4-5)

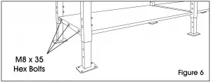
2. Fasten end of each shelf piece to the leg brace of the outside legs with six M8 x 35 hex bolts and six M8 nuts per shelf using a 13 mm wrench. (See Figure 6)
TOP ASSEMBLY
- To attach tabletop (10) onto frame assembly, place tabletop on a smooth, non-marring surface with top side facing down.
- Rotate assembled frame upside down and line up two pre-drilled holes on back corners of table top.
Do not insert screws into these two holes and the two holes in front of them at this time. (See Figure 7).
- Using all other hole locations in frame as a template, drill 3/4″ deep pilot holes into tabletop using a 3/16″ drill bit. Using 14 (16 for 72″ table) wood screws and a drill with a Phillips head drill bit, attach frame to underside of tabletop in these new pilot holes. (See Figure 8)

NOTE: Additional pre-drilled holes in tabletop are used for a different product and will not align with this frame. You must pre-drill your own pilot holes.
NOTE: Wood screws for front and back of frame are optional but provide more support. - Using a 1/4″ drill bit, drill four holes all the way through tabletop in hole locations shown in Figure 9.
They should line up with holes in back of leg. (See Figure 9)}
NOTE: These will be used to attach uprights later.
- Carefully set table upright and recheck all screws for tightness.
- Place two storage shelf support brackets (6) onto inside of outside legs (2) with lip side facing down and inside frame. Fasten each support bracket to legs with two M10 x 65 hex bolts and two M10 nuts using a 17 mm wrench. (See Figure 10)

NOTE: 4″ high storage shelf is a two-piece design. One end of each piece rests on top of the storage shelf support bracket. The other end will bolt to the center leg’s middle brace. - Slide the end of each shelf piece on top of the storage shelf support bracket. Have two people hold up the end of the shelves that face the center leg and align the holes on the side of the shelf pieces to the holes in the center leg’s middle brace. Fasten shelf pieces to center leg’s middle brace with three M8 x 65 hex bolts and three M8 nuts using a 13 mm wrench. (See Figure 11)

- Align two holes located on end of each shelf piece with two holes in support brackets (6). Fasten each shelf piece to support brackets with two M6 x 15 hex bolts and two M6 flange nuts using a 10 mm wrench. (See Figure 12)

- Recheck and tighten all bolts
BOTTOM SHELF DIVIDER ASSEMBLY
- Four bottom shelf dividers are included with packing station. To attach, slide shelf dividers between full depth bottom shelf and 4″ high storage shelf and align with two pre-drilled holes in each shelf. Fasten each divider with four M6 Phillips head bolts and four M6 flange nuts using a Phillips screwdriver and 10 mm wrench. (See Figure 13)

UPRIGHT ASSEMBLY
- Position upright on back corner of tabletop.
Mounting plate should be positioned directly over the previously drilled holes. Fasten four M6 x 70 hex bolts and flat washers through uprights, tabletop and legs using a 10 mm wrench. Secure with four M6 flange nuts on underside of table. (See Figure 14)
- Repeat with second upright.
OPTIONAL ACCESSORIES
NOTE: The following products are optional accessories.
Mounting hardware is included with each accessory.

# | DESCRIPTION | QTY. |
1 | Bin Rail | 1 |
2 | Monitor Arm** | 1 |
3 | Reel Holder Bracket | 2 |
4 | Reel Holder | 1 |
5 | 12″ Deep Top Shelf Bracket | 2 |
6 | 12″ Deep Top Shelf | 1 |
7 | 12″ Deep Top Shelf Divider | * |
8 | 16″ Deep Box Shelf Bracket | 2 |
9 | 16″ Deep Box Shelf | 1 |
10 | 16″ Deep Box Shelf Divider | 6 |
11 | LED Shop Light | 1 |
12 | Light Bracket | 2 |
13 | Light Steel Beam | 1 |
14 | “S” Hook | 2 |
15 | Tabletop Power Strip | 1 |
16 | Tape Gun Holder | 1 |
17 | Fan | 1 |
18 | 6″ Fan Mounting Bracket | 1 |
19 | 10″ Fan Mounting Bracket | 1 |
20 | Fan Upright Mounting Bracket | 1 |
| Tape Gun Upright Mounting Bracket (Not Shown) | 1 |
*Quantity varies according to accessories purchased.
**Use appropriate bolts for monitor.
REEL HOLDER ASSEMBLY
- Line up reel holder brackets (3) with uprights at desired height.
- Secure to uprights with four M6 x 40 mm hex bolts and flange nuts. (See Figure 16)

- Place reel (4) inside bracket grooves.
NOTE: Six core plugs are included. Insert into label or paper roll to reduce diameter for better fit on reel.
MONITOR ARM ASSEMBLY
- Line up monitor arm mounting bracket (2) with uprights at desired height.
- Secure to uprights with two M6 x 35 mm or M6 x 50 mm Allen head bolts, two small flat washers and two hex nuts using an Allen wrench and 10 mm wrench. (See Figure 17)

ATTACHING MONITOR
NOTE: Make sure monitor has a VESA hole pattern of 100 x 100 mm or 75 x 75 mm. (See Figure 18)
NOTE: If monitor is attached to a fixed base, remove monitor from base.
CAUTION! Be careful not to scratch screen during installation.
- Easy-adjust monitor mount includes a built-in counterweight system for free-range motion. Arm in mount may need to be adjusted to allow monitor to stop at desired position. Attach monitor to plate. (See Figure 19)

- To adjust the counterweight, use 5 x 5 Allen wrench on screw above middle joint. Turn towards “–” if monitor raises up. Turn towards “+” if monitor lowers. Adjust until mount can be stopped at desired position. (See Figure 20)

CABLE MANAGEMENT
- To remove covers, use a Phillips head screwdriver to unscrew the two screws securing covers to the monitor arm. This allows user to slide cables through covers. Once complete, re-secure the covers to the monitor arm using the Phillips head screws. (See Figure 21)

12″ DEEP TOP SHELF ASSEMBLY
- Line up shelf brackets (5) with uprights at desired height.
- Secure to uprights with four 11/2” bolts and flange nuts. (See Figure 22)

- Place shelf (6) on brackets. Install to brackets with four 5/8″ bolts and flange nuts. (See Figure 23)

12″ DEEP TOP SHELF DIVIDER ASSEMBLY
- Line up front “C” channel of divider (7) with front
lip of top shelf. Insert divider into front lip at angle. Once in place, allow divider to drop and magnetize to back shelf lip. (See Figure 24)
16″ DEEP BOX SHELF ASSEMBLY
- Line up shelf brackets (8) with uprights at desired height.
- Secure to uprights with four 11/2” bolts and flange nuts. (See Figure 25)

- Place shelf (9) on brackets. Install to brackets with four 5/8″ bolts and flange nuts. (See Figure 26)

16″ DEEP BOX SHELF DIVIDER ASSEMBLY
- Six box shelf dividers (10) are included with box shelf.
To attach, line up front and rear pre-drilled holes on top of shelf. Fasten each divider with two Phillips head bolts and two M6 flange nuts using a Phillips screwdriver and 10 mm wrench. (See Figure 27)
LIGHT KIT ASSEMBLY
- Line up light brackets (12) with uprights at desired height.
- Secure to uprights with four 2″ bolts and flange nuts. (See Figure 28)

- Place light steel beam (13) at desired depth underneath brackets. Fasten to brackets with two 4¾” bolts and flange nuts. (See Figure 29)

- Place two “S” hooks (14) at desired mounting points along the steel beam and secure with two flange nuts. (See Figure 30)

- Attach hanging chains to LED shop light (11) and mount to “S” hooks. (See Figure 31)

TABLETOP POWER STRIP ASSEMBLY
- Choose desired location for power strip (15). Place two supplied mounting clips roughly 32″ apart (clip side up). Using an electric drill, fasten to tabletop with two supplied wood screws. (See Figure 32)

- Secure power strip by snapping into the mounting clips. (See Figure 33)

TAPE GUN HOLDER ASSEMBLY
NOTE: Tape Gun Holder can be attached to uprights or bin rail.
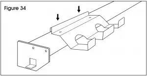
- If attaching to bin rail, no assembly is needed. Place the back folded lip of the bracket over the bin rail. Push down to ensure it is set firmly in place. (See Figure 34)

- If attaching to uprights, slide tape gun upright bracket underneath tape gun holder and align the holes in the bracket to the holes on top of the holder.
Attach with two M5 x 10 mm pan head screws and two M5 flange nuts using a Phillips screwdriver and 8 mm wrench. (See Figure 35)
- Align gun holder and upright bracket with uprights at desired height.
- Secure to uprights with two M6 x 40 mm hex bolts and two M6 flange nuts. (See Figure 36)

FAN ASSEMBLY
NOTE: Fan comes with 6″ and 10″ long bracket.
Choose desired bracket based on application.
- Slot 6″ or 10″ fan mounting bracket between opening in fan upright mounting bracket. Align holes of each bracket and attach using two M6 x 12 mm hex bolts and two M6 flange nuts. (See Figure 37)

- Align hole on the opposite end of fan mounting bracket to the hole on the crescent fan bracket.
Attach using M12 x 20 mm hex bolt, M12 washer, M12 lock washer and M12 hex nut. (See Figure 38)
- Align fan assembly with uprights at desired height.
- Secure to uprights with two M6 x 40 mm hex bolts and two M6 flange nuts. (See Figure 39)


1-800-295-5510
uline.com
Electric Drill
1/4″ Drill Bit
Allen Wrench (included)
8 mm Wrench 1
Phillips Head Drill Bit
Phillips Screwdriver
Three Person Assembly Required




















































