ULINE H-5528 Single Tier Locker

PARTS
PRIMARY ASSEMBLY

NO ASSEMBLY REQUIRED

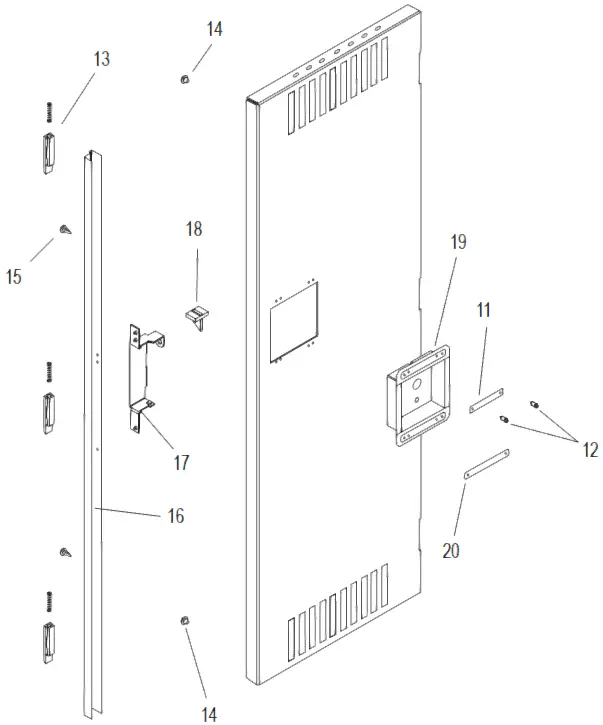
# | Description | Quantity |
1 | Back | 1 |
2 | Left Side | 1 |
3 | Rear Leg | 2 |
4 | Shelf | 1 |
5 | Coat Hook | 3 |
6 | Top/Bottom Shelves | 2 |
7 | Right Side | 1 |
8 | Door Frame Assembly | 1 |
9 | Locker Door | 1 |
10 | Coat Rod | 1 |
11 | Number Plate | 1 |
12 | Push Plug | 2 |
13 | Latch and Spring | 3 |
14 | Bumper | 2 |
15 | Dart Clip | 2 |
16 | Locking Channel | 1 |
17 | Lock Receiver | 1 |
18 | Reinforcement Tab | 1 |
19 | Recessed Handle | 1 |
20 | Logo Plate | 1 |
ASSEMBLY
ASSEMBLING MAIN PANELS
- Locate and separate the left and right sides (2 and 7). Identify the top of each panel. The top of each panel has three holes instead of one.
- Place back (1) on a protected flat surface so that the flanges face upward.
- Bolt left side (2) to the back (1) so that side flange fits around back (using 7 bolts and nuts – nuts to the inside). Do not use bottom 2 holes; these will be used for attaching legs in step 7.

- Bolt shelf (4) to back and side. Attach coat hooks (5) to the left side and back panel:
- Side – 3rd and 4th holes below shelf (6th, 7th holes down from top).
- Back – 2nd and 3rd holes below shelf (5th, 6th holes down from top).

- Attach top and bottom (6) to side and back as shown.
- Bolt right side (7) to the back so that side flange fits around back. Attach side to top, bottom and shelf. Attach remaining coat hook to the right side.

- Insert legs (3) into the corners between the bottom and the side. Bolt the leg to the side using 2 bolts and nuts per leg.

- Place door and frame assemblies (8 and 9) over the locker body. Make sure body sides are inside the frames, not between the frames. Attach top to frame header and the bottom to frame sill using one bolt each. Finish attaching the frame using 16 bolts and nuts.

- Stand unit upright and place in desired location.
- Check and tighten all bolts.
- To attach coat rod, place non slotted end of coat rod (10) over projecting tab of top left coat hook. Slide the slotted end of coat rod over the projecting tab in the right coat hook and turn 90 degrees to secure it.
SECURING UNITS
- Anchor units to wall or floor. Un-anchored units may fall over if not secured. (Units standing back to back should be bolted together.)
- If units are not pre-numbered, optional number plate (11) may be attached with two push plugs (12).
1-800-295-5510
uline.com

























