ADIRoffice Single Tier Locker ADI629-201

Introduction
The Adir Office Single Locker is designed to provide storage and security for your home or o‚ice. The lockers are conveniently designed so that they can be installed with multiple units if desired.

BEFORE YOU BEGIN
- You will need a large space to assemble your locker.
- Take precaution to protect your floor by placing a carpet or pad underneath your work area.
- Panel edges can be sharp, so gloves are recommended.
- Assembly and installation can be completed by one person.
- Mount the locker(s) to a wall for optimal safety.
Parts Included

Required Tools (Not Included)

A. Door Panel
B. Left Panel
C. Top Panel
D. Back Panel
E. Right Panel
F. Shelves
G. Bottom Panel

Assembly Instructions
STEP 1:
A. Attach the Double Hooks (9) to the Left Panel (B) and Right Panel (E) using a Phillips screwdriver and the included Flat Head Screws (4).

STEP 2:
A. Place the Left Panel (B) onto the left side of the Back Panel (D).
B. Line up the “C” shape of the Left Panel (B) so that it hooks under the “L” shape of the Back Panel (D).
C. Adjust as needed so that the screw holes line up. Using a Phillips screwdriver and the included Round Head Screws (7), secure the two panels together at the points shown.

STEP 3:
A. Place the Right Panel (E) onto the right side of the Back Panel (D).
B. Line it up so that the “C” shape of the Right Panel (E) hooks under the “L” shape of the Back Panel (D), as described in Step 2.
C. Adjust as needed so that the screw holes line up. Using a Phillips screwdriver and the included Round Head Screws (7), secure the two panels together at the points shown.

STEP 4:
A. Stand the 3 assembled sides of the locker up.
B. To attach the Door Panel (A) piece, move the Door Panel (A) into the locker at an angle so that it is completely inside of the enclosure.
C. There is a “pocket” located at the top and bottom of each side panel into which the Door Panel (A) should insert.
D. Pull the Door Panel (A) forward, ensuring that the panel inserts into the “pocket” on each panel, as illustrated. Ensure the panel is pressed as far forward as possible so that the locker’s front is flush.

STEP 5:
A. Once the Door Panel (A) is attached, it is time to secure the Door Panel (A) by attaching the Top Panel (C) and Bottom Panel (G).
B. Set the Top Panel (C) on top of the locker as shown.
C. Open the Door Panel (A) and secure it using the screwdriver and Round Head Screws (7) at each corner, where shown.
D. Work the Bottom Panel (G) into the bottom of the locker.
The panel should push into a narrow crevice on the bottom of the inside of the Left Panel (B) and Right Panel (E).
E. With the locker standing up, secure the front of the Bottom Panel (G) using the screwdriver and a Round Head Screw (7) at the front location, as shown.
F. Secure the Bottom Panel (G) using the screwdriver and a Round Head Screw (7) on the underside, as shown.

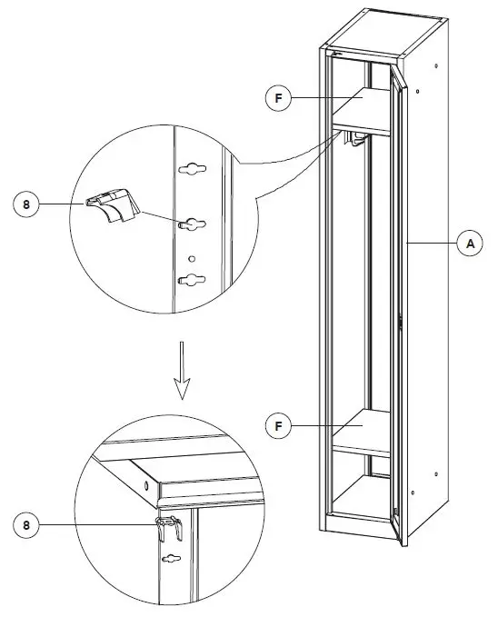
STEP 6:
A. Place the 4 Shelf Brackets (8) at the desired height for your Shelves (F). Ensure the brackets are at the same height on each of the rails.
B. Set the shelf down over the Shelf Brackets (8) to secure it. Repeat for the second shelf.

Installation Instructions
Multiple Locker Units
A. If you are using multiple locker units, secure them to each other for safety and security.
B. Set the lockers next to each other. Ensure the mounting holes towards the top of the Right Panel (E) of the left locker line up with the corresponding mounting holes on the Left Panel (B)
of the right locker.
C. Insert the included Bolt (1) through the mounting holes on both lockers as shown. Secure the Bolt (1) with the included Nut (3) and Washer (2) on the other side.
D. Make sure you Bolt (1) the lockers together through both the front and back mounting holes.
Repeat for each locker unit.

Mounting Locker Units
A. There are two holes near the top of the Back Panel (D) of your locker.
B. Place your locker where you want to install it. Using a pencil, mark the location of each of these holes on the wall.
C. Remove the locker(s) from the wall. In the marked locations, drill a hole large enough for the Wall Anchors (6) (Make sure you don’t drill it too large!)
D. Using a Phillips screwdriver, twist each of the Wall Anchors (6) through the back of the locker and into the holes in the wall. Hand tightening is recommended; using a drill could damage the hole.

Limited Warranty
- AdirCorp (the company) warrants to the purchaser that the product will be free from defects in workmanship and materials for a period of one (1) year from the date of purchase.
- These warranties are not assignable or transferable to any other person.
- Any damage to the product as a result of misuse, tampering, abuse, neglect, accident, improper installation, modification, unauthorized service, destruction, or the alteration of the serial number, or use violate of the instructions furnished by the Company will void this warranty.
- The sole responsibility of the Company shall be limited to the repair or replacement (in its sole discretion) of any component of the product which fails to conform to this warranty at no cost to the purchaser for the period of the warranty.
- Contact the Company directly to obtain service under this warranty. If it becomes applicable to send a defective product to the Company, a Return Authorization Number must first be obtained from the company. In order to obtain service under this warranty, purchaser must provide the Company with the following items (a) proof of purchase, (b) police or fire department report, (c) photographs of damaged sad, and (d) written testimonial.
- Products shipped without prior Return Authorization and Return Authorization Number may not be accepted, and the Company will not be responsible for their disposition and/or cost of return to the owner.
- The Company will not assume any responsibility for any loss or damage incurred in shipping. All return authorized products should include a copy of the original invoice in order that this warranty may be Honored.
- T his warranty is not an insurance policy. The Company is not responsible for any manner of damage to or theft of the Purchaser’s product or its contents.
- We recommend that the product being returned is accompanied by the sales receipt with all relevant information regarding the purchase of the item and is returned to the Company within ten (10) days of the claim date of purchase to validate this warranty.
- Any implied warranties that the purchaser may have are limited to the duration of the warranties described above. There are no further warranties that extend or apply beyond the face hereof, and the company expressly disclaims and excludes any and all warranties of merchantability or fitness for a particular purpose. Some states do not allow limitations on how long an implied warranty lasts, so the above limitation may not apply to you.
- Repair or replacement shall be the sole remedy for the purchaser under this warranty. The company shall not be liable for any direct, indirect, incidental or consequential damages, losses or expense arising from the use or misuse of the product. Some states do not allow the exclusion or limitations of incidental or consequential damages, so the limitation may not apply to you.
- This warranty gives you specific legal rights, and you may also have other rights which vary from state to state.
Disclaimer
By purchasing products from AdirCorp, user agrees as follows:
TO THE MAXIMUM EXTENT PERMITTED BY LAW, THE PRODUCTS AND INFORMATION ON THIS SITE IS PROVIDED “AS IS” AND WITH ALL FAULTS AND ADIRCORP. MAKES NO PROMISES, REPRESENTATIONS, OR WARRANTIES, EITHER EXPRESS, IMPLIED, STATUTORY, OR OTHERWISE, WITH RESPECT TO THE PRODUCTS AND INFORMATION, INCLUDING ITS CONDITION, ITS CONFORMITY TO ANY REPRESENTATION OR DESCRIPTION, OR THE EXISTENCE OF ANY LATENT OR PATENT DEFECTS, AND ADIRCORP. SPECIFICALLY DISCLAIMS ALL IMPLIED (IF ANY) WARRANTIES OF TITLE, MERCHANTABILITY, NON INFRINGEMENT, FITNESS FOR A PARTICULAR PURPOSE, ACCURACY OR COMPLETENESS, QUIET ENJOYMENT, AND QUIET POSSESSION. THE ENTIRE RISK ARISING OUT OF USE OR PERFORMANCE OF THE PRODUCTS AND INFORMATION LIES WITH USER.
TO THE MAXIMUM EXTENT PERMITTED BY LAW, IN NO EVENT SHALL ADIRCORP PRODUCTS OR ITS SUPPLIERS BE LIABLE FOR CONSEQUENTIAL, INCIDENTAL, SPECIAL, INDIRECT, OR EXEMPLARY DAMAGES WHATSOEVER ARISING OUT OF OR IN ANY WAY RELATING TO THIS AGREEMENT OR USER’S USE OF OR INABILITY TO USE THE PRODUCTS AND INFORMATION, OR THE PROVISION OR FAILURE TO PROVIDE SUPPORT SERVICES, INCLUDING, BUT NOT LIMITED TO, LOST PROFITS, LOSS OF CONFIDENTIAL OR OTHER INFORMATION, BUSINESS INTERRUPTION, PERSONAL INJURY, LOSS OF PRIVACY, FAILURE TO MEET ANY DUTY (INCLUDING OF GOOD FAITH OR REASONABLE CARE), NEGLIGENCE, COSTS OF PROCUREMENT OF SUBSTITUTE GOODS OR SERVICES, OR ANY OTHER CLAIM FOR PECUNIARY OR OTHER LOSS WHATSOEVER, OR FOR ANY CLAIM OR DEMAND AGAINST USER BY ANY OTHER PARTY, EVEN IF ADIRCORP HAS BEEN ADVISED OF THE POSSIBILITY OF SUCH DAMAGES. THESE LIMITATIONS SHALL APPLY NOTWITHSTANDING ANY FAILURE OF ESSENTIAL PURPOSE OF ANY LIMITED REMEDY.
NOTWITHSTANDING ANY DAMAGES USER MAY INCUR FOR ANY REASON WHATSOEVER (INCLUDING, WITHOUT LIMITATION, ALL DAMAGES REFERENCED ABOVE AND ALL DIRECT OR GENERAL DAMAGES), THE ENTIRE LIABILITY OF ADIRCORP AND ANY OF ITS SUPPLIERS UNDER ANY PROVISION OF THIS AGREEMENT AND YOUR EXCLUSIVE REMEDY FOR ALL OF THE FOREGOING SHALL BE LIMITED TO THE GREATER OF THE AMOUNT ACTUALLY PAID FOR THE PRODUCTS AND INFORMATION OR U.S. $1. THE FOREGOING LIMITATIONS, EXCLUSIONS, AND DISCLAIMERS SHALL APPLY TO THE MAXIMUM EXTENT PERMITTED BY APPLICABLE LAW, EVEN IF ANY REMEDY FAILS ITS ESSENTIAL PURPOSE.
If any provision of this Agreement is declared invalid or unenforceable, the remaining provisions of this Agreement will remain in effect. AdirCorp has the right to modify these terms and conditions at any time.



















