Cypress Hills AXCCMAR14 MARANA Low Storage Cabinet

| IMPORTANT : Please read this manual carefully before beginning assembly of this product. Keep this manual for future reference. |
SAFETY INFORMATION
CAUTION: Injuries and damage can occur from furniture tip over if product is not properly anchored to the wall. Use the Furniture Anti-Tipping Restraint provided with the product. Consult our assembly instructions for help.
If the Furniture Anti-Tipping Restraint kit is not in the box, please contact our customer service department in order to obtain another kit before using the furniture.
Identify all the parts and hardware. Do not discard of the packaging until you have checked that you have all of the parts and hardware required. Hardware package may have spare parts.
WARNING: This item contains small parts which can be swallowed by children and pets. Keep children and pets away during assembly. To avoid danger of suffocation, always keep plastic bags away from children and pets. We recommend that you assemble this unit on a carpeted floor to avoid scratches. If using power tools, set the tool to low torque to avoid damage.
May require 2 people for ease of assembly.
CARE and MAINTENANCE
Perhaps the greatest environmental damage to wood furniture comes from wide swings in relative humidity (RH) in our homes. Wood absorbs and desorbs water as relative humidity rises and falls, and in doing so it swells and shrinks. Making matters worse, it expands and contracts unequally along different grain directions. As humidity changes, the components of wooden objects are continually pushing and pulling against each other. This pressure often results in parts of furniture no longer fitting together closely or becoming distorted or breaking from their own internal stresses.
The response to relative humidity changes begins with determining the annual average RH for your particular space. Then try to keep the RH in the space where your furniture is as close to that average as possible, generally within about 10% up or down. De-humidify in the summer and humidify in the winter.
Be aware that raising the temperature lowers the humidity and vice versa. Thus, modern heating systems, which can drive down interior RH in the winter, almost invariably cause problems for furniture. To counteract their effect, you can either modify the RH by keeping furniture containing spaces cooler in the winter or most importantly, have a good working humidifier for your home. A humidistat automatically works to balance the humidity in your home so it is constant. Dry indoor air can suck enough moisture from its surroundings to do permanent damage to wood, causing it to crack or split.
Remember, that not all woods are created equal. Two factors that help determine how rapidly a wood will lose moisture are pore size and surface hardness. A piece made from a dense and hard wood will dry less rapidly than pieces made from softer woods.
Furniture that is sealed and lacquered will lose moisture more slowly than an unfinished piece while pieces with veneer finishes are not only stronger, but lose moisture more slowly than other finishes.
To help protect your wood furniture, take these steps:
- Use a humidifier, preferably one with an automatic control system that can sense the humidity level and adjust itself accordingly. Don’t over-humidify; that can damage wood by causing it to expand and contract.
- Keep furniture out of direct sunlight, which can cause it to dry out, crack and warp.
- If you can avoid it, don’t put furniture near heating vents. If you must, keep the piece 3 to 4 inches away from the wall, giving the heat and air space to circulate.
- Dust with soft dry cloth.
- Do not use liquid or aerosol products.
- To avoid marking, do not place rubber on surface (foot pads, etc.)
- For soil build-up, wipe with damp cloth & dry.
- Do not use abrasive cleaners.
PRE-ASSEMBLY INFORMATION
PART DESCRIPTION

HARDWARE DESCRIPTIO

| NEED HELP? For help with assembly or if you are missing a part, Please call customer service at 1-800-667-8992. |
COMPONENTS-KEY DIAGRAM

ASSEMBLY
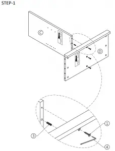
STEP-1

- Insert 2 Dowels
into guide holes on Divider
. - Use rubber mallet to tap Dowels
into bottom of holes securely. 1/2 length of Dowels should be exposed. - Attach Divider
to Bottom Shelf
using 3 Allen Key Screws
. - Use Allen Key
to tighten screws. Do not over-tighten.
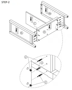
STEP-2

- Insert 4 Dowels
into guide holes on Bottom Shelf
( 2 dowels on each side). - Use rubber mallet to tap Dowels
into bottom of holes securely. 1/2 length of Dowels should be exposed. - Attach 3 Cam Lock Pins
to each Side
,
using pre-drilled holes. - Align Cam Lock Pins with guide holes on Bottom Shelf
. - Insert 6 Cam Locks
into guide holes on Bottom Shelf
(3 Cam Locks on each side). - Use flathead screwdriver to secure Cam Locks.
STEP-3

- Attach 3 Cam Lock Pins
to middle Top
using pre-drilled holes. - Align Cam Lock Pins with guide holes on Divider
. - Insert 3 Cam Locks
into guide holes on Divider
. - Use flathead screwdriver to secure Cam Locks.
- Attach Top
to Sides
,
using 6 Allen Key Screws
(3 screws on each Side). - Use Allen Key
to tighten Screws. Do not over-tighten.
STEP-4

Adjust the cabinet frame before assembling the back panels

STEP-5
Note: The back of the cabinet frame does not have pre-drilled holes to attach the back panels.

- Attach Back Panels
,
to back frame of Storage using 18 Phillips Screws - Round Head
through guide holes. - Use Phillips Screwdriver to tighten screws.
STEP-6

- Attach Adjustable Hinges
to Doors
,
using Phillips Screws
into pre-drilled holes on Doors
,
. - Use Phillips screwdriver to attach Handle
to Doors
,
.
STEP-7

- Attach Adjustable Hinges
on Doors
,
to each Side
,
using Phillips Screws
into pre-drilled holes on each Side
,
. - Use Phillips screwdriver to snugly tighten screws.
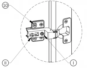
STEP-8


Tighten the Screw marked
to fasten hinge. The door may need to be adjusted so that all the spaces between the door and the unit sides are equal. To adjust, follow instructions:
- Side adjustment 4 mm
To move the door towards the side panel, loosen screw
and tighten screw
.
To move the door away from the side panel, loosen screw
and tighten screw
. - Depth adjustment 4 mm
Loosen screw
( just one turn ), adjust door to desired position, re tighten screw . - Height adjustment
Loosen screw
, adjust door to desired position, re-tighten screw .
STEP-9

- Attach Magnet Plates
to bottom corner of Doors
,
using phillips Screw
into pre-drilled holes on Doors
, 
- Attach Magnets
using Phillips Screws
into pre -drilled holes on Bottom Shelf
.
STEP-10

- Use 4 Shelf Supports
for each Cabinet Shelf
in desired location. - 2 Shelf Supports
may be used on back top of each Cabinet Shelf
as a tipping restraint.
Note: Levelers on bottom of legs can be adjusted if floor is uneven.
FURNITURE TIP OVER RESTRAINT ASSEMBLY
WARNINGSerious or fatal crushing injuries can occur from furniture tip-over. If the furniture tip over restraint kit is not in the box, please contact our customer service department in order to obtain another kit before using the furniture. |
STEP-11

Furniture Tip Over Restraint Instructions
- Attach one of the mounting brackets securely to the back edge of the furniture. Use the shorter screw.

- Determine where furniture is to be placed and mark location on the wall for mounting bracket screw hole approximately 2 inches below the bracket mounted to the furniture.

- Drill a 3/16 inch hole in the wall. Press the plastic anchor into the hole and gently tap until the flange on the anchor is against the wall surface.
- Position the bracket over the anchor and use the longer screw to securely attach the bracket to the wall.
- Place the furniture so the back edge is in line with the bracket on the wall.
- Lace an end of the nylon zip-tie strap down through each bracket. Bring both ends together and slide the smooth side upright through the square-shaped end and pull through to create the “locked” position.
- Check to make sure the strap is securely laced and locked to the brackets.

- DO NOT put a TV or other heavy objects on top of a Low Storage Cabinet or any other furniture not intended for use with a TV
- DO NOT place heavy objects in top drawers
- DO NOT let children climb or hang on drawers, doors or shelves






















