Rodler VITORIA Side Table

ASSEMBLY SCHEME

- Use cardboard as protection.
- Arrange the pieces orderly.

- Open the box in the assembly locale.
DESCRIPTION
| ORD. | DESCRIPTION | COMP. X LARG. (MM) | ESP. (MM) | QTD |
| 01 | TAMPO 45CM | 450×450 | 15 | 01 |
| 02 | TAMPO 35CM | 350×350 | 15 | 01 |
| 03 | BASE 50CM | 500×500 | 15 | 01 |
| 04 | FOOT 58CM | 58cm | 01 | |
| 05 | FOOT 43CM | 43cm | 01 |
| No | ACCESSORIES | Qtd. | N° | ACCESSORIES | Qtd. | ||
| A | Screw I 3,5×12 | ![]() | 08 | D | sheet metal | 02 | |
| B | Screw I 3,5x,35 | ![]() | 05 | ||||
| C | Screw I | ![]() | 04 | E | plastic feet | 04 | |
attention
IMPORTANT SEPARATE THE PARTS AND ACCESSORIES IDENTIFYING THEM BEFORE STARTING THE ASSEMBLY
superior as chapinhas
Fix on the table legs (04/05), at the top the plates (D) using screws (C)
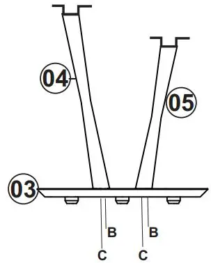
Fixar a base
Fix the base (03) on the legs (04/05) using screw C ) locking with screv (B)
Fixar o tampo 45cm (01)
Fix the top 45cm (01), followed by the top 35cm (02) using a screw. (A).

READY
WARRANTY TERM
This warranty shall be applied within the time limits specified herein, by the presentation of this certificate and invoice. The warranty time shall be ninety (90) days, as provided in article 26 of the Consumer Code, as of the effective delivery of the product, provided that normal conditions of use and conservation are observed. This warranty covers manufacturing flaws.
























