Cuttable Faceplate Installation
34″ x 50″ (AC02082)
32×50 Inch Cuttable Faceplate
Prior to the installation of the insert, measure the distance from the insert faceplate to the front of the fireplace opening. If the distance is greater than 0″, a projection kit must be installed before the installation of the insert faceplate.
Application
The cuttable faceplate is to be installed on an insert. The cuttable faceplate can be installed if the fireplace opening is bigger than the insert cast iron faceplate.
Kits Content
AC02082
![]() | ![]() |
| 34″ X 50″ cuttable faceplate 1x | Nut 1/4″-20 X 1/2″ (A) 6x |
Installation of the cuttable faceplate
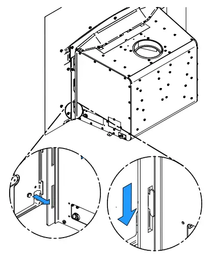
- Remove the front of the insert to be able to install the cut front. To do this, lift the facade and pull it towards you.

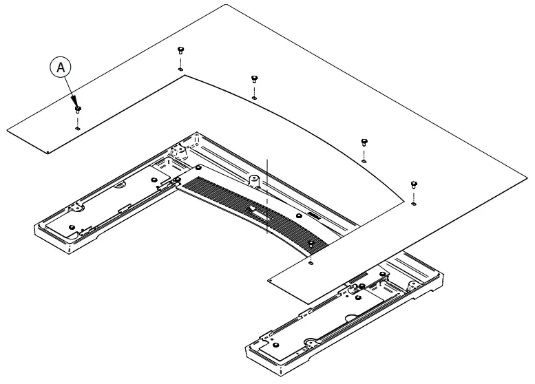
- Cut the faceplate to the appropriate size and fix it on the insert faceplate with the screws (A) provided.

- Align the faceplate hooks with the insert and slide the faceplate down to hook it on the insert.

This document is available for free download on the manufacturer’s website. It is a copyrighted document. Resale is strictly prohibited. The manufacturer may update this document from time to time and cannot be responsible for problems, injuries, or damages arising out of the use of information contained in any document obtained from unauthorized sources.
250, rue de Copenhague,
St-Augustin-de-Desmaures (Québec) Canada
G3A 2H3
418-908-8002
[email protected]























