
Foosball Table
Assembly Instructions

Thank you for choosing Sunnydaze Décor. If you have any questions, comments or concerns please feel free to contact us by phone at: 888-881-4668, by email: [email protected] , or you could also email us via our contact us page at: www.SerenityHealth.com/contact-us/.
We stand behind our brand and the quality of the items we sell . We will send new parts,or replace products at our discretion within the one year warranty period. Before we can help, you will need to provide proof of purchase with the date of purchase and photos of the defective merchandise.We will use the photos to determine the cause of defect and for future quality control.
PARTS IDENTIFIER HARDWARE
(ACTUAL SIZE MAY VARY)
DESCRIPTION QTY
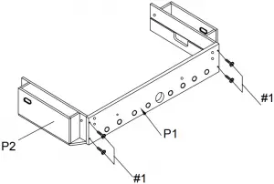
#1 F4 * 1-1/2″ SCREW 8
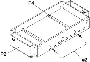
#2 T4 * 1-1/2″ SCREW 4
#3 1/4″ * 1-1/4″ BOLT 16
#4 1/4″ WASHER 16
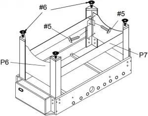
#5 T4 * 12 mm SCREW 32
#6 LEG LEVELED 4
#7 F4 * 1″ SCREW 4
#8 ALLEN KEY 1
#9 SOCCER BALL 2
DESCRIPTION QTY. REQUIRED
(EXTRA PIECES MAY BE INCLUDED)
P1 SIDE PANEL 2
P2 END PANEL 2
P3 PLAYFIELD 1
P4 PLAYFIELD SUPPORT BRACE 2
P5A LEG 2
P5B LEG 2
P6 LEG HIGHS PANELS 2
P7 LEG LONGS PANELS 2
P8 PLASTIC BENDS SCHOMBURG 2
P9 PLASTIC BENDS SCHOMBURG 2
P10 SLIDE SCORER 2
ACCESSORIES
R1 3 PLAYER ROD 4
R2 2 PLAYER ROD 2
R3 5 PLAYER ROD 2
R4 SLEEVE 4
![]()
R5 AWAYNEN 11
R6 HOME MEN 11
R7 RUBBER ROD BUSHING 16
R8 SCREW 26
R9 WASHER 16
R10 ROD END CUP 8
R11 ROD HANDLE 8
ASSEMBLY INSTRUCTIONS
SOCCER TABLE ASSEMBLY
WARNING: TWO ADULTS NEEDED TO ASSEMBLE SOCCER TABLE
STEP 1

STEP 2

STEP 3

STEP 4

STEP 5




![]()
![]()
![]()
![]()
![]()
![]()


















