Teknik 5421420 Work Table Island
Assembly Tools Required
- No. 2 Phillips Screwdriver Tip Shown Actual Size

- Skip the power trip.
This time.
Part Identification
Now you know our ABCs
While not all parts are labeled, some of the parts will have a label or an inked letter on the edge to help distinguish similar parts from each other. Use this part identifi cation to help identify similar parts.
| A | END (2) |
| B | RIGHT UPRIGHT (1) |
| C | LEFT UPRIGHT (1) |
| D | TOP (1) |
| E | BOTTOM (1) |
| F | UPPER SHELF (2) |
| G | LOWER SHELF (2) |
| H | UPPER CENTER SHELF (1) |
| I | LOWER CENTER SHELF (1) |
| J | CENTER UPRIGHT (1) |
| K | SMALL UPRIGHT (2) |
| L | BRACE (2) |
| M | BOTTOM FRAME (1) |
| N | DRAWER FRONT (6) |
| O | DRAWER SIDE (6) |
| P | DRAWER BOTTOM (3) |
Hardware Identification
Screws are shown actual size. You may receive extra hardware with your unit.

Assembly Instructions
Step 1
- Assemble your unit on a carpeted floor or on the empty carton to avoid scratching your unit or the floor.
- Push fifty-six HIDDEN CAMS (1) into the UPRIGHTS (B and C), BOTTOM (E), SHELVES (F, G, H, and I), and DRAWER SIDES (O)
Some assembly (and snacks) required.
Step 2
- Turn forty-eight CAM SCREWS (2) into the exact holes shown in the ENDS (A), UPRIGHTS (B and C), TOP (D), and DRAWER FRONTS (N).
- NOTE: Be sure to use the exact holes shown.
- Fasten four METAL BRACKETS (14) to the ENDS (A).
Use four SILVER 1/2″ MACHINE SCREWS (13). - NOTE: Be sure the BRACKETS are even with the edges of the ENDS.


Step 3
- Insert three WOOD DOWELS (3) into the exact holes shown in one of the ENDS (A).
- Fasten the SHELVES (F and G) to the END (A). Tighten four HIDDEN CAMS.
- NOTE: Be sure the WOOD DOWELS in the END insert into the holes in the SHELVES.


Step 4
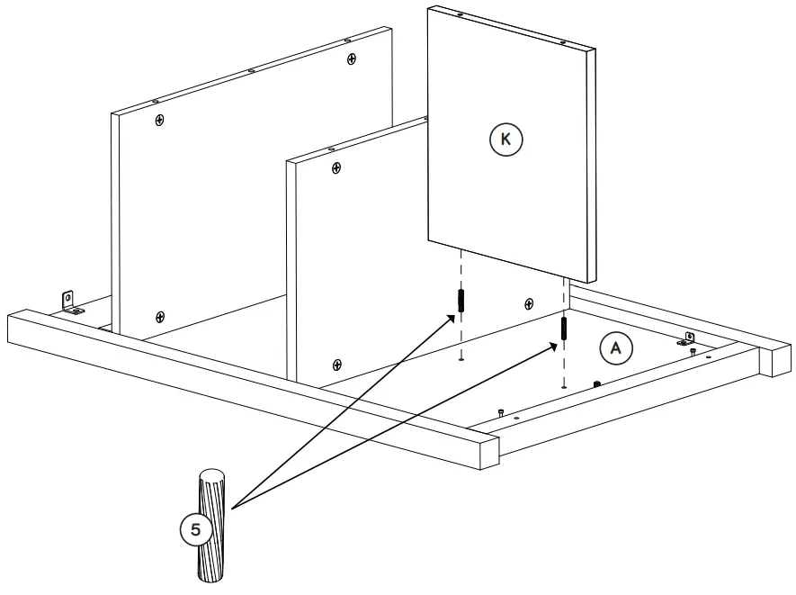
- Insert two SMALL WOOD DOWELS (5) into one of the SMALL UPRIGHTS (K).
- Push the SMALL UPRIGHT (K) into the exact holes shown in the END (A).

Step 5
- Turn eight CAM SCREWS (2) into the exact holes shown in the other surface of the UPRIGHTS (B and C).
- NOTE: Be sure to use the exact holes shown.


Step 6
- Insert two LONG WOOD DOWELS (4) into the exact holes shown in the SHELVES (F and G).
- Insert two SMALL LONG WOOD DOWELS (6) into the holes in the SMALL UPRIGHT (K).
- Fasten the LEFT UPRIGHT (C) to the SHELVES (F and G). Tighten four HIDDEN CAMS.
- NOTE: Be sure the LONG WOOD DOWELS in the SHELVES and SMALL UPRIGHT insert through the holes in the LEFT UPRIGHT.

Step 7
- Fasten the CENTER SHELVES (H and I) to the LEFT UPRIGHT (C). Tighten four HIDDEN CAMS.
- NOTE: Be sure the LONG WOOD DOWELS in the LEFT UPRIGHT insert into the holes in the CENTER SHELVES.

Step 8
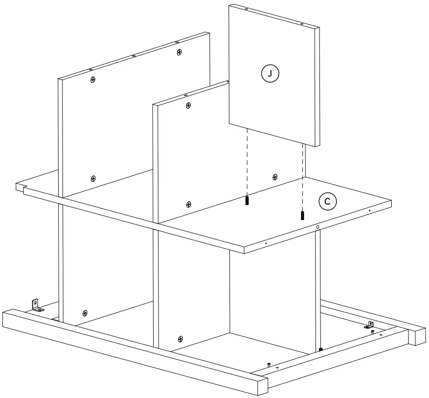
- Push the CENTER UPRIGHT (J) onto the SMALL LONG WOOD DOWELS in the LEFT UPRIGHT (C).
Don’t worry. It isn’t Rome. This can be built in a day.
Step 9
- Insert two LONG WOOD DOWELS (4) into the exact holes shown in the CENTER SHELVES (H and I).
- Insert two SMALL LONG WOOD DOWELS (6) into the holes in the CENTER UPRIGHT (J).
- Fasten the RIGHT UPRIGHT (B) to the CENTER SHELVES (H and I). Tighten four HIDDEN CAMS.
- NOTE: Be sure the LONG WOOD DOWELS in the SHELVES and CENTER UPRIGHT insert through the holes in the RIGHT UPRIGHT.

Step 10
- Fasten the SHELVES (F and G) to the RIGHT UPRIGHT (B).
Tighten four HIDDEN CAMS. - NOTE: Be sure the LONG WOOD DOWELS in the RIGHT UPRIGHT insert into the holes in the SHELVES.

Step 11
- Push the SMALL UPRIGHT (K) onto the SMALL LONG WOOD DOWELS in the RIGHT UPRIGHT (B).

Step 12
- Insert two WOOD DOWELS (3) into the exact holes shown in the UPRIGHTS (B and C).
- Fasten the BOTTOM (E) to the END (A). Tighten two HIDDEN CAMS.
- NOTE: Be sure the WOOD DOWELS in the UPRIGHTS insert into the holes in the BOTTOM.
- Fasten the BOTTOM (E) to the UPRIGHTS (B and C). Use four SILVER 1-3/16″ FLAT HEAD SCREWS (9).

Step 13
- Insert two SMALL WOOD DOWELS (5) into the SMALL UPRIGHT (K).
- Insert three WOOD DOWELS (3) into the SHELVES (F and G) and BOTTOM (E).
- Fasten the END (A) to the SHELVES (F and G) and BOTTOM (E). Tighten six HIDDEN CAMS.
- NOTE: Be sure the WOOD DOWELS in the SHELVES and SMALL UPRIGHT insert into the holes in the END.

Step 14
- Fasten the BOTTOM FRAME (M) to the ENDS (A). Use four SILVER 1-3/16″ MACHINE SCREWS (10).

Step 15
- Carefully stand your unit upright.
- Fasten the BRACES (L) to the ENDS (A). Use eight SILVER 1/2″ PAN HEAD SCREWS (12).
Pro Tip: Lift with your legs. And, you know, your arms.
Step 16
- NOTE: You may need someone’s help in this step.
- First, fill the exact holes shown in the ENDS (A) and UPRIGHTS (B and C) 1/4 to 1/2 full with GLUE (15). Then, insert four WOOD DOWELS (3) into the holes. Wipe away the excess GLUE.
- Now, fill the middle holes in the TOP (D) 1/4 to 1/2 full with GLUE (15).
- Fasten the TOP (D) to the UPRIGHTS (B and C). Tighten four HIDDEN CAMS.
- NOTE: Be sure the WOOD DOWELS in the ENDS and UPRIGHTS insert into the holes in the TOP. Wipe away the excess GLUE.
- Now, fasten the ENDS (A) to the TOP (D). Use four SILVER 1/2″ MACHINE SCREWS (13) through the BRACKETS on the ENDS and into the holes in the TOP
Caution Inspect the parts thoroughly before assembling. Disassembly of glued parts is extremely difficult.
Step 17
- Fasten a KNOB (7) to the DRAWER FRONT (N). Use a SILVER 11/16″ MACHINE SCREW (16).
- Repeat this step for the remaining KNOBS and DRAWER FRONTS.

Step 18
- Slide a DRAWER BOTTOM (P) into the grooves in two DRAWER SIDES (O).
- Fasten two DRAWER FRONTS (N) to the DRAWER SIDES (O). Tighten eight HIDDEN CAMS.
- NOTE: Be sure the DRAWER BOTTOM inserts into the grooves in the DRAWER FRONTS.
- Peel the APPLIQUES from the APPLIQUE CARD (8) and stick them onto each HIDDEN CAM in the DRAWER SIDES.
- Repeat this step for the remaining DRAWER FRONTS, DRAWER SIDES, and DRAWER BOTTOMS.

Step 19
- Insert the DRAWERS into each location shown in your unit.
- Peel APPLIQUES from the APPLIQUE CARD (8) and stick them onto each visible HIDDEN CAM.
- NOTE: Please read the back pages of the instruction booklet for important safety information.
- This completes assembly. Clean with your favorite furniture polish or a damp cloth. Wipe dry.

WARNING
Please use your furniture correctly and safely. Improper use can cause safety hazards, or damage to your furniture or household items. Carefully read the following chart.
| Look out for: | What can happen: | How to avoid the problem: |
| • Overloaded drawers and shelves. | • Risk of injury. • Top-heavy furniture can tip over. • Overloaded drawers or shelves can break. | • Never exceed the weight limits shown in the instructions. • Work from bottom to top when loading shelves and drawers. Place the heavier items on the lower shelves or in lower drawers. |
| • Improperly moving the cart. | • Risk of injury or equipment damage. • The cart can tip if not moved carefully over obstacles or across a changing floor surface (for example, from a wood floor to a carpeted floor). | • Lift the cart so the casters clear any obstacles or abrupt changes in the floor surface. |
| • Placing TVs on furniture items that are not designed to support a television is hazardous. | • Risk of injury or death. TVs can be very heavy. Plus the weight and location of the picture tube tends to make TVs unbalanced and prone to tipping forward. | • This product is not designed to support a television. |











Don’t worry. It isn’t Rome. This can be built in a day.






Pro Tip: Lift with your legs. And, you know, your arms.




















