The FIRST Name in Towing Products™
INSTALLATION INSTRUCTIONS
Scan for helpful installation tips
http://qr.curtmfg.com/video/57007
57007
CUSTOM VEHICLE-TO-TRAILER WIRING HARNESS EXTENSION ISOLATION KIT FOR 7-WAY

TOOLS NEEDED
| Drill | Phillips screwdriver |
| 3/8″ drill bit | Center punch |
WARNING
Check for miscellaneous items that may be hidden behind or under any surface before drilling to avoid damage and/or personal injury.
INSTALLATION
Step 1
Reference the installation instructions in the 56000 / 56070 5th wheel hitch/gooseneck factory wiring extension kit for installation.
Step 2
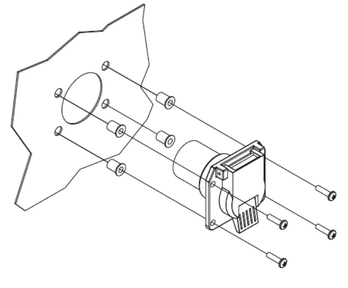
After drilling the hole for the 7-way receptacle, mark the pattern for the mounting holes on the box.
Step 3
Drill four 3/8″ diameter holes.
Step 4
Insert well nuts into the holes drilled in step 3.
Step 5
Mount the 7-way in the box using the provided hardware.
Step 6
Finish the installation according to the wiring kit installation instructions.

57007-INS-RA • NEED ASSISTANCE? • 1.877.287.8634 • CURTMFG.COM


















