14022 Class 4 Trailer Hitch
Instruction Manual
INSTALLATION MANUAL
Level of Difficulty
Easy
Installation difficulty levels are based on the time and effort involved and may vary depending on the installer’s level of expertise, the condition of the vehicle and the proper tools and equipment.
Weight Carrying Capacity
| Gross trailer weight (GTW) | 12,000 lbs. |
| Tongue weight (TW) | 1,200 lbs. |
Weight Distribution Capacity
| Weight distribution (WD) | 12,000 lbs. |
| WD tongue weight (WDTW) | 1,200 lbs. |
Parts List
| Item | Qty | Description |
| 1 | 1 | Trailer hitch |
Tools Required
| Ratchet | Socket, 22mm |
| Torque wrench | Wrench, 22mm |
* For a tools reference guide visit curtmfg.com/trailer-hitch-installation
WARNING
Never exceed the vehicle manufacturer’s recommended towing capacity.
Product Photo
NOTICE
Visit www.curtmfg.com for a full-color copy of this instruction manual, as well as helpful videos, guides, and much more!
Before you begin the installation, read all instructions thoroughly. Proper tools will improve the quality of installation and reduce the time required.
Periodic inspection of the trailer hitch should be performed to ensure all mounting hardware remains tight and structural components are secure.
To help prevent damage to the product or vehicle, refer to the specified torque specifications when securing hardware during the installation process.
SAFETY INSTRUCTIONS
Safety glasses should be worn at all times while installing this product.
Product Registration and Warranty
CURT stands behind our products with industry-leading warranties. To get copies of the product warranties, register your purchase or provide feedback, visit: warranty.curtgroup.com/surveys
ASSEMBLY
Parts List
| Item | Qty | Description |
| 1 | 1 | Trailer hitch |

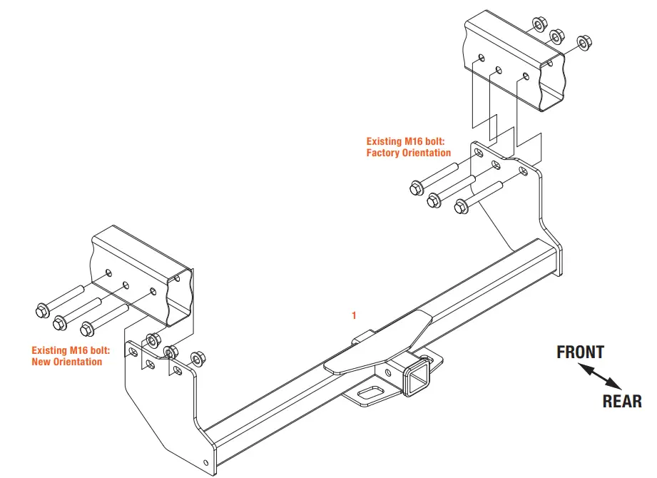
Step 1
Remove the three bolts from the sides of each frame rail near the rear of the vehicle.
Partially reinstall them from the outside of the vehicle towards the center.
Step 2
Raise the hitch into position between the frame rails and slide the bolts through the hitch to secure it in place.
Step 3
Torque the M16 hardware to 146 ft-lbs.
TOWING BASICS & SAFETY INFORMATION
For information on safely towing your trailer, visit curtmfg.com/understanding-towing.
CURTMFG.COM
PRODUCT SUPPORT: 877.287.8634 • 14022-INS-RA • 03/14/2022 • ECN9467 • PAGE 2
![]()



















