

INSTALLATION INSTRUCTIONS
WARNING: NEVER EXCEED YOUR VEHICLE MANUFACTURER’S RECOMMENDED TOWING CAPACITY
BUMPER HITCH

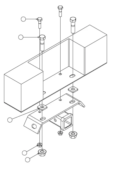
PARTS LIST
| Item# | Qty | Description |
| 1 | 2 | Hex bolt, 3/4″ – 10 x 3″ |
| 2 | 2 | Hex flange nut, 3/4″ – 10 |
| 3 | 2 | Hex bolt, 1/2″ – 13 x 2″ |
| 4 | 2 | Hex flange nut, 1/2″ – 13 |
| 5 | 2 | Spacer, 1/4″ x 1.5″ x 1.5″ |
WARNINGS
5,000 lbs. gross trailer weight 500 lbs. tongue weight
CURT Manufacturing warrants this product to be free of defects in material and/or workmanship at the time of retail purchase by the original purchaser. If the product is found to be defective, CURT Manufacturing may repair or replace the product, at their option, when the product is returned, prepaid, with proof of purchase. Alteration to, misuse of, or improper installation of this product voids the warranty. CURT Manufacturing’s liability is limited to repair or replacement of products found to be defective and specifically excludes liability for incidental or consequential loss or damage. Periodically check this receiver hitch to ensure that all fasteners are tight and all structural components are sound.
INSTALLATION
Step 1
Position the hitch to the underside of the original vehicle step plate.
Step 2
Use existing holes if present. If existing holes cannot be used, mark and drill holes for two 3/4″ bolts and two 1/2″ bolts.
Step 3
Assemble using two 3/4″ x 3″ (#1) bolts and 3/4″ flange nuts (#2) on the outer holes and two 1/2″ x 2″ bolts (#3) and 1/2″ flange nuts (#4) on the inner holes.
Step 4
Spacers (#5) for the 3/4″ bolts are provided. Only use these spacers if there is a welded tab on the underside of the bumper. It is very important to tighten all nuts securely.
• RA • 1.877. 287.863
4 • NEED ASSISTANCE? • CURTMFG.COM
Scan for helpful installation tips
http://qr.curtmfg.com/category/Trailer20Hitches



















