CURT A20 5th Wheel Hitch Head Instruction
DANGER ZONE PRECAUTIONS
Block all trailer tires in front and behind with appropriate wheel chocks. Do not substitute objects such as, but not limited to: stones, wood blocks, etc. Front trailer lifting jacks must be supporting the trailer and resting on a firm and level surface. Towing vehicle must be stationary with automatic transmission in park, emergency brake applied and engine off. If equipped with a manual transmission place in neutral, apply emergency brake and shut off the engine.
WARNINGS
Read and understand instructions before using this product. Fully instruct and demonstrate the operation of this 5th wheel hitch to the end user. Include the importance of observing all warnings contained herein, including warning labels on 5th wheel hitch mid section. Provide this manual in its entirety to the end-user. Serious injury or death may result if the warnings above are not observed. To avoid serious injury, do not expose hands, body parts or clothing between the truck and trailer or the truck’s bed sides and trailer. Extreme care should be observed to avoid serious injury to self, property and observers. Never exceed the rated towing capacity of your vehicle. Trailer and contents combined must not exceed tow vehicle, hitch and/or trailer tow ratings. Exceeding rated capacity may result in separation. Exceeding rated capacity may result in damage to 5th wheel hitch, towing vehicle, trailer and or cause serious injury or death. Never position yourself or others under the trailer’s kingpin area (danger zone) during coupling and uncoupling. If for any reason you must position any part of your body under the trailer, between the truck and the trailer or between the trailer’s kingpin and 5th wheel hitch, you must follow the steps in the ‘Danger Zone Precautions’ section to the left. Improperly coupled trailers can separate and drop without notice.
ASSEMBLY & INSTALLATION
UNPACKING THE 5TH WHEEL
Your A20 5th wheel hitch has been partially assembled, inspected and tested for fit, function and completeness. The A20 5th wheel hitch is an engineered unit that has been designed and tested at the rating of 20,000 lbs. GTW.
Be sure that the leg with the warning and instruction labels is placed on the side of the unit with the activation bar.
PARTS LIST
| Item# | Qty | Description |
| 1 | 1 | 16140 body and head assembly |
| 2 | 1 | Leg weldment |
| 3 | 1 | Leg weldment – driver side with instruction label |
| 4 | 1 | Handle assembly |
| 5 | 1 | Handle lock bar |
| 6 | 2 | Button head cap screw, M8 – 1.25″ x 30 |
| 7 | 2 | Lock washer, M8 |
| 8 | 1 | Latch spring |
| 9 | 1 | Safety latch pin, 3/8″ |
| 10 | 4 | Hex bolt, M14 |
| 11 | 4 | Lock washer, 14mm |
| 12 | 4 | Flat washer, 14mm |
| 13 | 4 | Nylock nut, M14 |
| 14 | 4 | Base rail mounting clip |
| 15 | 4 | Base rail mounting pin, 1/2″ diameter |
CALCULATING THE HEIGHT OF THE ASSEMBLY
Assembly includes measuring the height requirement for the A20 5th wheel head in relation to your trailer ride height at the kingpin box and skid plate. Ideally the trailer should ride as near to level as possible. The A20 5th wheel is adjustable from 13″ to 17″, from the pickup bed to the top of its skid plate. Adjustment is attained by adjusting the mid-section up or down, in relation to the legs, in 2″ increments (typical clearance between the pickup bed rails and the trailer should be a minimum of 5 1/2″).
- Step
With your trailer on a firm and level surface, set chock blocks in front of and behind the tires. (Do not substitute wood blocks, rocks, etc. for chock blocks.) Extend front trailer lifting jacks, adjust as required to set trailer at or near level. - Step
Measure from the ground to under the trailer’s kingpin box skid plate (or lube plate if used). This will be the portion in contact with the A20 5th wheel’s skid plate once coupled. - Step
Measure from the ground to the surface of the pickup bed. - Step
Subtract the measurement from Step 2 from Step 1. This value will be near the height requirement for the A20 5th wheel.
BODY ASSEMBLY
Once you have determined the height adjustment required for your A20 5th wheel, assemble the legs to the mid-section using the appropriate holes. Occasionally, the trailer’s kingpin ‘pin box’ will require adjustment to facilitate correct ride height. IMPORTANT: Torque the four pilot bolts to 100 foot lbs. Re-torque after initial 500 miles and every 1,000 miles thereafter and prior to each individual use.
WARNING: The jaws on the 16140 head are spring loaded. The jaws will open rapidly when the safety pin is removed and the handle is moved to the unlock position. Keep hands clear of the jaws at all time.
Step 1 – Attach the Legs
Attach the leg weldments to the mid-section with the supplied hardware, ‘Parts List’ items 10, 11, 12 and 13. See Figure 1. Depending on which holes are required to achieve proper ride height, attachment of the legs to the mid-section may be easier with the mid-section positioned upside-down.
NOTE: The head assembly can easily be removed from the midsection to further aid installation of the hardware.
Step 2 – Mount to the Base Rails
Before attaching your A20 to the tow vehicle’s mounting rails, check the base rails in your truck to be sure they are properly installed and are parallel with each other. The diagonal dimensions should be the same, see Figure 3. With the base rails correctly positioned, the A20 5th wheel assembly will drop into the slots on the top surface of the base rails. Align the four tabs on the bottom of the A20 legs with the corresponding slots in the tow vehicles mounting rails. Lower the 5th wheel assembly into the rails. Secure the 5th wheel by installing the four 1/2″ rail mount pins & clips as illustrated in Figures 4 and 5. NOTE: You may find it easier to position the A20 assembly and lower it into the rails with the center head section removed to reduce weight.
If installing new bed mounting rails, follow the instructions provided by the rail manufacturer for proper placement, alignment and spacing per your vehicles year, make and model. If the A20 5th wheel is being mounted to existing bed mounting rails, and alignment issues arise, it may be necessary to proceed as follows:
Loosely assemble the legs to the A20 5th wheel mid-section. Place the unit on top of the existing bed mounting rails, aligning the foot tabs with the outermost rectangular slots of the mounting rails. When the 5th wheel foot tabs drop into the four rectangular slots, pin the foot tabs using the four pins & clips provided. Continue assembly by tightening the pilot hex bolts to 100 foot lbs. If difficulty is still experienced fitting the A20 5th wheel into the existing bed mounting rails, it may be necessary to loosen the mounting rail bolts and realign the mounting rails to facilitate installation. It is recommended to replace old lock washers with new lock washers at this time. Torque mounting rail bolts to the
rail manufacturer’s specifications. Continue with the A20 installation by tightening the bolts to 100 foot lbs.

HANDLE ASSEMBLY 
PARTS LIST
| Item# | Qty | Description |
| 4 | 1 | Handle assembly |
| 5 | 1 | Handle lock bar |
| 6 | 2 | Button head cap screw, M8 – 1 1/2″ x 30 |
| 7 | 2 | Lock washer, M8 |
| 8 | 1 | Latch spring |
| 9 | 1 | Safety latch pin, 3/8″ |
PARTS LIST (CONT)
ASSEMBLY
- Step
Locate the handle assemble and hardware pack provided with your A20 5th wheel hitch as shown on the front page.
WARNING: The jaws on the 16140 head are spring loaded. The jaws will open rapidly when the safety pin is removed and the handle is moved to the unlock position. Keep hands clear of the jaws at all time. - Step
Slide the handle assembly over the end of the handle mount bar on the A20 head as shown below.
Figure 7
- Step 3
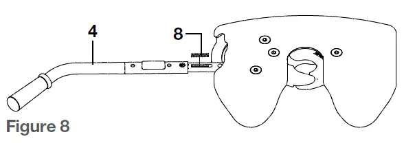
Insert the latch spring into the slot on the handle mount bar and then continue sliding the handle assembly into place.
Figure 8
- Step
Position the handle assembly so the first M8 bolt and lock washer can be dropped into position behind the latch spring as shown below.
ASSEMBLY (CONT) - Step
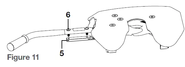
With the first M8 bolt in place behind the latch spring, pull the handle assembly back out until the second M8 bolt and lock washer can be dropped into position.Figure 10
- Step
With both M8 bolts in place through the handle assembly, slide the latch plate into position and secure it by threading the M8 bolts into the tapped holes. Alternate between the two bolts while tightening. Evenly draw the latch plate up to the handle. NOTE: Pulling out on the handle while tightening the M8 bolts will ease installation.
CAUTION: Do not crush the handle assembly tube by over tightening the M8 bolts. The handle assembly must slide freely over the handle mount bar to latch properly.
- Step
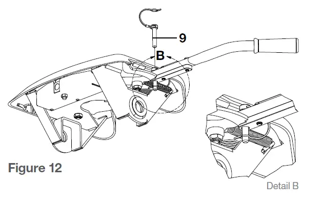
Confirm the lock bar latches into position as shown in Detail B below. Complete the handle installation by inserting the safety lynch pin, locking the handle in the tow position.
COUPLING & LOCKING
CURT A20 5th Wheel Hitch Head Instruction
DANGER ZONE PRECAUTIONS
Block all trailer tires in front and behind with appropriate wheel chocks. Do not substitute objects such as, but not limited to: stones, wood blocks, etc. Front trailer lifting jacks must be supporting the trailer and resting on a firm and level surface. Towing vehicle must be stationary with automatic transmission in park, emergency brake applied and engine off. If equipped with a manual transmission place in neutral, apply emergency brake and shut off the engine.
WARNINGS
Read and understand instructions before using this product. Fully instruct and demonstrate the operation of this 5th wheel hitch to the end user. Include the importance of observing all warnings contained herein, including warning labels on 5th wheel hitch mid section. Provide this manual in its entirety to the end-user. Serious injury or death may result if the warnings above are not observed. To avoid serious injury, do not expose hands, body parts or clothing between the truck and trailer or the truck’s bed sides and trailer. Extreme care should be observed to avoid serious injury to self, property and observers. Never exceed the rated towing capacity of your vehicle. Trailer and contents combined must not exceed tow vehicle, hitch and/or trailer tow ratings. Exceeding rated capacity may result in separation. Exceeding rated capacity may result in damage to 5th wheel hitch, towing vehicle, trailer and or cause serious injury or death. Never position yourself or others under the trailer’s kingpin area (danger zone) during coupling and uncoupling. If for any reason you must position any part of your body under the trailer, between the truck and the trailer or between the trailer’s kingpin and 5th wheel hitch, you must follow the steps in the ‘Danger Zone Precautions’ section to the left. Improperly coupled trailers can separate and drop without notice.
ASSEMBLY & INSTALLATION
UNPACKING THE 5TH WHEEL
Your A20 5th wheel hitch has been partially assembled, inspected and tested for fit, function and completeness. The A20 5th wheel hitch is an engineered unit that has been designed and tested at the rating of 20,000 lbs. GTW.
Be sure that the leg with the warning and instruction labels is placed on the side of the unit with the activation bar.
PARTS LIST
| Item# | Qty | Description |
| 1 | 1 | 16140 body and head assembly |
| 2 | 1 | Leg weldment |
| 3 | 1 | Leg weldment – driver side with instruction label |
| 4 | 1 | Handle assembly |
| 5 | 1 | Handle lock bar |
| 6 | 2 | Button head cap screw, M8 – 1.25″ x 30 |
| 7 | 2 | Lock washer, M8 |
| 8 | 1 | Latch spring |
| 9 | 1 | Safety latch pin, 3/8″ |
| 10 | 4 | Hex bolt, M14 |
| 11 | 4 | Lock washer, 14mm |
| 12 | 4 | Flat washer, 14mm |
| 13 | 4 | Nylock nut, M14 |
| 14 | 4 | Base rail mounting clip |
| 15 | 4 | Base rail mounting pin, 1/2″ diameter |
CALCULATING THE HEIGHT OF THE ASSEMBLY
Assembly includes measuring the height requirement for the A20 5th wheel head in relation to your trailer ride height at the kingpin box and skid plate. Ideally the trailer should ride as near to level as possible. The A20 5th wheel is adjustable from 13″ to 17″, from the pickup bed to the top of its skid plate. Adjustment is attained by adjusting the mid-section up or down, in relation to the legs, in 2″ increments (typical clearance between the pickup bed rails and the trailer should be a minimum of 5 1/2″).
- Step
With your trailer on a firm and level surface, set chock blocks in front of and behind the tires. (Do not substitute wood blocks, rocks, etc. for chock blocks.) Extend front trailer lifting jacks, adjust as required to set trailer at or near level. - Step
Measure from the ground to under the trailer’s kingpin box skid plate (or lube plate if used). This will be the portion in contact with the A20 5th wheel’s skid plate once coupled. - Step
Measure from the ground to the surface of the pickup bed. - Step
Subtract the measurement from Step 2 from Step 1. This value will be near the height requirement for the A20 5th wheel.
BODY ASSEMBLY
Once you have determined the height adjustment required for your A20 5th wheel, assemble the legs to the mid-section using the appropriate holes. Occasionally, the trailer’s kingpin ‘pin box’ will require adjustment to facilitate correct ride height. IMPORTANT: Torque the four pilot bolts to 100 foot lbs. Re-torque after initial 500 miles and every 1,000 miles thereafter and prior to each individual use.
WARNING: The jaws on the 16140 head are spring loaded. The jaws will open rapidly when the safety pin is removed and the handle is moved to the unlock position. Keep hands clear of the jaws at all time.
Step 1 – Attach the Legs
Attach the leg weldments to the mid-section with the supplied hardware, ‘Parts List’ items 10, 11, 12 and 13. See Figure 1. Depending on which holes are required to achieve proper ride height, attachment of the legs to the mid-section may be easier with the mid-section positioned upside-down.
NOTE: The head assembly can easily be removed from the midsection to further aid installation of the hardware.
Step 2 – Mount to the Base Rails
Before attaching your A20 to the tow vehicle’s mounting rails, check the base rails in your truck to be sure they are properly installed and are parallel with each other. The diagonal dimensions should be the same, see Figure 3. With the base rails correctly positioned, the A20 5th wheel assembly will drop into the slots on the top surface of the base rails. Align the four tabs on the bottom of the A20 legs with the corresponding slots in the tow vehicles mounting rails. Lower the 5th wheel assembly into the rails. Secure the 5th wheel by installing the four 1/2″ rail mount pins & clips as illustrated in Figures 4 and 5. NOTE: You may find it easier to position the A20 assembly and lower it into the rails with the center head section removed to reduce weight.
If installing new bed mounting rails, follow the instructions provided by the rail manufacturer for proper placement, alignment and spacing per your vehicles year, make and model. If the A20 5th wheel is being mounted to existing bed mounting rails, and alignment issues arise, it may be necessary to proceed as follows:
Loosely assemble the legs to the A20 5th wheel mid-section. Place the unit on top of the existing bed mounting rails, aligning the foot tabs with the outermost rectangular slots of the mounting rails. When the 5th wheel foot tabs drop into the four rectangular slots, pin the foot tabs using the four pins & clips provided. Continue assembly by tightening the pilot hex bolts to 100 foot lbs. If difficulty is still experienced fitting the A20 5th wheel into the existing bed mounting rails, it may be necessary to loosen the mounting rail bolts and realign the mounting rails to facilitate installation. It is recommended to replace old lock washers with new lock washers at this time. Torque mounting rail bolts to the
rail manufacturer’s specifications. Continue with the A20 installation by tightening the bolts to 100 foot lbs.

HANDLE ASSEMBLY 
PARTS LIST
| Item# | Qty | Description |
| 4 | 1 | Handle assembly |
| 5 | 1 | Handle lock bar |
| 6 | 2 | Button head cap screw, M8 – 1 1/2″ x 30 |
| 7 | 2 | Lock washer, M8 |
| 8 | 1 | Latch spring |
| 9 | 1 | Safety latch pin, 3/8″ |
PARTS LIST (CONT)
ASSEMBLY
- Step
Locate the handle assemble and hardware pack provided with your A20 5th wheel hitch as shown on the front page.
WARNING: The jaws on the 16140 head are spring loaded. The jaws will open rapidly when the safety pin is removed and the handle is moved to the unlock position. Keep hands clear of the jaws at all time. - Step
Slide the handle assembly over the end of the handle mount bar on the A20 head as shown below.
Figure 7
- Step 3
Insert the latch spring into the slot on the handle mount bar and then continue sliding the handle assembly into place.
Figure 8
- Step
Position the handle assembly so the first M8 bolt and lock washer can be dropped into position behind the latch spring as shown below.
ASSEMBLY (CONT) - Step
With the first M8 bolt in place behind the latch spring, pull the handle assembly back out until the second M8 bolt and lock washer can be dropped into position.Figure 10
- Step
With both M8 bolts in place through the handle assembly, slide the latch plate into position and secure it by threading the M8 bolts into the tapped holes. Alternate between the two bolts while tightening. Evenly draw the latch plate up to the handle. NOTE: Pulling out on the handle while tightening the M8 bolts will ease installation.
CAUTION: Do not crush the handle assembly tube by over tightening the M8 bolts. The handle assembly must slide freely over the handle mount bar to latch properly.
- Step
Confirm the lock bar latches into position as shown in Detail B below. Complete the handle installation by inserting the safety lynch pin, locking the handle in the tow position.
COUPLING & LOCKING
CURT A20 5th Wheel Hitch Head Instruction
DANGER ZONE PRECAUTIONS
Block all trailer tires in front and behind with appropriate wheel chocks. Do not substitute objects such as, but not limited to: stones, wood blocks, etc. Front trailer lifting jacks must be supporting the trailer and resting on a firm and level surface. Towing vehicle must be stationary with automatic transmission in park, emergency brake applied and engine off. If equipped with a manual transmission place in neutral, apply emergency brake and shut off the engine.
WARNINGS
Read and understand instructions before using this product. Fully instruct and demonstrate the operation of this 5th wheel hitch to the end user. Include the importance of observing all warnings contained herein, including warning labels on 5th wheel hitch mid section. Provide this manual in its entirety to the end-user. Serious injury or death may result if the warnings above are not observed. To avoid serious injury, do not expose hands, body parts or clothing between the truck and trailer or the truck’s bed sides and trailer. Extreme care should be observed to avoid serious injury to self, property and observers. Never exceed the rated towing capacity of your vehicle. Trailer and contents combined must not exceed tow vehicle, hitch and/or trailer tow ratings. Exceeding rated capacity may result in separation. Exceeding rated capacity may result in damage to 5th wheel hitch, towing vehicle, trailer and or cause serious injury or death. Never position yourself or others under the trailer’s kingpin area (danger zone) during coupling and uncoupling. If for any reason you must position any part of your body under the trailer, between the truck and the trailer or between the trailer’s kingpin and 5th wheel hitch, you must follow the steps in the ‘Danger Zone Precautions’ section to the left. Improperly coupled trailers can separate and drop without notice.
ASSEMBLY & INSTALLATION
UNPACKING THE 5TH WHEEL
Your A20 5th wheel hitch has been partially assembled, inspected and tested for fit, function and completeness. The A20 5th wheel hitch is an engineered unit that has been designed and tested at the rating of 20,000 lbs. GTW.
Be sure that the leg with the warning and instruction labels is placed on the side of the unit with the activation bar.
PARTS LIST
| Item# | Qty | Description |
| 1 | 1 | 16140 body and head assembly |
| 2 | 1 | Leg weldment |
| 3 | 1 | Leg weldment – driver side with instruction label |
| 4 | 1 | Handle assembly |
| 5 | 1 | Handle lock bar |
| 6 | 2 | Button head cap screw, M8 – 1.25″ x 30 |
| 7 | 2 | Lock washer, M8 |
| 8 | 1 | Latch spring |
| 9 | 1 | Safety latch pin, 3/8″ |
| 10 | 4 | Hex bolt, M14 |
| 11 | 4 | Lock washer, 14mm |
| 12 | 4 | Flat washer, 14mm |
| 13 | 4 | Nylock nut, M14 |
| 14 | 4 | Base rail mounting clip |
| 15 | 4 | Base rail mounting pin, 1/2″ diameter |
CALCULATING THE HEIGHT OF THE ASSEMBLY
Assembly includes measuring the height requirement for the A20 5th wheel head in relation to your trailer ride height at the kingpin box and skid plate. Ideally the trailer should ride as near to level as possible. The A20 5th wheel is adjustable from 13″ to 17″, from the pickup bed to the top of its skid plate. Adjustment is attained by adjusting the mid-section up or down, in relation to the legs, in 2″ increments (typical clearance between the pickup bed rails and the trailer should be a minimum of 5 1/2″).
- Step
With your trailer on a firm and level surface, set chock blocks in front of and behind the tires. (Do not substitute wood blocks, rocks, etc. for chock blocks.) Extend front trailer lifting jacks, adjust as required to set trailer at or near level. - Step
Measure from the ground to under the trailer’s kingpin box skid plate (or lube plate if used). This will be the portion in contact with the A20 5th wheel’s skid plate once coupled. - Step
Measure from the ground to the surface of the pickup bed. - Step
Subtract the measurement from Step 2 from Step 1. This value will be near the height requirement for the A20 5th wheel.
BODY ASSEMBLY
Once you have determined the height adjustment required for your A20 5th wheel, assemble the legs to the mid-section using the appropriate holes. Occasionally, the trailer’s kingpin ‘pin box’ will require adjustment to facilitate correct ride height. IMPORTANT: Torque the four pilot bolts to 100 foot lbs. Re-torque after initial 500 miles and every 1,000 miles thereafter and prior to each individual use.
WARNING: The jaws on the 16140 head are spring loaded. The jaws will open rapidly when the safety pin is removed and the handle is moved to the unlock position. Keep hands clear of the jaws at all time.
Step 1 – Attach the Legs
Attach the leg weldments to the mid-section with the supplied hardware, ‘Parts List’ items 10, 11, 12 and 13. See Figure 1. Depending on which holes are required to achieve proper ride height, attachment of the legs to the mid-section may be easier with the mid-section positioned upside-down.
NOTE: The head assembly can easily be removed from the midsection to further aid installation of the hardware.
Step 2 – Mount to the Base Rails
Before attaching your A20 to the tow vehicle’s mounting rails, check the base rails in your truck to be sure they are properly installed and are parallel with each other. The diagonal dimensions should be the same, see Figure 3. With the base rails correctly positioned, the A20 5th wheel assembly will drop into the slots on the top surface of the base rails. Align the four tabs on the bottom of the A20 legs with the corresponding slots in the tow vehicles mounting rails. Lower the 5th wheel assembly into the rails. Secure the 5th wheel by installing the four 1/2″ rail mount pins & clips as illustrated in Figures 4 and 5. NOTE: You may find it easier to position the A20 assembly and lower it into the rails with the center head section removed to reduce weight.
If installing new bed mounting rails, follow the instructions provided by the rail manufacturer for proper placement, alignment and spacing per your vehicles year, make and model. If the A20 5th wheel is being mounted to existing bed mounting rails, and alignment issues arise, it may be necessary to proceed as follows:
Loosely assemble the legs to the A20 5th wheel mid-section. Place the unit on top of the existing bed mounting rails, aligning the foot tabs with the outermost rectangular slots of the mounting rails. When the 5th wheel foot tabs drop into the four rectangular slots, pin the foot tabs using the four pins & clips provided. Continue assembly by tightening the pilot hex bolts to 100 foot lbs. If difficulty is still experienced fitting the A20 5th wheel into the existing bed mounting rails, it may be necessary to loosen the mounting rail bolts and realign the mounting rails to facilitate installation. It is recommended to replace old lock washers with new lock washers at this time. Torque mounting rail bolts to the
rail manufacturer’s specifications. Continue with the A20 installation by tightening the bolts to 100 foot lbs.

HANDLE ASSEMBLY 
PARTS LIST
| Item# | Qty | Description |
| 4 | 1 | Handle assembly |
| 5 | 1 | Handle lock bar |
| 6 | 2 | Button head cap screw, M8 – 1 1/2″ x 30 |
| 7 | 2 | Lock washer, M8 |
| 8 | 1 | Latch spring |
| 9 | 1 | Safety latch pin, 3/8″ |
PARTS LIST (CONT)
ASSEMBLY
- Step
Locate the handle assemble and hardware pack provided with your A20 5th wheel hitch as shown on the front page.
WARNING: The jaws on the 16140 head are spring loaded. The jaws will open rapidly when the safety pin is removed and the handle is moved to the unlock position. Keep hands clear of the jaws at all time. - Step
Slide the handle assembly over the end of the handle mount bar on the A20 head as shown below.
Figure 7
- Step 3
Insert the latch spring into the slot on the handle mount bar and then continue sliding the handle assembly into place.
Figure 8
- Step
Position the handle assembly so the first M8 bolt and lock washer can be dropped into position behind the latch spring as shown below.
ASSEMBLY (CONT) - Step
With the first M8 bolt in place behind the latch spring, pull the handle assembly back out until the second M8 bolt and lock washer can be dropped into position.Figure 10
- Step
With both M8 bolts in place through the handle assembly, slide the latch plate into position and secure it by threading the M8 bolts into the tapped holes. Alternate between the two bolts while tightening. Evenly draw the latch plate up to the handle. NOTE: Pulling out on the handle while tightening the M8 bolts will ease installation.
CAUTION: Do not crush the handle assembly tube by over tightening the M8 bolts. The handle assembly must slide freely over the handle mount bar to latch properly.
- Step
Confirm the lock bar latches into position as shown in Detail B below. Complete the handle installation by inserting the safety lynch pin, locking the handle in the tow position.
COUPLING & LOCKING
PREPARING THE VEHICLE AND TRAILER TO COUPLE
It is advised to perform trailer connections to the 5th wheel on a firm and level surface. Multiple wheel chocks should be used in front of and behind trailer tires. Do not substitute objects such as, but not limited to: stones, wood blocks, etc.
Open or remove the tailgate as required to safely back the tow vehicle under the trailer and center the trailer kingpin with the opening on the hitch head. Do not engage the kingpin into 5th wheel at this time. Stop the tow vehicle when the trailer’s skid plate is approximately 4″ from the 5th wheel’s skid plate.
Set automatic transmissions to park and activate the emergency brake. Set manual transmissions to neutral and activate the emergency brake.
Adjust the front trailer lifting jacks so the trailer’s kingpin skid plate is approximately 1/2″ below the top surface of the 5th wheel’s skid plate lead-in ramp. (See Figure 16 for proper height setup prior to coupling.) NOTE: Trailer height setup is critical to allow the 5th wheel jaws to engage the kingpin and lock properly. Never attempt to lower the trailer’s kingpin into the 5th wheel.
PREPARING THE 5TH WHEEL TO COUPLE
If the “yellow” indicator is visible, visually check that the jaws are open as illustrated in Figure 15 above. If the jaw’s are open and the handle is in the unlocked position, your A20 5th wheel is ready to couple. Skip to the ‘Coupling’ section on next page.
If the “green” indicator is visible and the jaw’s are closed, they must be unlocked prior to use. Figure 13 illustrates the jaws and handle in the closed and locked position.
Remove the safety latch pin from the 5th wheel’s handle. Open the jaws by pulling handle out about 1/2″ and then swinging it back toward the front of the tow vehicle. The handle will latch in the unlocked position and the “yellow” indicator will be visible from the tow vehicle cab.
If the 5th wheel handle will not latch in the unlocked position, or the “red” indicator is visible, go to the troubleshooting section to resolve the issue before attempting to couple your trailer. WARNING: Attempting to couple your 5th wheel in any configuration other then the “yellow” couple position may result in damage to you trailer or 5th wheel. Always ensure the jaws are open and unobstructed prior to coupling to your trailer’s kingpin.
PREPARATION TROUBLESHOOTING
Red indicator with jaws open – Do not tow
WARNING: Do not tow in this configuration. The jaws will close, but will not lock. Follow the steps below to correct the issue and prepare for coupling.
The red indicator signifies that the jaws are unlocked and the operating handle is latched in the unlock position. (See Figure 14 on the previous page.) The red indicator will remain visible if the jaws are unable to fully open and reset the operating handle to the “yellow” couple position. Follow the steps below to attempt to reset the operating handle to the couple position.
- Step
Visually check for any signs of damage to the locking mechanism. Ensure the jaws are open and the indicator, jaw, handle and torsion springs are all attached and undamaged. If any of the springs are missing or damaged, do not attempt to use the hitch until it has been repaired. - Step
Ensure the locking mechanism is free of excessive dirt, rust, grease, snow, ice or other foreign material preventing it from cycling properly. Clean excessive dirt, snow, or ice with warm soap water. Lightly lubricate exposed surfaces with a rust inhibitor to restore proper operation. Components with excessive amounts of rust may require replacement to restore proper functionality. - Step
If all components are undamaged and can freely move, apply pressure to the operating handle, as if unlocking, and release. If the handle drops back to the couple position and the indicator turns “yellow,” you are ready to couple. - Step
If cycling the handle is unsuccessful, apply pressure to the front of the jaw to manually reset the locking pawl. If the handle drops to the couple position and the indicator turns “yellow,” you are ready to couple. - Step
If none of the above steps resolve the issue, contact CURT Technical Service for further assistance.
COUPLING
If you are using a lube plate on the trailer’s kingpin, you are ready to couple the trailer to the 5th wheel. A single 3/16″ thick lube plate may be used. If you are not using a lube plate, apply a high-pressure wheel bearing grease to the 5th wheel skid plate. Operating without a lube plate or grease will result in accelerated wear and/or damage to your 5th wheel’s skid plate.
Never position yourself or others under the trailer’s kingpin area (danger zone) during coupling and uncoupling. If for any reason, you must position any part of your body under the trailer or between the truck and trailer or between the trailer kingpin and 5th wheel hitch, you must follow the steps in the ‘Danger Zone Precautions’ on page 1.
Back-up the towing vehicle while remaining centered and aligned to trailer’s kingpin. The trailer’s kingpin skid plate will compress the towing vehicle’s suspension and ramp up onto the 5th wheel skid plate. Refer to Figure 13 and Figure 15 on page 5 while observing the following:
- Trailer kingpin fully seats into opening on the 5th wheel head
- ‘Yellow’ indicator will change to ‘green’ indicator (when viewing from cab)
- Operating handle will swing rearward toward the trailer to the locked position

Visually confirm the trailer’s skid plate is resting completely on the head of the 5th wheel. Also confirm the jaws are indeed locked around the trailers kingpin. A gap may indicate the kingpin is not engaged into jaws properly or has high-sided and is resting on top of the Jaw. After visually confirming the jaws are properly engaged and locked, insert the safety pin through the locking handle to ensure it cannot be unlocked while towing. WARNING: Never tow without visually ensuring the kingpin is properly coupled and the safety pin has been installed. This will ensure the handle cannot be unintentionally unlocked.
If the king-pin is resting on top of the jaws, immediately lower the trailer jacks to lift the kingpin off the jaws. Inspect the 5th wheel for damage that may have resulted from the improper coupling attempt. Under no circumstances should the 5th wheel unit be used if damage exists. If no damage exists, review coupling instructions and repeat procedure.
PULL TEST
After coupling and prior to removing trailer wheel blocks and or raising front trailer jacks, you must do the following:
Set towing vehicle in a forward gear and lightly tug on the trailer to ensure that 100% coupling has taken place. If resistance is felt, release forward pressure, set vehicle
to park (if equipped with an automatic transmission) and activate the emergency brake. Place in neutral if equipped with a standard transmission and activate emergency brake.
If resistance is not felt, trailer may not be coupled correctly. Do not continue applying forward pressure, immediately stop and back towing vehicle into original position. Do not allow the truck and trailer to separate. Separation can cause damage to the towing vehicle, 5th wheel hitch and/or trailer. Serious injury or death may result if all warnings are not observed. Review coupling instructions, apply corrective action and repeat coupling steps.
PREPARING TO TOW
Confirm handle safety lynch pin has been installed. Attach electrical harnesses. Attach lanyard and insert electric brake break-away plunger. If hydraulic surge brakes are present, attach lanyard from the surge brake assembly as required. Fully retract front trailer lifting jacks. Close truck tailgate or reinstall tailgate as required. Remove tire chock blocks.
Check running lights, directional signals and brake lights for proper operation. Pull forward a few feet and apply brakes to check that trailer brakes are activating. Adjust the electric brake controller if necessary.
UNCOUPLING & RESETTING
Park on a firm and level surface. Set automatic transmission vehicles to park and activate emergency brake. Set standard transmission vehicles to neutral and activate emergency brake.

- Chock the trailer wheels. Multiple wheel chocks should be used, both in front and behind the tires. Do not substitute objects such as stones, wood blocks, etc.
- Disconnect all harnesses, lanyards, safety devices, etc. as required to separate the trailer from the tow vehicle. Lower or remove truck tailgate as required.
- Begin extending the front trailer lifting jacks. The lifting jacks should be extended just enough to remove the weight of the trailer from the 5th wheel skid plate.

- Remove the safety lynch pin from the handle of the 5th wheel. Unlock the jaws by pulling the locking handle out about 1/2″ and then swinging it forward until it latches in the unlocked position. The ‘red’ unlocked indicator will be visible from the cab.

- NOTE: If the operating handle fails to latch in the unlock position while the kingpin is in the jaws, refer to steps 1, 2 and 5 in the ‘Preparation Troubleshooting’ section on page 6. Never attempt to uncouple without the handle being in the unlocked position. Remove the parking brake and slowly drive the tow vehicle out from under the trailer. If resistance is encountered, determine the corrective action and repeat uncoupling steps.

- As the kingpin moves out of the 5th wheel jaws you will see the handle drop back slightly to the couple position. The indicator will also change from “red” to “yellow”.
Your 5th wheel hitch is now safely uncoupled and
is ready to be recoupled the next time you tow.
REMOVAL & REINSTALLATION
For your convenience, the A20 5th wheel hitch may be disassembled to ease removal. This section will discuss the two different ways the 5th wheel can be removed.
REMOVAL – OPTION 1
To remove the entire 5th wheel hitch from the base rails. Follow the two steps below and refer to Figure 23 for assistance.
- Remove the four clips and mounting rail pins
- Remove the 5th wheel unit from the mounting rails

REMOVAL – OPTION 2
We recommended that the head be separated from the mid-section and sides be removed as one unit. NOTE: If binding occurs, loosen the four 14mm leg mounting bolts to free them from the rails.
- Remove center lynch pin and large pivot pin
- Lift and remove head assembly and yoke
- Remove the rail clips and mounting pins
- Lift and remove mid-section and leg assembly

REINSTALLATION
Reinstall the 5th wheel in the reverse order it was removed. If removal method was per Option 2, please follow the steps below:
- Place the mid-section, still attached loosely to the legs, into the mounting rails
- Insert the four mounting rail pins & clips
- Re-torque the four pilot hex bolts to 100 foot lbs.
MAINTENANCE REQUIREMENTS
Your CURT A20 5th wheel hitch has been designed to offer years of safe and reliable service. To achieve the best performance and the longest possible service life, please follow the maintenance schedule on the next page.
MAINTENANCE (CONTINUED)
| Item | Component | Action | Frequency | Instructions |
| 1 | Skid plate | Lubricate | Before each use, every 1,000 miles | Liberally apply grease to the skid plate’s top surface. A high-pressure wheel bearing grease is preferred. If you prefer, you may use a lube plate in place of grease |
| 2 | Center pivot pin | Lubricate | Before each use | Remove the center pivot pin and apply a light coating of high-pressure wheel bearing grease. Replace the pin and ensure it is secured with the safety lynch pin |
| 3 | 14mm hex pilot bolts | Torque | Before each use, every 1,000 miles | Torque the four 14mm leg pilot bolts to 100 foot lbs. Re-torque after initial 500 miles and every 1,000 miles thereafter and prior to each individual use |
| 4 | 16mm head pivot bolts | Check torque | Before each use, every 1,000 miles | Torque the two 16mm head bolts to 200 +/- 25 foot lbs. prior to each use and every 1,000 miles thereafter |
| 5 | Locking pawl | Lubricate | Before each use | Open jaws and apply a small amount of grease to the curved surface of locking pawl. Pawl will be accessible through the operating handle opening in the head side plate |
| 6 | Jaw pivot points | Lubricate | Before each use | Use a grease gun to apply grease to both zerks located on the front of each jaw. The jaws must be in the closed and locked position for the zerks to be accessible. |
| 7 | Linkage pivot points | Lubricate | Before each use | Use an aerosol applicator to spray a small amount of rust inhibitor or lubricant on the lock handle, linkage bar and pawl pivot points |
| 8 | Complete A20 5th wheel hitch | Clean | After each use, before long term storage | For optimal service life, clean your A20 after each use with warm soapy water and dry with towels or compressed air. It is also recommended that the 5th wheel is removed from the vehicle or covered when not in use for extended periods of time. Spray exposed surfaces with a light coat of rust inhibitor before long term storage |
CURT WARRANTY
CURT Manufacturing, LLC (CURT) warrants to the original purchaser (Purchaser), its products to be free from defect under normal use and service, ordinary wear and tear excepted, for the warranty period stated below, from the date of the original retail purchase, but subject to the limitations as set forth below.
LIMITATION ON WARRANTY
CURT’s obligation under the above warranty is limited to repair or replacement of the CURT Product (Product), at its option due to a manufacturing defect of the Product.
CURT shall not be liable for the loss of or use of vehicles, loss of or damage to personal property, expenses such as telephone, lodging, gasoline, towing, tire damage or any
other incidental or consequential damages incurred by the Purchaser, or any other person or entity. CURT will examine the returned Product. If CURT, in its exclusive discretion, determines that the defect or damaged Product is covered under this limited warranty, CURT will repair the Product or replace it at that time. Alterations to or misuse of the Product will void the warranty. For example, overloading or exceeding an automobile or trailer manufacturers’ weight ratings, or maneuvering motor vehicles equipped with Products at improper rate of speed, shall void the warranty on any of the Products. Failure to properly maintain and regularly inspect the Product according to the specific instruction sheet accompanying each Product shall also void the warranty.
Some states do not allow the exclusion or limitation of incidental or consequential damages. If such exclusions or limitations are prohibited under the applicable law, the above limitation or exclusion may not apply.
This Warranty gives you specific legal rights and you may also have other rights, which vary from state to state.
The Purchaser, when returning a CURT Product, must observe the following steps:
- The Purchaser must have proof of purchase of any damaged Product and supply the same to the headquarters of CURT. The Purchaser must obtain from CURT (toll free number is 877-CURTMFG (877.287.8634)) a Returned Goods Authorization (RGA) number in order to return any damaged Product to CURT for inspection and evaluation under this Limited Warranty.
- The Purchaser must pay all handling charges and shipping costs to deliver Products to CURT and must send the damaged Product along with the RGA number and proof of purchase to CURT at 6208 Industrial Drive, Eau Claire, Wisconsin 54701.
- Upon receipt of damaged Product, CURT will determine whether the damaged Product is covered under the Limited Warranty. If it is, CURT will repair or replace the Product. If the Product is replaced, the Product that is originally returned by the Purchaser shall become the exclusive property of CURT. If the returned Product is not covered under the Limited Warranty, CURT will notify the Purchaser before taking any further action with regard to repair or replacement, which would be at the Purchaser’s cost.
CURT A20 5th Wheel Hitch Head Instruction



































