
INSTALLATION MANUAL
Level of Difficulty
Easy
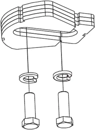
Parts List
| # | Qty | Description |
| 1 | 1 | 5th wheel wedge |
| 2 | 2 | Hex bolt, 5/8″ |
| 3 | 2 | Lock washer, 5/8″ |
Tools Required
| Ratchet | Socket set |
Torque Specifications
| Metric | M6 bolt | 3 ft-lbs. |
| M8 bolt | 7 ft-lbs. | |
| M10 bolt | 16 ft-lbs. | |
| M12 bolt | 28 ft-lbs. | |
| SAE | 1/4″ bolt | 3 ft-lbs. |
| 5/16″ bolt | 7 ft-lbs. | |
| 3/8″ bolt | 16 ft-lbs. | |
| 7/16″ bolt | 20 ft-lbs. | |
| 1/2″ bolt | 28 ft-lbs. |
Use above torque setting unless otherwise noted
WARNING
Never exceed the vehicle manufacturer’s recommended towing capacity.
Product Photos

16991 fits E-series 5th wheel hitch

16992 fits A-series 5th wheel hitches
Notes and Maintenance
Before you begin installation, read all instructions thoroughly.
Proper tools will improve the quality of installation and reduce the time required.
Refer to the table to the left when securing hardware during the installation process to help prevent damage to the product or vehicle.
Before Towing Every Time
Ensure all fasteners are tight and that all structural components are sound.
Note: Do not tow trailer with worn or damaged parts.
Ensure the trailer weight does not exceed any part of the towing system. Be sure load is heavier towards front of the trailer while not exceeding the hitch vertical weight rating. Be sure trailer load is secured to prevent shifting and centered from left to right. Note: Never load the trailer heavier behind the trailer axle(s).
Check tires to ensure they are inflated to the proper specification.
Follow vehicle and trailer recommendations.
Verify trailer lights, electric brakes and breakaway switches are working properly.
Visually confirm the 5th wheel jaws are locked around the trailers king pin.
Always ensure the safety pin is installed on the 5th wheel locking handle before towing.
Product Registration
CURT Group stands behind our products with industry leading warranties.
You can help us continue to improve our product line and help us understand your needs by registering your purchase by visiting:
warranty.curtgroup.com/surveys
At CURT Group, customer is king. We value your feedback and we use that information to make improvements on our products. Please, take a minute and let us know how we are doing.
INSTALLATION
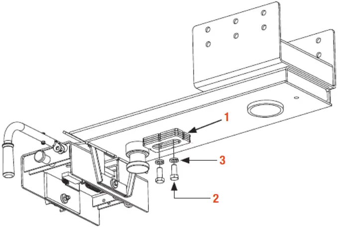
Step 1
Attach the appropriate wedge (#1) to the pin box using two 5/8″ bolts (#2) and two 5/8″ lock washers (#3). Tighten hardware until the lock washers begin to engage.
Apply grease to both sides of the wedge and skid plate.



Step 2
Couple the trailer following the installation manual for the 5th wheel hitch and pin box.
Note: 5th wheel hitch and pin box shown for reference only. See figures, 1 and 2.
Tap the wedge into skid plate as much as possible with a rubber mallet. Tighten one or both bolts if accessible.
Uncouple the trailer following the 5th wheel hitch installation manual. Tighten both 5/8″ bolts to 150 ft. lbs. torque.
CURTMFG.COM • NEED ASSISTANCE? • 877.287.8634 • RB



















