

INSTALLATION INSTRUCTIONS
WARNING: NEVER EXCEED YOUR VEHICLE MANUFACTURER’S RECOMMENDED TOWING CAPACITY
TRUNNION BAR WEIGHT DISTRIBUTION

WEIGHT RATINGS
CAUTION: The tongue weight rating of the spring bars represents the capacity of a pair of bars, not an individual bar. Always use a pair of spring bars and be sure they are of the same weight rating.
| Part# | Gross Trailer Weight | Tongue Weight |
| Without Spring Bars | ||
| 17300 | Not to exceed 6,000 lbs.* | Not to exceed 600 lbs.* |
| 17301 | Not to exceed 8,000 lbs.* | Not to exceed 800 lbs.* |
| 17302 | Not to exceed 10,000 lbs.* | Not to exceed 1,000 lbs.* |
| 17330 | Not to exceed 6,000 lbs.* | Not to exceed 600 lbs.* |
| 17331 | Not to exceed 8,000 lbs.* | Not to exceed 800 lbs.* |
| 17332 | Not to exceed 10,000 lbs.* | Not to exceed 1,000 lbs.* |
| 17333 | Not to exceed 15,000 lbs.* | Not to exceed 1,500 lbs.* |
| 17322 | Not to exceed 10,000 lbs.* | Not to exceed 1,000 lbs.* |
| 17422 | Not to exceed 15,000 lbs.* | Not to exceed 1,500 lbs.* |
| With Spring Bars | ||
| 17300 | 5,000 – 6,000 lbs. | 500 – 600 lbs. |
| 17301 | 6,000 – 8,000 lbs. | 600 – 800 lbs. |
| 17302 | 8,000 – 10,000 lbs. | 800 – 1,000 lbs |
| 17330 | 5,000 – 6,000 lbs. | 500 – 600 lbs. |
| 17331 | 6,000 – 8,000 lbs. | 600 – 800 lbs. |
| 17332 | 8,000 – 10,000 lbs. | 800 – 1,000 lbs |
| 17333 | 10,000 – 15,000 lbs. | 1,000 – 1,500 lbs. |
| 17322 | 8,000 – 10,000 lbs. | 800 – 1,000 lbs |
| 17422 | 10,000 – 15,000 lbs. | 1,000 – 1,500 lbs. |
* When spring bars are not used, the weight rating is dependent upon the trailer ball manufacturer’s weight ratings. Do not exceed the maximum weight rating of the trailer ball.
MAINTENANCE
Keep the socket-mounted ends of the spring bars and the lock pins in the head assembly free from dirt and well-lubricated. Excessive wear in this area may indicate an overload or inadequate lubrication. Keep the head assembly exterior clean. Do not allow dirt or stones to lodge between the spring bars and the head. Keep hitch parts painted to prevent rust and maintain a good appearance. Do not paint over labels. Keep lift brackets clean and lubricated to ensure ease of operation.
WARNINGS
The loaded ball height should never be greater than the uncoupled ball height. Front-wheel overload and loss of rear-wheel traction can result and can lead to unstable handling.
It can reduce braking ability and create a tendency to jackknife when turning or braking at the same time. If the loaded trailer ball height is greater than the uncoupled height, reduce take-up on the spring bar chains, re-measure and adjust until the proper height is obtained.
CAUTION: If the lift chain is angled fore or aft at the top within the lift bracket, it may catch on the bracket when turning. This could damage the lift bracket or pry it open.
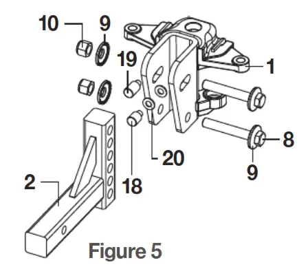
PARTS LIST
| Item# | Qty | Description |
| 1 | 1 | Hitch head |
| 2 | 1 | Adjustable shank bar |
| 3 | 2 | Spring trunnion bar |
| 4 | 2 | Snap-up bracket |
| 5 | 1 | Pipe handle |
| 6 | 2 | Lift chain, 8mm x 400mm |
| 7 | 1 | Bolt, 5/8″ – 11 x 1 1/2″ long |
| 8 | 2 | Hex bolt, 3/4″ – 10 x 5″ long |
| 9 | 4 | Conical washer, 3/4″ |
| 10 | 2 | Nylock nut, 3/4″ -10 |
| 11 | 1 | Hitch pin, 5/8″ x 3″ long |
| 12 | 1 | Clip |
| 13 | 2 | U-bolt, 3/8″ – 16, 3/4″ thread length |
| 14 | 4 | Nylock nut, 3/8″ – 16 |
| 15 | 2 | Bolt, 1/2″ – 13 x 2″ |
| 16 | 2 | Bolt, 1/2″ – 13 x 4″ |
| 17 | 2 | Clip for snap-up bracket |
| 18 | 1 | Adjustment rod, short |
| 19 | 1 | Adjustment rod, long |
| 20 | 2 | Flat washer, 1/2″ |
ASSEMBLY
Measure trailer coupler height
Line up the tow vehicle and trailer on level pavement, in a straight position. Use the trailer tongue jack to level the trailer. Measure the distance from pavement to the top
of the coupler socket and record here
Measure the tow vehicle
For vehicles with air springs, air shocks or automatic leveling systems only, check the vehicle’s owner’s manual or other instructions on these items. Unless otherwise indicated, air springs and air shocks should be deflated to their minimum recommended pressure before assembling and adjusting the weight distributing hitch. Pick reference points on the front and rear bumper of the towing vehicle. Measure and record the height to the pavement.
Front bumper to pavement…………………..
Rear bumper to the pavement……………
Determine the ‘target’ uncoupled ball height for the tow vehicle
Tow vehicle’s uncoupled ball height will be set higher than the coupler height measured in Step 2 to allow for the vehicle to squat when coupled to the trailer.
For passenger cars, add 1/8″ for each 100 lbs. of tongue weight. Record ball height
Install shank, hitch head and ball
Step 1
Insert adjustable shank bar (#2) into receiver tube on tow vehicle and secure with hitch pin & clip (#11, #12). NOTE: To obtain proper ball height on high ground clearance vehicles, the shank may be inverted as shown in Figure 3. If shank is used in the inverted position, check for adequate ground clearance.
Step 2
Select 1 1/4″ threaded-shank hitch ball to match the trailer coupler and load capacity equal to or exceeding the gross trailer weight. Attach the ball to the head assembly (#1) using a lock washer and nut. NOTE: If a 1″ threaded shank hitch ball is desired, a CURT reducer bushing #21101 must be used. (ordered separately)
Step 3
Position head assembly on the shank. Slide head up or down to the nearest bolt hole alignment position which corresponds with the target ball height determined earlier. Mark the position on the shank. See Figure 4.
Step 4
Install washers (#20) over short adjustment rod (#18).
Step 5
Install the head on the shank at the marked position. Insert the 3/4″ -10 x 5 hex bolt (#8) through the 3/4″ conical washer (#9) and then through the lower hole in the head channel. Rotate the head forward as far as it will go. The ball should be vertical or tilted slightly back. If it is not, remove the short adjustment rod (#18) and replace it with the long adjustment rod (#19). You can also change the number of washers on the rod and re-assemble it. Install the remaining 3/4″ -10 x 5″ bolt (#8) with 3/4″ conical washer (#9) through the upper slotted hole. Install a second 3/4″ conical washer (#9) on both bolts. Start 3/4″ -10 (#10) nylock nuts and finger tighten only.
Step 6
Tighten top 3/4″ – 10 x 5 hex bolt (#8) just enough to hold head tight against the pin in the head channel. This bolt will be tightened later.
Step 7
Place head assembly back into hitch assembly on towing vehicle.
Assemble, lubricate and install spring bars
Ensure the lift chains (#6) are assembled to the tapered ends of each spring bar using the 3/8″ U-bolts (#13) and the 3/8″ nylock nuts (#14) as shown below in Figure 6. Let
two or three threads of the U-bolts extend out through the bottom of each locknut. The chain must be free to move in the U-bolt. Apply a heavy, fibrous grease to the top
section of each of the spring bars. Hold the spring bar (#3) perpendicular to the shank (#2) with the trunnion ribbed side up. Insert the bottom knob of the trunnion into the lower pocket of the head assembly (#3) as show in Figure 7 below. Rotate the spring bar up so the top knob of the trunnion passes through the entrance slot in the upper pocket of the head assembly (#3).

Attaching the trailer to the ball
Using the trailer tongue jack, lower the coupler onto the trailer ball and close the coupler latch. Do not retract the jack fully at this time. Allow the jack to support some of the tongue weight.
Raise the front of the trailer and back of the tow vehicle approximately 3″ with a tongue jack. This will allow easier installation of the chains on to the hook of each lift bracket.
Installing the chain lift brackets
The following applies to trailers with an ‘A-frame tongue.
Step 1
Position the spring bar, which has been attached to the hitch head, parallel with the trailer tongue. Hold the lift chain vertical up alongside the trailer tongue. Position the lift bracket on the trailer tongue so that the chain is centered between the lift bracket, as shown below in Figure 8. Some trailers may have an obstruction on one side of the frame. Order the offset lift bracket kit from your local dealer. Follow the installation instructions supplied with that kit for proper installation.
CAUTION: If the chain is angled fore or aft at the top within the lift bracket, it may catch on the lift bracket when the trailer is turning. This could damage the lift bracket or pry it open.
Step 2
Mark the location of the lift bracket on the trailer tongue.
Step 3
Depending on the width of the frame, install a 1/2″ – 13 bolt (#15 or #16) into the threaded hole in the lift bracket. Turn the bolt in until it contacts the trailer tongue, then tighten a 1/4 turn with a wrench. Do not over-tighten. The amount of leveling is adjusted by engaging different spring bar chain links with the lift unit. Follow the steps below in the “Lift bracket operation” section.
Lift bracket operation
Before raising or lowering the lift bracket, raise the front of the trailer to reduce the spring bar chain tension. This will make the lift bracket operation easier and safer.
WARNING: Keep clear of the pivot path of all moving parts when there is tension on the spring bar chain. Maintain control of the lift handle at all times when raising or lowering the spring bar. Be sure that the locking hair pin is in place once lift bracket is in the up position.
To raise lift bracket
Step 1
Slip the marked chain link over the hook on lift bracket. See Figure 9.
Step 2
Insert lift handle onto heavier rod above lift chain attachment.
Step 3
Using the handle, raise the lift bracket up and over center so that it is fully seated against the mounting bracket.
Step 4
Secure by inserting clip through the lift bracket and mounting bracket.
NOTE: Be sure the chain is not twisted and hook extends through the link.
To lower from fully raised and locked position
Step 1
Remove the locking pin from lift bracket.
Step 2
Insert lift handle onto the rod above lift chain attachment.
Step 3
Carefully lower bracket with handle. It will require effort to bring the bracket over the center and then to resist the chain tension as the bracket rotates downward.
Check vehicle height and adjust spring bars if necessary
The vehicle should settle evenly, within 1/2″. Re-measure the front and rear bumper reference points. If the front has settled much more than the rear, increase the number of chain links between the lift bracket and the spring bar. The spring bars should be nearly horizontal when the correct height is achieved. When even settling and correct spring bar position has been achieved, mark the spring bar chain at the hooked position with paint for future hook-up reference.
NOTE: Figures 10 and 11 show the correct and incorrect hook-up positions of the spring bars. To allow movement when turning, there should be at least five links between the lift bracket and the spring bar. The number of links should be the same on both bars. Adjust head tilt to accomplish correct chain length.
Tighten 1/2″ head attachment bolts to 75 ft. lbs. torque.
Failure to tighten bolts may result in fastener loss or failure.
Insert the locking pin through the lift bracket and mounting bracket.
Tighten head fasteners
Tighten 3/4″ bolts and locknuts to 200 ft. lbs.
Tighten set-screw to 50 ft. lbs. Failure to tighten bolts may result in fastener loss or failure. Check all connections before towing
Check the following:
Pin & clip securing shank to receiver
Head to shank fasteners
Trailer ball nut
Coupler latch
Snap-up bracket bolt
Safety chains
Lights and turn signals
The braking system, including the breakaway switch
TOWING TIPS
Driving a tow vehicle
Good habits for normal driving need extra emphasis when towing a trailer. The additional weight of the trailer affects acceleration and braking. Extra time should be allowed for
passing, stopping and changing lanes. Signal well in advance of a maneuver to let other drivers know your intentions. Severe bumps and badly undulating roads can damage your
towing vehicle, hitch and trailer, and should be negotiated at a slow, steady speed. If any part of your towing system bottoms out or if you suspect damage may have occurred in
any way, pull over and make a thorough inspection. Correct any problems before resuming travel.
Check your equipment
Periodically check the condition of all your towing equipment and keep in top condition.
Trailer loading
Proper trailer loading is very important. Heavy items should be placed close to the floor near the trailer axle center line. The load should be balanced side to side and firmly secured in the trailer to prevent shifting. Tongue weight should be 10-15% or the gross trailer weight for most trailers. Too low a tongue weight often produces a tendency to sway.
Sway control
A sway control device is recommended, as it can help minimize the effects of sudden maneuvers, wind gusts and buffeting caused by passing vehicles. Use of a sway control
device is recommended for trailers with a large surface area, such as travel trailers. This head assembly will accept two sway control attachment balls.
Check all trailer to towing vehicle connections for security and operation
Surge brakes require a small amount of fore and aft movement for their actuating mechanism to function correctly. To avoid restricting movement, it may be necessary to increase the number of chain links between the lift brackets and spring bars, by tilting the head down. Tighten the two 3/4″ bolts to 200 ft. lbs. torque once head angle is set.
Surge brake actuators not designed for use with a weight distributing hitch may bind and not operate freely. Check surge brake operating instructions for specific requirements
regarding their use with weight-distributing hitches.
Remove hitch when not towing
Remove weight distribution hitch from the trailer hitch on towing vehicle when not towing a trailer to the reduce chances of striking weight distribution hitch on the driveway or other objects. This also reduces the chance of parts being stolen.
Towing vehicle and trailer manufacturer’s recommendations
Pole tongue trailer
Review the owner’s manual for your towing vehicle and trailer for specific recommendations, capacities and requirements.
If your trailer has a straight (pole) tongue, instead of an A-frame tongue, as shown in the illustrations in this instruction manual, it will be necessary to use a pole tongue adapter for hook up of the weight distributing hitch lift brackets.
Passengers in trailers
Trailers should not be occupied while being towed.
Most states enforce this regulation.
Trailer lights, turn signals and electric brakes Always hook up all of the trailer lights, electric brakes and break-away switch connections whenever the trailer is being towed.
Tire inflation
Unless specified by the towing vehicle or trailer manufacturer, tires should be inflated to their maximum recommended pressure.
At the beginning of every tow day Coat the clevis pins in the head assembly with fibrous grease.
Clean ball and coupler socket. Coat ball lightly with grease.
Check spring bar chains and U-bolts for wear and security.
Replace if they become worn.
Check to see that all trailer balls are properly tightened and that the locking pins in the lift brackets are securely in place. Also, check that the hitch pin is in place and secure.
Check to see that all electrical hook-ups are in working order and that the security chains are securely connected.
NOTES
Some states require a clear view of license plates. Remove trailer ball when not in use if it restricts view. This product complies with regulation V-5, C.S.A. Standard D-264 and safety requirements for connecting devices and towing systems of the State of New York.
PAGE 5 • 1.877.
287.863
4 • NEED ASSISTANCE? • CURTMFG.COM



















