Trekkrunner GM-200 Weight Bench

Product Information
WEIGHT BENCH GM-200
The Weight Bench GM-200 is an exercise machine built for optimum safety. This bench is designed to help you perform various exercises that target different muscle groups. The bench comes with a hardware pack, assembly instructions, parts list, and warranty for your convenience.
Safety Notice
Please read all instructions carefully before using this product. Keep children and pets away from the machine at all times. Only one person at a time should use the machine. If you experience dizziness, nausea, chest pain, or any other abnormal symptoms while exercising, stop and consult your physician. This is especially important for individuals over the age of 35 or persons with pre-existing health problems.
Product Hardware Pack
The hardware pack includes two adjustable wrenches and one Philips screwdriver. It is strongly recommended that two or more people assemble this machine to avoid possible injury.
Product Assembly Instructions
Assembling the machine requires the following tools: two adjustable wrenches and one Philips screwdriver.
- Connect the Front Support (#5) to the Main Seat Support (#3). Secure the front hole position.
- Attach the Backrest Board (#8) to the Backrest Supports (#7). Then attach the Backrest Adjustment Bar (#11) to the Backrest Supports (#7).
- Attach the hole-side of Backrest Supports (#7) to the pivot on the Main Seat Support (#3).
- Insert two Foam Tubes (#13) halfway through the holes on the Leg Developer (#6). Push four Foam Rolls (#12) onto the Tubes.
It is strongly recommended that two or more people assemble this machine to avoid possible injury. Refer to the exploded diagram and parts list for further assistance.
Parts List
| KEY NO. | DESCRIPTION | Q’ty |
|---|---|---|
| 1 | Upright Beam | 2 |
| 2 | Cross Brace | 1 |
| 3 | Main Seat Support | 1 |
| 4 | Diagonal Support | 1 |
| 5 | Front Support | 1 |
| 6 | Leg Developer | 1 |
| 7 | Backrest Support | 2 |
| 8 | Backrest Board | 1 |
| 9 | Seat | 1 |
| 10 | Bracket | 3 |
| 11 | Backrest Adjustment Bar | 1 |
| 12 | Foam Roll | 4 |
| 13 | Foam Tube | 2 |
| 14 | Rubber Bumper | 1 |
| 15 | M8 x 2 3/8 Hex Bolt | 4 |
| 16 | Square End Cap | 1 |
Retain this manual for reference. If you have any questions or find there are missing or damaged parts, we guarantee you complete satisfaction through direct assistance from our factory.
BEFORE YOU BEGIN
Thank you for selecting the Bench GM-200. For your safety and benefit, read this manual carefully before using the machine. As a manufacturer, we are committed to provide you complete customer satisfaction. If you have any questions, or find there are missing or damaged parts, we guarantee you complete satisfaction through direct assistance from our factory.
IMPORTANT SAFETY NOTICE
PRECAUTIONS
This exercise machine is built for optimum safety. However, certain precautions apply whenever you operate a piece of exercise equipment. Be sure to read the entire manual before you assemble or operate your machine. In particular, note the following safety precautions:
- Keep children and pets away from the machine at all times. DO NOT leave children unattended in the same room with the machine.
- Only one person at a time should use the machine.
- If the user experiences dizziness, nausea, chest pain, or any other abnormal symptoms, STOP the workout at once. CONSULT A PHYSICIAN IMMEDIATELY.
- Position the machine on a clear, leveled surface. DO NOT use the machine near water or outdoors.
- Keep hands away from all moving parts.
- Always wear appropriate workout clothing when exercising. DO NOT wear robes or other clothing that could become caught in the machine. Running or aerobic shoes are also required when using the machine.
- Use the machine only for its intended use as described in this manual. DO NOT use attachments not recommended by the manufacturer.
- Do not place any sharp object around the machine.
- Disabled person should not use the machine without a qualified person or physician in attendance.
- Before using the machine to exercise, always do stretching exercises to properly warm up.
- Never operate the machine if the machine is not functioning properly.
- A spotter is recommended during exercise.
WARNING: BEFORE BEGINNING ANY EXERCISE PROGRAM, CONSULT YOUR PHYSICIAN. THIS IS ESPECIALLY IMPORTANT FOR INDIVIDUALS OVER THE AGE OF 35 OR PERSONS WITH PRE-EXISTING HEALTH PROBLEMS. READ ALL INSTRUCTIONS BEFORE USING ANY FITNESS EQUIPMENT.
Hardware Pack 
ASSEMBLY INSTRUCTION
Tools Required Assembling the Machine: Two Adjustable Wrenches and One Philips Screwdriver.
NOTE: It is strongly recommended two or more people assembling this machine to avoid possible injury.
STEP 1 (See Diagram 1)
- A.) Connect the Front Support (#5) to the Main Seat Support (#3). Secure the front hole with one M8 x 1 5/8” Carriage Bolt (#28), Ø5/8” Washer (#26), and M8 Aircraft Nut (#24). Secure the other hole with one M8 x 1 ¾” Carriage Bolt (#29), Diagonal Support (#4), Ø5/8” Washer (#26), and M8 Aircraft Nut (#24).
- B.) Secure the other end of Diagonal Support (#4) to the Front Support (#5) with one M8 x 2 1/8” Hex Bolt (#30), Ø5/8” Washer (#26) and M8 Aircraft Nut (#24).
- C.) Connect the Main Seat Support (#3) to the Cross Brace (#2). Secure it with four M8 x 2 3/8” Hex Bolts (#18), one Bracket (#10), four Ø5/8” Washers (#26), and four M8 Aircraft Nuts (#24).

STEP 2 (See Diagram 2)
- A.) Place the Cross Brace (#2) in the mid-span of the two Upright Beams (#1).
- B.) Secure each end of the Cross Brace with two M8 x 2 ½” Hex Bolts (#20), one Bracket (#10), two Ø5/8” Washers (#26), and two M8 Aircraft Nuts (#24).
- C.) Insert the Backrest Adjustment Bar (#11) through the selected holes for desired incline position.

STEP 3 (See Diagram 3)
- A.) Attach the hole-side of Backrest Supports (#7) to the pivot on the Main Seat Support (#3). Place the other end of Backrest Supports rest against the Backrest Adjustment Bar (#11).
- B.) Place the Backrest Board (#8) onto the Backrest Supports (#7). Secure it with four M6 x 1 5/8” Hex Bolts (#23) and ½” Washers (#25).
- C.) Place the Seat (#9) onto the Main Seat Support (#3). Secure it with four M6 x 5/8” Philips Screws (#22) and ½” Washers (#25).

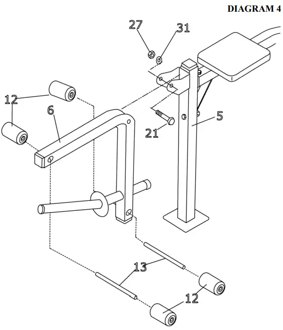
STEP 4 (See Diagram 4)
- A.) Attach the Leg Developer (#6) to the open bracket on the Front Support (#5). Secure it with one M10 x 2 3/8” Hex Bolt (#21), ¾” Washer (#31), and M10 Aircraft Nut (#27).
- B.) Insert two Foam Tubes (#13) halfway through the holes on the Leg Developer. Push four Foam Rolls (#12) onto the Tubes.

EXPLODED DIAGRAM 
PARTS LIST KEY NO/ DESCRIPTION/ Q’ty
- Upright Beam 2
- Cross Brace 1
- Main Seat Support 1
- Diagonal Support 1
- Front Support 1
- Leg Developer 1
- Backrest Support 2
- Backrest Board 1
- Seat 1
- Bracket 3
- Backrest Adjustment Bar 1
- Foam Roll 4
- Foam Tube 2
- Ø ¾” End Cap 4
- Ø 1” End Cap 3
- Rubber Bumper 1
- 1 ½” Square End Cap 3
- M8 x 2 3/8” Hex Bolt 4
- 1” Square End Cap 4
- M8 x 2 ½” Hex Bolt 4
- M10 x 2 3/8” Hex Bolt 1
- M6 x 5/8” Philips Screw 4
- M6 x 1 5/8” Hex Bolt 4
- M8 Aircraft Nut 11
½” Washer 8
5/8” Washer 11- M10 Aircraft Nut 1
- M8 x 1 5/8” Carriage Bolt 1
- M8 x 1 ¾” Carriage Bolt 1
- M8 x 2 1/8” Hex Bolt 1
- Ø ¾” Washer 1
NOTE:
Please read all instructions carefully before using this product
























