![]()
Trekkrunner GM-280 Power Bench Squat Rack Owner’s Manual

NOTE:
Please read all instructions carefully before using this product
Model No.:
GM-280
BEFORE YOU BEGIN
Thank you for selecting the GM-280 Power Bench Squat Rack. For your safety and benefit, read this manual carefully before using the machine. As a manufacturer, we are committed to provide you complete customer satisfaction. If you have any questions, or find there are missing or damaged parts, we guarantee you complete satisfaction through direct assistance from our factory.
IMPORTANT SAFETY NOTICE
PRECAUTIONS
This exercise machine is built for optimum safety. However, certain precautions apply whenever you operate a piece of exercise equipment. Be sure to read the entire manual before you assemble or operate your machine. In particular, note the following safety precautions:
A.Keep children and pets away from the machine at all times. DO NOT leave children unattended in the same room with the machine.
B.Only one person at a time should use the machine.
C.If the user experiences dizziness, nausea, chest pain, or any other abnormal symptoms, STOP the workout at once. CONSULT A PHYSICIAN IMMEDIATELY.
D.Position the machine on a clear, leveled surface. DO NOT use the machine near water or outdoors.
E.Keep hands and feet away from all moving parts.
F. Always wear appropriate workout clothing when exercising. DO NOT wear robes or other clothing that could become caught in the machine. Running or aerobic shoes are also required when using the machine.
G.Use the machine only for its intended use as described in this manual. DO NOT use attachments not recommended by the manufacturer.
H.Do not place any sharp object around the machine.
I. Disabled person should not use the machine without a qualified person or physician in attendance.
J. Before using the machine to exercise, always do stretching exercises to properly warm up.
K.Never operate the machine if the machine is not functioning properly.
L. A spotter is recommended during exercise.
CARE AND MAINTENANCE
M.Lubricate moving parts with WD-40 or light oil periodically.
N.Inspect and tighten all parts before using the machine.
O.The machine can be cleaned using a damp cloth and mild non-abrasive detergent. DO NOT use solvents.
P.Maximum weight capacity: 130Kgs.
WARNING: BEFORE BEGINNING ANY EXERCISE PROGRAM, CONSULT YOUR PHYSICIAN. THIS IS ESPECIALLY IMPORTANT FOR INDIVIDUALS OVER THE AGE OF 35 OR PERSONS WITH PRE-EXISTING HEALTH PROBLEMS. READ ALL INSTRUCTIONS BEFORE USING ANY FITNESS EQUIPMENT. WE ASSUME NO RESPONSIBILITY FOR PERSONAL INJURY OR PROPERTY DAMAGE SUSTAINED BY OR THROUGH THE USE OF THIS PRODUCT.
SAVE THESE INSTRUCTIONS.
HARDWARE IDENTIFIER
NOTE: The following parts are not drawn to scale. Please use your own ruler to measure the size.

ASSEMBLY INSTRUCTION
Tools Required Assembling the Machine: Two Adjustable Wrenches and Allen Wrenches
NOTE: It is strongly recommended two or more people assembling this machine to avoid possible injury. Do not tighten all the bolts and nuts until getting instruction.
STEP 1 (See Diagram 1)
A. Attach the upright beam (#2) to the stabilizer (#1), and secure them with one flat connection (#9), two M10×90mm carriage bolts (#18), two Ø10 washers (#23), two M10 aircraft nuts (#21). And then secure them horizontally with two M10×70mm carriage bolts (#19), two Ø10 washers (#23), M10 two aircraft nuts (#21) again.
B. Attach the curved end of the right support (#4) to the upright beam (#2), and secure them with curved bracket (#10), two M10×95mm carriage bolts (#17), two Ø10 washers (#23), two M10 aircraft nuts (#21). Attach the other end of the right support (#4) to the stabilizer (#1). Then secure them with one flat connection (#9), two M10×90mm carriage bolts (#18), two Ø10 washers (#23), two M10 aircraft nuts (#21).

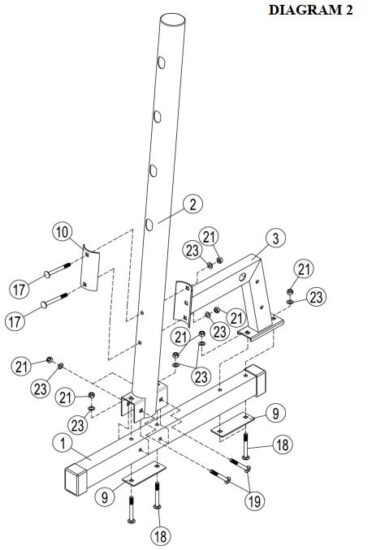
STEP 2 (See Diagram 2)
A. Repeat the same method of diagram 1 to install the stabilizer (#1), upright beam (#2), and left support (#3).

STEP 3 (See Diagram 3)
A. Attach the cross beam (#5) to the right support (#4). Secure them with two M10×60mm carriage bolts (#20), one flat connection (#9), two Ø10 washers (#23), two M10 aircraft nuts (#21).
B. Repeat the same method to attach the end of the cross beam (#5) to the left support (#3) and install them.

STEP 4 (See Diagram 4)
A. Attach the weight poster (#6) to the left triangle support (#3), align the hole, secure them with one M10×25mm Allen bolt (#22) and one Ø10mm washer (#23). Place the sleeve (#13) and spring clip (#16) onto the weight poster (#6).
B. Repeat the same method to install the other.
DIAGRAM 4

STEP 5 (See Diagram 5)
A. Attach the two short crunchs (#8) to the hole of the upright beam (#2).
B. Attach the two long crunchs (#7) to the hole of the upright beam (#2).
Make sure place the bulge of the crunch into the holes entirely when exercising .
Tighten all the bolts and nuts when finishing assembling
DIAGRAM 5

Exploded Diagram

PARTS LIST


Read More About This Manual & Download PDF:

















