CURT 17053 Deep Drop Trunnion Weight Distribution Hitch

WEIGHT RATINGS
CAUTION: The tongue weight rating of the spring bars represents the capacity of a pair of bars, not an individual bar. Always use a pair of spring bars and be sure they are of the same weight rating.
MAINTENANCE
- Keep the socket-mounted ends of the spring bars and the lock pins in the head assembly free from dirt and well lubricated. Excessive wear in this area may indicate an overload or inadequate lubrication.
- Keep the head assembly exterior clean. Do not allow dirt or stones to lodge between the spring bars and the head.
- Keep hitch parts painted to prevent rust and maintain good appearance. Do not paint over labels.
- Keep lift brackets clean and lubricated to ensure ease of operation.
WARNINGS
The loaded ball height should never be greater than the uncoupled ball height. Front wheel overload and loss of rear wheel traction can result and can lead to unstable handling. It can reduce braking ability and create a tendency to jackknife when turning and braking at the same time.
If the loaded trailer ball height is greater than the uncoupled height, reduce take-up on the spring bar chains, remeasure and adjust until the proper height is obtained.
CAUTION: If the lift chain is angled fore or aft at the top within the lift bracket, it may catch on the bracket when turning. This could damage the lift bracket or pry it open.
PARTS LIST
Item# : Qty : Description
- 1 Hitch head
- 1 Adjustable shank
- 2 Spring round bar
- 2 Snap-up bracket
- 1 Pipe handle
- 2 Lift chain, 8mm x 400mm
- 1 Reducer bushing, 1 1/4″ to 1″
- 2 Hex bolt, 3/4″ – 10 x 4 1/2″ long
- 2 Conical washer, 3/4″
- 2 Nylock nut, 3/4″ – 10
- 1 Hitch pin, 5/8″ x 3″ long
- 1 Clip
- 2 U-bolt, 3/8″ – 16, 3/4″ thread length
- 4 Nylock nut, 3/8″ – 16
- 4 Washer, 3/8″
- 2 Bolt, 1/2″ – 13 x 3 3/4″
- 2 Clip for snap-up bracket
- 1 Pin
- 7 Flat washer, 1/2″
ASSEMBLY
Measure trailer coupler height
Line up the tow vehicle and trailer on level pavement, in a straight position. Use the trailer tongue jack to level the trailer. Measure the distance from pavement to the top of the coupler socket and record here
Measure the tow vehicle
Pick reference points on the front and rear bumper of the towing vehicle. Measure and record height to pavement.
- Front bumper to pavement————–
- Rear bumper to pavement————
For vehicles with air springs, air shocks or automatic leveling systems only, check the vehicle’s owners manual or other instructions on these items. Unless otherwise indicated, air springs and air shocks should be deflated
to their minimum recommended pressure before assembling and adjusting the weight distributing hitch.
Determine the ‘target’ uncoupled ball height for the tow vehicle
Tow vehicle’s uncoupled ball height will be set higher
than the coupler height measured in Step 2 to allow
for vehicle squat when coupled to trailer.
For passenger cars, add 1/8″ for each 100 lbs. of tongue weight. Record ball height
Install shank, hitch head and ball
- Step 1
Insert adjustable shank (#2) into receiver tube on tow vehicle and secure with hitch pin & clip (#11, #12).
NOTE: To obtain proper ball height on high ground clearance vehicles, shank may be inverted as shown in Figure 3. If shank is used in the inverted position, check for adequate ground clearance.
- Step 2
Select 1 1/4″ threaded-shank hitch ball to match trailer coupler and load capacity equal to or exceeding the gross trailer weight. Attach the ball to the head assembly (#1) using a lock washer and nut. NOTE: If a 1″ threaded shank hitch ball is desired, the reducer bushing (#7) must be used. - Step 3
Position head assembly on shank. Slide head up or down to the nearest bolt hole alignment position which corresponds with the target ball height determined earlier. Mark the position on the shank. See Figure 4.
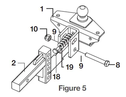
- Step 4
Place six 1/2″ flat washers (#19) on pin (#18) and insert pin into the unthreaded hole in the upper portion of the head channel. See Figure 5. The number of washers may have to be adjusted later.
- Step 5
Install the head on the shank at marked position. Insert the 3/4″ – 10 x 4 1/2″ hex bolt (#8) through the lower hole in the head channel. Rotate the head forward as far as it will go. The ball should be vertical or tilted slightly back. If it is not, remove the 3/4″ bolt, change the number of washers on the pin and re-assemble. Install the remaining 3/4″ – 10 x 4 1/2″ bolt (#8) with 3/4″ conical washers (#9) through the upper slotted hole. Start 3/4″ nylock nuts (#10) and finger tighten only. - Step 6
Tighten lower 5/8″ hex bolt below the pin just enough to hold head tight against the pin in the head channel. This bolt will be tightened later. - Step 7
Place head assembly into hitch assembly on towing vehicle and secure it with the supplied pin (#11) and clip (#12).
Assemble, lubricate and install spring bars
Ensure the lift chains (#6) are assembled to the tapered ends of each spring bar (#3) using the 3/8″ U-bolts (#13), 3/8″ washers (#15) and the 3/8″ nylock nuts (#14) as shown below in Figure 6. Let two or three threads of the U-bolts extend out through the bottom of each locknut. The chain must be free to move in the U-bolt. Apply a heavy, fibrous grease on the round end of each spring bar and push end up into the head socket until you hear a click, as shown below in Figure 7. Keep the spring bars lubricated. If additional grease is needed during operation, use the grease zerk. This will indicate that the spring bar is locked into place. To release spring bar, lift up slightly on spring bar and gently pull out on the retaining pin in the hitch head. The spring bar will drop free of the hitch head.
Attaching the trailer to the ball
Using the trailer tongue jack, lower the coupler onto the trailer ball and close coupler latch. Do not retract jack fully at this time. Allow the jack to support some of the tongue weight.
Raise the front of the trailer and back of the tow
vehicle approximately 3″ with tongue jack. This will allow easier installation of the chains on to the hook of each lift bracket.
Installing the chain lift brackets
The following applies to trailers with an ‘A’ frame tongue.
- Step 1
Position the spring bar, which has been attached to
the hitch head, parallel with the trailer tongue. Hold the lift chain vertical up alongside the trailer tongue. Position the lift bracket on the trailer tongue so that the chain is centered between the lift bracket, as shown below in Figure 8. Some trailers may have an obstruction on
one side of the frame. Order the offset lift bracket kit from your local dealer. Follow the installation instructions supplied with that kit for proper installation.
CAUTION: If chain is angled fore or aft at the top within the lift bracket, it may catch on the lift bracket when trailer is turning. This could damage the lift bracket or pry it open.
- Step 2
Mark the location of the lift bracket on the trailer tongue. - Step 3
Install the 1/2″ – 13 x 3 3/4″ bolt (#16) into the threaded hole in the lift bracket. Turn the bolt in until it contacts the trailer tongue, then tighten a 1/4 turn with a wrench. Do not overtighten.
The amount of leveling is adjusted by engaging different spring bar chain links with the lift unit. Follow the steps below in the “Lift Bracket Operation” section.
Lift bracket operation
Before raising or lowering the lift bracket, raise the front
of the trailer to reduce the spring bar chain tension. This will make the lift bracket operation easier and safer.
WARNING: Keep clear of the pivot path of all moving parts when there is tension on the spring bar chain. Maintain control of the lift handle at all times when raising or lowering the spring bar. Be sure that the locking hair pin is in place once lift bracket is in the up position.
To raise lift bracket
- Step 1
Slip the marked chain link over the hook on lift bracket. See Figure 9. - Step 2
Insert lift handle onto lift bracket rod above lift chain hook, as shown in Figure 9. - Step 3
Using the handle, raise the lift bracket up and over center so that it is fully seated against the mounting bracket. - Step 4
Secure by inserting clip through the lift bracket and mounting bracket. NOTE: Be sure the chain is not twisted and hook extends through the link.
To lower from fully raised and locked position
- Step 1
Remove the locking pin from lift bracket. - Step 2
Insert lift handle onto the rod above lift chain attachment. - Step 3
Carefully lower bracket with handle. It will require effort to bring the bracket over center and then to resist the chain tension as the bracket rotates downward.
Check vehicle height and adjust spring bars if necessary
Vehicle should settle evenly, within 1/2″. Re-measure the front and rear bumper reference points. If the front has settled much more than the rear, increase the number of chain links between the lift bracket and the spring bar. The spring bars should be nearly horizontal when correct height is achieved.
When even settling and correct spring bar position have been achieved, mark the spring bar chain at the hooked position with paint for future hook up reference.
NOTE: Figures 10 and 11 show the correct and incorrect hook-up position of the spring bars. To allow movement when turning, there should be at least five links between the lift bracket and the spring bar. The number of links should be the same on both bars. Adjust head tilt to accomplish correct chain length.
Tighten 1/2″ head attachment bolts to 75 ft. lbs. torque. Failure to tighten bolts may result in fastener loss or failure.
Insert the locking pin through the lift bracket and mounting bracket.
Tighten head fasteners
- Tighten 3/4″ bolts and locknuts to 200 ft. lbs.
- Tighten 5/8″ hex head set-screw to 50 ft. lbs.
- Failure to tighten bolts may result in fastener loss or failure.
Check all connections before towing
Check the following:
- Pin & clip securing shank to receiver
- Head to shank fasteners
- Trailer ball nut torque
- Coupler latch
- Snap-up bracket bolt
- Safety chains
- Lights and turn signals
- Braking system, including breakaway switch
TOWING TIPS
Driving a tow vehicle
Good habits for normal driving need extra emphasis when towing a trailer. The additional weight of the trailer affects acceleration and braking. Extra time should be allowed for passing, stopping and changing lanes. Signal well in advance of a maneuver to let other drivers know your intentions. Severe bumps and badly undulating roads can damage your towing vehicle, hitch and trailer, and should be negotiated at a slow, steady speed. If any part of your towing system bottoms out or if you suspect damage may have occurred in any way, pull over and make a thorough inspection. Correct any problems before resuming travel.
Check your equipment
Periodically check the condition of all your towing equipment and keep in top condition.
Trailer loading
Proper trailer loading is very important. Heavy items should be placed close to the floor near the trailer axle center line. The load should be balanced side to side and firmly secured in the trailer to prevent shifting. Tongue weight should be 10-15% or the gross trailer weight for most trailers. Too low a tongue weight often produces tendency to sway.
Sway control
A sway control device is recommended, as it can help minimize the effects of sudden maneuvers, wind gusts and buffeting caused by passing vehicles. Use of a sway control device is recommended for trailers with a large surface area, such as travel trailers. This head assembly will accept two sway control attachment balls.
Check all trailer to towing vehicle connections for security and operation
Surge brakes require a small amount of fore and aft movement for their actuating mechanism to function correctly. To avoid restricting movement, it may be necessary to increase the number of chain links between the lift brackets and spring bars, by tilting the head down. Tighten the two 3/4″ bolts to 200 ft. lbs. torque once head angle is set.
Surge brake actuators not designed for use with a weight distributing hitch may bind and not operate freely. Check surge brake operating instructions for specific requirements regarding their use with weight distributing hitches.
Remove hitch when not towing
Remove weight distribution hitch from the trailer hitch on towing vehicle when not towing a trailer to the reduce chances of striking weight distribution hitch on the driveway or other objects. This also reduces the chance of parts being stolen.
Towing vehicle and trailer manufacturer’s recommendations
Review the owner’s manual for your towing vehicle and trailer for specific recommendations, capacities and requirements.
Pole tongue trailer
If your trailer has a straight (pole) tongue, instead of an A-frame tongue, as shown in the illustrations in this instruction manual, it will be necessary to use a pole tongue adapter for hook up of the weight distributing hitch lift brackets.
Passengers in trailers
Trailers should not be occupied while being towed. Most states enforce this regulation. Trailer lights, turn signals and electric brakes
Always hook up all of the trailer lights, electric brakes and break-away switch connections whenever trailer is being towed.
Tire inflation
Unless specified by the towing vehicle or trailer manufacturer, tires should be inflated to their maximum recommended pressure.
At the beginning of every tow day
Coat the clevis pins in head assembly with a fibrous grease.
Clean ball and coupler socket. Coat ball lightly with grease.
Check spring bar chains and U-bolts for wear and security. Replace if they become worn.
Check to see that all trailer balls are properly tightened
and that the locking pins in the lift brackets are securely in place. Also, check that the hitch pin is in place and secure.
Check to see that all electrical hook-ups are in working order and that the security chains are securely connected.
NOTES
- Some states require a clear view of license plates.
- Remove trailer ball when not in use if it restricts view.
- This product complies with regulation V-5, C.S.A.
- Standard D-264 and safety requirements for connecting devices and towing systems of the State of New York.
























