
INSTALLATION MANUAL
6” Projector Mount
PSM001-W, PSM001-B


Supplied Parts List

Step 1

Step 2

Step 3
Option A Wood Stud
Mark the position with your Bubble Level & pencil on the wall. Drill 3/16″(4.5mm) diameter x 2”(50mm) length holes at the marked position, attach the mount to wood stud, and tighten using Bolt D and Washer C with a screwdriver. (Screwdriver not included).
Option B Concrete/brick Wall
Mark the position with your Bubble Level & pencil on the concrete wall. Drill 5/16″(8mm) diameter x 2.2″(55mm) length holes at the marked position, Insert Anchors E and attach the mount to the wall and tighten using Bolt D and Washer C with a screwdriver. (Screwdriver not included)

Installation Options
Option A Wall Installation

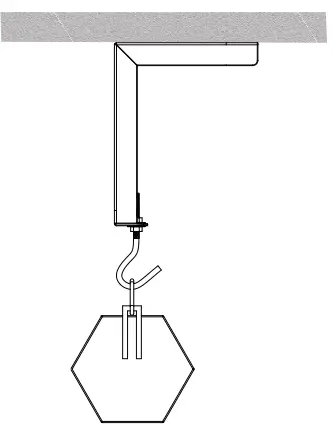
Option B Ceiling Installation
Securely mounts to wood stud, brick, or concrete ceilings. Can NOT mount to drywall.
















