PERLESMITH PSMS1 Manual Pull-Down Projector Screen
Thank you for choosing this PERLESMITH product! At PERLESMITH we strive to provide you with the best quality products and services in the industry. Should you have any issues, please don’t hesitate to contact us at
Maintaining Your Screen:
Keep a screen in a dry environment when not in use. Do not fold the screen fabric and make sure the screen is clean before storing. Keep screen surface away from sharp objects, liquids, smog, chemical and high temperature. Please note that when closing, don’t let the screen go into the bracket too fast in case any damage be made. After using, please put the screen back to its original place to protect the screen against dust or stains.
Thank you again for choosing this PERLESMITH product!
All of us at PERLESMITH do appreciate your product purchase. We hope that you are as happy with your product as we designing and manufacturing it for you. We strive to provide you with the best quality products and services in the industry. If you have any questions please don’t hesitate to contact us at Technical Support: 1-800-556-6806 Mon-Fri 8am – 8pm(CST} Other Info: [email protected](US} [email protected](CA}
Mounting Instructions:
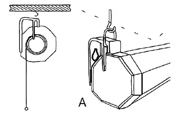
Ceiling Mounting: Mount the screen using ceiling hooks.(Diagram A)
Wall Mounting:
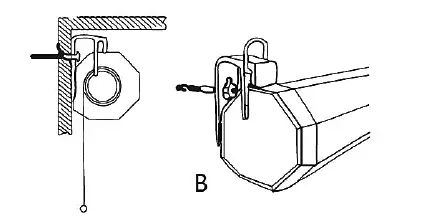
Mount the screen using screws and wall anchors.(diagram)
Make sure the screen housing is level to ensure screen material will roll out smoothly.
Using Methods:
Pulling down
Pull down the handle of the screen gently to a suitable position, then pause for a while until it is locked automatically.(lf it is not locked automatically, please try again)
Closing the screen
Pull the handle down a little to unlock the screen and then let the screen go upwards naturally until it goes back into the bracket finally.
Please note that when closing, don’t let the screen go into the bracket too fast to cause damage.



















