V I V O MOUNT-VP01B Black Projector Ceiling Mount

The Black Projector Ceiling Mount SKU: MOUNT-VP01B is a reliable and sturdy mount for your projector. With a weight capacity of 30lbs (13.61kg), it can hold a wide range of projectors with ease.
Product Usage
Pre-Assembly
Before beginning the assembly, ensure that you have all the necessary tools and hardware. The tools required are a Phillips screwdriver, drill, and a 4mm Allen wrench. Also, ensure that you have all the parts required for assembly as per the package contents list provided in the manual.
Assembly
Follow the step-by-step instructions provided in the manual to assemble the mount. If you face any difficulties, contact customer support at [email protected] or call us at 309-278-5303.
Mounting
Ensure that you do not exceed the weight capacity of the mount. Also, do not install the mount into drywall alone. Verify your ceiling construction and use wood studs to mount. If unsure, contact us at vivo-us.com, email us at [email protected], or call us at 309-278-5303.
Maintenance
Ensure that the mount is cleaned periodically to prevent dust or debris buildup. Do not use any abrasive cleaners or solvents to clean the mount. If you face any issues with the mount, contact customer support.
Package Contents
- A (x1) Ceiling Mount
- B (x1) Mounting Bracket
- M-A (x4) M3x8mm Screw
- M-B (x4) M4x10mm Screw
- M-C (x4) M5x10mm Screw
- M-D (x4) M6x10mm Screw
- M-E (x4 )M3 OD-10 Washer
- M-F (x4) M4 OD-10 Washer
- M-G (x4) M5 OD-12 Washer
- M-H (x4) M6 OD-12 Washer
- M-I (x2) M5x12mm Screw
- M-J (x2) M5 OD-10 Washer
- M-K (x2) M5 OD-10 Plastic Washer
- W-A (x4) ST6x56mm Screw
- W-B (x4) Concrete Anchor
- W-C (x4) M6 OD-16 Washer
- T-A (x1) 4mm Allen Wrench
Product Warranty and Support
The product comes with a warranty, the details of which can be found on our website. In case of any issues or queries related to the product, feel free to contact our customer support team at [email protected] or call us at 309-278-5303. We provide immediate assistance with rapid response times from customer service agents and product technicians to help you every step of the way.
Important Safety Information
- If you do not understand the assembly instructions or have any doubts about the safety of the installation, please call a qualified technician.
- Check carefully to make sure there are no missing or defective parts. Improper installation may cause damage or serious injury.
- Do not use this product for any purpose that is not explicitly specified in this manual.
- Do not exceed weight capacity. We cannot be liable for damage or injury caused by improper mounting, incorrect assembly, or inappropriate use.
- Small parts included in the package can be a choking hazard for children under 3 years. Adult supervision is required.
Returns
If the product doesn’t work out for you, we offer a hassle-free 30-day return policy. Contact customer support at [email protected] or call us at 309-278-5303. Please note that for items ordered in error or no longer needed, the return shipping charges will be at the buyer’s expense.
PRE-ASSEMBLY | BEFORE YOU BEGIN
f you do not understand these directions, or if you have any doubts about the safety of the installation, please call a qualified technician. Check carefully to make sure there are no missing or defective parts. Improper installation may cause damage or serious injury. Do not use this product for any purpose that is not explicitly specified in this manual. Do not exceed weight capacity. We cannot be liable for damage or injury caused by improper mounting, incorrect assembly or inappropriate use.
WARNING: CHOKING HAZARD
SMALL PARTS – NOT FOR CHILDREN UNDER 3 YEARS. ADULT SUPERVISION IS REQUIRED.
TIPOVER WARNING
- SERIOUS OR FATAL CRUSHING INJURIES CAN OCCUR FROM TIPOVER. TO HELP PREVENT TIPOVER:
- NEVER ALLOW CHILDREN TO CLIMB, STAND, HANG, OR PLAY ON ANY PART OF THE TV OR TV CART.
- USE TIPOVER RESTRAINT OR ANCHOR STAND TO WALL
USE OF TIPOVER RESTRAINTS MAY ONLY REDUCE, BUT NOT ELIMINATE RISK OF TIPOVER.
WEIGHT CAPACITY
DO NOT EXCEED WEIGHT CAPACITY. Failure to do so may result in serious injury.
![]()
- Product Warranty
For the most up-to-date details on your product’s warranty, please visit the product’s listing on our website or reach out to customer support. vivo-us.com/products/mount-vp01b. - Returns | Product Didn’t Work Out?
We offer a hassle-free 30-day return on all products. Contact customer support at 309-278-5303 or [email protected]. Please note: For items ordered in error or no longer needed, the return shipping charges will be at the buyer’s expense.
TOOLS NEEDED

PACKAGE CONTENTS
Please consult the parts list below and ensure you have everything you need to assemble your product. If parts are missing or damaged, please contact us.

NOTE: SOME HARDWARE INCLUDED MAY NOT BE USED
| WASHER SPECIFICATION KEY | |
| M | Compatible Screw Size |
| OD | Outside Diameter |
CAUTION!
DO NOT INSTALL INTO DRYWALL ALONE. VERIFY YOUR CEILING CONSTRUCTION. USE WOOD STUDS TO MOUNT. We include mounting for brick and concrete If unsure, please contact us at vivo-us.com. email at [email protected]. or call us at 309-278-5303.
ASSEMBLY STEPS
STEP 1: Cable Management
OPTION A: Above Ceiling Cable Management If cables will be hidden above the ceiling, route cables through a large opening in Ceiling Mount (A).
OPTION B: Below Ceiling Cable Management If cables are located below the ceiling, route cables through the side of Ceiling Mount (A).

STEP 2: Installing the Ceiling Mount
OPTION A: Wood Ceiling Joist Installation Align holes in Ceiling Mount (A) with wood ceiling joist and mark drilling locations. Use of a stud finder is recommended for finished ceilings. Drill 55mm (2.2”) deep holes using 4.5mm or 3/16” drill bit. Secure Ceiling Mount (A) to stud using ST6x56mm Screws (W-A) with M6 OD-16 Washers
(W-C). Do not use Concrete Anchors (W-B).
OPTION B: Concrete Ceiling Installation Mark drilling locations in ceiling. Drill 60mm (2.4”) deep holes using 10mm or 3/8” drill bit. Press Concrete Anchors (W-B) into drilled holes, and secure Ceiling Mount (A) to ceiling using ST6x56mm Screws (W-A) and M6 OD-16 Washers (W-C).

STEP 3: Securing the Projector
Align arms on Mounting Bracket (B) with mounting holes in projector, and secure to projector using Screws (M-A through M-D) and Washers (M-E through M-H) most appropriate for your projector. If your projector has 3 mounting holes, simply remove one of the arms.

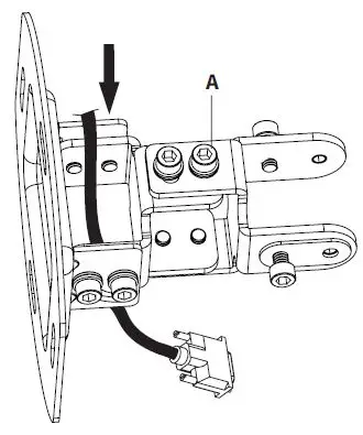
STEP 4: Assembling the Mount
Hang Mounting Bracket (B) with projector over pre-installed screws on Ceiling Mount (A), making sure plastic oval washers are between the plate and mount.

STEP 5: Securing the Mount
Secure Mounting Bracket (B) using M5x12mm Screws (M-I), M5 OD-10 Washers (M-J) and M5 OD-10 Plastic Washers (M-K). Tighten with 4mm Allen Wrench (T-A).
STEP 6: Positioning the Mount
Adjust angle and rotation of projector using 4mm Allen Wrench (T-A).
CHECK OUT OTHER GREAT PRODUCTS FROM
- EXPLORE MORE AT VIVO-US.COM
- We offer a wide array of home & office products to fit your needs.
- From height adjustable desks to monitor mounts to keyboard trays and more!

SPEAKER MOUNTS & STANDS
Whether you’re mounting a soundbar or surround sound system, we’ve got a mounting solution to fit your needs.
HEIGHT ADJUSTABLE DESKS
We offer electric & manual crank standing desks, corner frames, desk & top combos, and more!
MONITOR MOUNTS
From single monitor mounts to hex mount, grommet or clamp-on, we’ve got a mounting solution for your setup.
WHO WE ARE
VIVO is more than a brand of ergonomic office furniture. We are a team of creative and innovative individuals working together to offer high-quality, affordable ergonomic solutions. We think and work outside of the box to serve you, our customer, to the best of our ability.
Need Assistance
We Would Love to Help!
- Personable Customer Support
- Mon-Fri 7am-7pm
We offer immediate assistance with rapid response times from customer service agents and product technicians to help you every step of the way!
![]()
- Call Us: 309-278-5303 Average Resolution Time: 5m 4s
- Chat Us: www.vivo-us.com.
- Average Resolution Time: < 15m
- Email Us: [email protected].
- Average Resolution Time: 1HR 8M
- 23% within < 15m
- 38% within < 30m
- 61% within < 1hr
- 83% within <2hr
- 92% within < 3hr
LOVE YOUR NEW VIVO SETUP?
Ready to share that new amazing setup? Want to brag about that amazing new ergonomic solution?
Tag us in your photo!
- FOR MORE GREAT VIVO PRODUCTS, CHECK OUT OUR WEBSITE AT: WWW.VIVO-US.COM.
- LAST UPDATED: 06/28/2022 REV1LF
- Black Projector Ceiling Mount
- SKU: MOUNT-VP01B
ASSEMBLY VIDEO AVAILABLE:
Follow along step-by-step with our video walk-through by scanning the QR code with your mobile device or by following the product link: vivo-us.com/products/mount-vp01b.
- [email protected].
- 309-278-5303
- www.vivo-us.com.
PERSONABLE CUSTOMER SUPPORT
7AM – 7PM Monday-Friday
- Give us a Call: 309-278-5303
- Chat Us: www.vivo-us.com.
- Email Us: [email protected].

We’re Here for You!Our customer-minded support team is here for YOU, Monday-Friday 7am-7pm CST. We offer immediate assistance with rapid response times from customer service agents and product technicians to help you every step of the way!
Missing a Part? If any parts are received damaged / defective OR you are missing a part, please reach out to us within 30 days of product delivery to have it replaced at no cost. We are happy to replace parts to ensure you have a fully functioning product
References
Register a .US.COM domain today!
VIVO - Desks, Monitor Mounting, and More Home & Office Solutions – VIVO - desk solutions, screen mounting, and more
Adjustable Ceiling Mount for Regular and Mini Projectors – VIVO - desk solutions, screen mounting, and more
VIVO - Desks, Monitor Mounting, and More Home & Office Solutions – VIVO - desk solutions, screen mounting, and more

















