V I V O MOUNT-VP07DP White Universal Drop Ceiling Projector Mount

Scan the QR code with your mobile device or follow the link for helpful videos and specifications related to this product. https://vivo-us.com/products/mount-vp07dp
Product Information
The White Universal Drop Ceiling Projector Mount is a mounting solution that allows you to easily mount your projector to a drop ceiling. This product comes with all the necessary hardware for mounting, including a mount, bracket, mount arms, ceiling plate, clips, and cables. The product also includes various screws and washers to fit different projectors. The product has a maximum weight capacity of 29.7 lbs (13.5 kg).
Please note that some of the included hardware may not be used and alternative hardware is provided for mounting the mount if a drop ceiling panel is not used. It is important to verify your ceiling construction before installation and use wood studs to mount. If unsure, contact VIVO at vivo-us.com, email at [email protected], or call at 309-278-5303.
Product Usage Instructions
- Step 1: Remove plastic plug from Ceiling Plate (D).
- Step 2: Insert 2 toggles at end of Y-Cable with Lock (F) into 2 of the 16 slots on the top of the Ceiling Plate (D), making sure the slots chosen will provide optimal support for the mount with projector. Place Ceiling Plate into suspended-ceiling grid. Thread end of cable through the side hole in the lock in the direction of the arrow, wrap cable around beam or other support, then insert cable down through center hole in lock and pull down to secure.
- Step 3: Push Clips (E) down over T-bar to hold the Ceiling Plate (D) down.
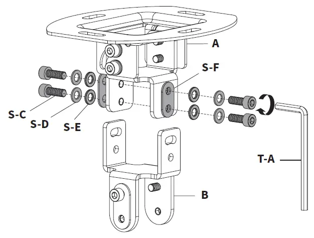
- Step 4: Connect Bracket (B) to Mount (A) using Plastic Oval Washers (S-F), Plastic M5 Washer (S-E), Small M5 Washer (S-D), M5x12mm Screw (S-C), and 4mm Allen Wrench (T-A).
- Step 5: Insert cables through the center or side of Mount (A) depending on whether cables will be hidden above or exposed below the ceiling.
- Step 6: Secure Mount Assembly to Ceiling Plate (D) using M6x18mm Bolts (S-A) with M6 Washers (S-B), and tighten with 5mm Allen Wrench (T-B).
- Step 7: Align Mount Arms (C) with mounting holes in projector, and mount to projector using screws (M-A thru M-D) and Washers (M-E thru M-H) most appropriate for your projector. NOTE: If your projector has 3 mounting holes, simply remove one of the arms, or for mini projectors with a single hole, remove all arms and mount projector directly to Bracket.
- Step 8: Angle Mount Arms (C) with Projector and hook onto Assembled Mount to partially secure.
Tools Needed: Drill, Phillips Screwdriver
Caution:
Do not exceed weight capacity. Failure to do so may result in serious injury.
Warning:
Choking hazard. Small parts – not for children under 3 years. Adult supervision is required.
SKU: MOUNT-VP07DP
Scan the QR code with your mobile device or follow the link for helpful videos and specifications related to this product.
https://vivo-us.com/products/mount-vp07dp.

GET IN TOUCH | Monday-Friday from 7:00am-7:00pm CST
- [email protected]
- www.vivo-us.com Chat live with an agent!
- 309-278-5303
WARNING!
If you do not understand these directions, or if you have any doubts about the safety of the installation, please call a qualified technician. Check carefully to make sure there are no missing or defective parts. Improper installation may cause damage or serious injury. Do not use this product for any purpose that is not explicitly specified in this manual. Do not exceed weight capacity. We cannot be liable for damage or injury caused by improper mounting, incorrect assembly or inappropriate use.
WARNING: CHOKING HAZARD
SMALL PARTS – NOT FOR CHILDREN UNDER 3 YEARS. ADULT SUPERVISION IS REQUIRED.
PACKAGE CONTENTS

NOTE: SOME HARDWARE INCLUDED MAY NOT BE USED

CAUTION!
DO NOT INSTALL INTO DRYWALL ALONE. VERIFY YOUR CEILING CONSTRUCTION. USE WOOD STUDS TO MOUNT. We include mounting for brick and concrete. If unsure, please contact us at vivo-us.com, email at [email protected], or call us at 309-278-5303.
TOOLS NEEDED
DO NOT EXCEED WEIGHT CAPACITY. Failure to do so may result in serious injury.

ASSEMBLY STEPS
STEP 1
Remove plastic plug from Ceiling Plate (D).

STEP 2
Insert 2 toggles at end of Y-Cable with Lock (F) into 2 of the 16 slots on the top of the Ceiling Plate (D), making sure the slots chosen will provide optimal support for the mount with projector. Place Ceiling Plate into suspended-ceiling grid. Thread end of cable through the side hole in the lock in the direction of the arrow, wrap cable around beam or other support, then insert cable down through center hole in lock and pull down to secure.

STEP 3
Push Clips (E) down over T-bar to hold the Ceiling Plate (D) down.

STEP 4
Connect Bracket (B) to Mount (A) using Plastic Oval Washers (S-F), Plastic M5 Washer (S-E), Small M5 Washer (S-D), M5x12mm Screw (S-C), and 4mm Allen Wrench (T-A).

STEP 5
- OPTION A: Insert cables through center of Mount (A) if cables will be hidden above ceiling.
- OPTION B: Insert cables through side of Mount (A) if cables will be exposed below ceiling.

STEP 6
Secure Mount Assembly to Ceiling Plate (D) using M6x18mm Bolts (S-A) with M6 Washers (S-B), and tighten with 5mm Allen Wrench (T-B).

STEP 7
Align Mount Arms (C) with mounting holes in projector, and mount to projector using screws (M-A thru M-D) and Washers (M-E thru M-H) most appropriate for your projector.

STEP 8
Angle Mount Arms (C) with Projector and hook onto Assembled Mount to partially secure.

STEP 9
Secure Mount Arms (C) to Assembled Mount using M5 Plastic Washer (S-E), M5 Washer (S-D), M5x12mm Screw (S-C) and 4mm Allen Wrench (T-A).

STEP 10
Adjust angle and rotation of projector if desired by loosening screws on Assembled Mount using 4mm Allen Wrench (T-A).

Love your new VIVO setup and want to share? Tag us in your photo! @vivo_us
Open Monday – Friday 7:00 am – 7:00 pm CST,
our dedicated support team can offer immediate assistance with rapid response times. If any parts are received damaged or defective, please contact us. We are happy to replace parts to ensure you have a fully functioning product.
www.vivo-us.com
Chat live with an agent!
AVG. RESOLUTION TIME (within office hrs): < 15 M
309-278-5303
AVG. RESOLUTION TIME (within office hrs): 5M 4S
[email protected].
AVG. RESPONSE TIME (within office hrs): 1HR 8M
- 23% within < 15m
- 38% within < 30m
- 61% within < 1hr
- 83% within < 2hr
- 92% within < 3hr
FOR MORE VIVO PRODUCTS, CHECK OUT OUR WEBSITE AT: www.vivo-us.com
References
Register a .US.COM domain today!
VIVO - Desks, Monitor Mounting, and More Home & Office Solutions – VIVO - desk solutions, screen mounting, and more
VIVO - Desks, Monitor Mounting, and More Home & Office Solutions – VIVO - desk solutions, screen mounting, and more
White Universal Drop Ceiling Projector Mount – VIVO - desk solutions, screen mounting, and more

















