

SKU: U6260
ASSEMBLY GUIDE
www.uctronics.com
Package Contents

Installation
- Install the fan to the back panel. Pay attention to the direction of the fan, the stickers should face the Raspberry Pi.

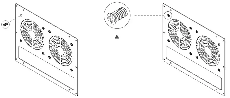
- Fix cooling fans with M5 * 10 screws.

- Install two frameworks to the back panels. Please note that all the screws for the enclosure are M3 * 4 countersunk screws.

- Mount the side panels to the frameworks.

- Install two frameworks on the other side of the side panel.

- Mount the front panel.

- Use the top panel to cover the top of the enclosure.

- Snap the bottom panel into the enclosure.

- Insert the 2.5-inch SSD into the mounting bracket, align the direction of the mounting hole, and fix it with M3*5 screws.

- Mount the Raspberry Pi with M2.5 *5 screws.

- Insert the fan adapter board into the power interface of Raspberry Pi.

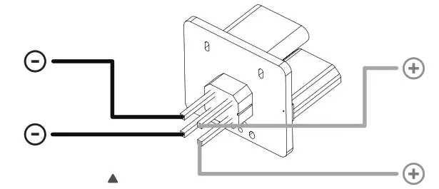
- Polarity diagram of fan adapter.

- Connect the fan wire to the fan adapter board. Please pay attention to the red-and-black wires. Red represents the positive pole and black represents the negative pole.

- Tilt and insert the installed bracket into the case and fix it with Captive Loose-Off Screws.

- Insert the other Raspberry Pi mounting brackets into the enclosure.

- Finally stick the footpads to the bottom panel. The installation is complete.

CONTACT US
If any problem, feel free to contact us.
Website: www.uctronics.com
Email: [email protected]


















