Fanvil i30 IP Door Phone Installation Guide
Package Contents
Door Phone
Quick Installation Guide
RFID Cards
Connectors
Screw and Wrench
Physical Specifications
| Device size | 160 x 93 x 35 mm |
| Weight | 450g (gross weight) |
Front Panel

| Interface | Description |
| Camera | Get the video |
| Speaker | The door phone has a built-in speaker for convenient communication and alert use. |
| MIC | The door phone has a built-in microphone hidden in the pinhole located on the front panel. |
| RFID Reader | Use RFID cards to unlock the door by touching RFID reader of device. |
Button Definition
| Button | Description |
| DSS Key | Press the Button, calling or request to open the door. |
| Numeric Keyboard | Input password to open the door or call. |
LED Definition
| LED | Status | Description |
| Steady Blue | Door unlocking | |
| off | Door locking | |
| Blinks per second | Call Hold or Ringing | |
| off | On Hook | |
| Blinks every 3 seconds | Device in the issuing state | |
| Steady Blue | Online talking | |
| Blinks per second | Network error | |
| off | Network is normal, SIP is not registered | |
| Blinks every 3 seconds | SIP Registration failed | |
| Steady Blue | SIP Registration succeeded |
Port Definition
After removing the Back Panel of i30, there are one terminal block connectors for power and lock control connection as shown in the picture below.
Network Connector
Power and Electric-lock Connector
| 1 | 2 | 3 | 4 | 5 | 6 | 7 |
| +DC12V | VSS | NC | COM | NO | S-IN | S-OUT |
| 12V DC Input | Electric-lock switch | Indoor switch | ||||
Jp1 Jumper
There are two modes for power supply of electric-lock as shown in the picture below.
(The default is “Passive Mode”).
Passive Mode: When the electric-lock starting current is more than 12V/500mA, need to use the external drive mode, the electric lock interface for short circuit output control.
Active Mode : When the electric-lock starting current is less than 12V/500mA, can use the internal drive mode, the electric lock interface is 12V DC output..

Jumper inpassive mode
Jumper inactive mode
Wiring instructions
NO: Normally Open Contact
COM: Common Contact
NC: Normally Close Contact
| Driving Mode | Electric-lock Mode | Jp1 Jumper | Connections | ||
| Active | Passive | No electricity when open | Electrify when open | ||
![]() | ![]() | ||||
![]() | ![]() | ||||
![]() | ![]() | ||||
![]() | ![]() | ||||
![]() | ![]() | ||||
Installation

Figure 1 Three Major Parts of i30
Step 1: Installation preparation
A. Check the following contents:
- Hex wrench x 1
- RJ45 plugs x 2 (1 spare)
- KA4 x 25mm screws x 4
- 25mm screw anchors x4
B. Tools that may be required:
- Hex wrench
- Phillips screwdriver (Ph2 or Ph3), hammer, RJ45 crimper
- Electric impact drill with an 6mm drill bit
Step 2: Drilling
A. Place the mounting template with dimensions on the surface of a wall in a desired flat position.
B. Use an electric drill to drill the 4 holes marked on the mounting template. It is recommended to drill about 30mm deep. Remove the template when finishing drilling.
C. Push or hammer screw anchors into the drilled holes.

Figure 2 Wall Mounting
Step 3: Removing hanging shell
A. Remove the hanging shell in Figure 3 and Figure 4.

Figure 3
Figure 4
B. With Phillips screwdriver, unpacks the Back Panel and the main part of intercom as shown in Figure 5.

Figure 5
Step 4: Hanging shell Fixing and Cabling

Figure 6
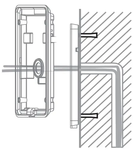
A. Select the hole for cable supply; cable length of 15cm to 20cm is recommended.
B. With 4 KA5 x 25mm screws, tighten the Wall-mounted hanging shell as shown in Figure 6.
Step 5: Connection line

Figure 7
Figure 8
A. Select the hole for cable supply.
B. Connect the cables of RJ45, power, and electric-lock to the motherboard socket as mentioned in connectors description (refer to Section 2).
C. Test whether there is electricity by doing the following:
Press the # button for 3 seconds to get the IP address of intercom by voice.
Input access password or press the indoor switch to check electric-lock installation.
Note: Do not proceed mounting until you have finished the electric checking.
Step 6: Mounting

Figure 9
Figure 10
A. Use the 4 screws to tighten the main part of intercom on the back panel as shown in Figure 9.
B. Push the device into the Wall-mounted hanging shell and tighten it with 1 screw as shown in Figure 10.
C. Make sure the screws have been tightened properly for better waterproof effect.
Searching Door Phone
There are two methods as shown below to search the i30. Method 1:
Open the iDoorPhone Network Scanner. Press the Refresh button to search the i30 and find the IP address.
(Download address http://downloadanvil.com/tool/iDoorPhoneNetworkScanner.exe )
Method 2:
Press and hold the “#” key for 3 seconds and the door phone will report the IP address by voice.
| Default Setting | |
| Default DHCP Client | Enable |
| Static IP Address | 192.168.1.128 |
| Default Web Port | 80 |
| Default Login User Name | admin |
| Default Login Password | admin |
| Display IP address | Hold # for 3 seconds to display by voice |
| Search Tools | iDoorPhone Network Scanner |
SIP Door Phone Setting
Step 1: Login the homepage of the i30.
Step 2: Add the SIP account.
Set SIP server address, port, user name, password and SIP user with assigned SIP account parameters.
Select “Activate”, and then click Apply to save this setting.
Step 3: Setting DSS key
Set the DSS key as shown below for a quick start. Click “Apply” to save this setting.
Type: Hot Key
Number 1: The DSS Key will dial to this Number 1.
Number 2: If Number 1 is unavailable, it will be forwarded to Number 2.
Line: Working line
Subtype: Speed dial
Step 4: Door Phone Setting
Door Unlocking Setting
Local
Local Password
Step 1: Go to EGS Setting — Features — Set Local Password (The default is “6789”).
Step 2: Use the device’s Numeric Keyboard to input password and “#” key, and then the door will be unlocked.
Private Access Code
Step 1: Go to EGS Access — Access Rule — set Access Code.
Step 2: Use the device’s Numeric Keyboard to input password and “#” key, and then the door will be unlocked.
Remote
Remote Password
Step 1: Go to EGS Setting – Features – Set Remote Password (The default is “*”).
Step 2: To answer the call made by visitor via SIP phone, press the “*” key to unlock the door the visitor.
RFID Card
Step 1: Go to EGS Access — Enter the Name and ID Number (Only Front 10 yards) —
Press Add to Access Table.
Step 2: Use pre assigned RFID cards to unlock the door by touching RFID area of device.




























