ANOLIS Ambiane Xp56 Recessed

INSTALLATION INSTRUCTIONS
The unit must be installed by a qualified electrician in accordance with all national and local electrical and construction codes and regulations.![]()
STEP 1
LOWER CEILING OPENINGS
1A Standard

1B With Trim

1C With Louver

STEP 2.A
MOUNTING – WITH FALSE CEILING ADAPTOR
Mounting surface (structure) must safely hold at least 5 times weight of Ambianes + Adaptors placed on it.![]()

Assemble installation tool and secure it by six screws.

Prepare holes in the surface (lower ceiling) according to spacing of mounting holes on base plate.

Mount installation tool on the surfaceand fix by three screws.

Slide the Ambiane XP56 into the False Ceiling Mounting Adaptor.

Fasten yoke of Ambiane XP56 to the adaptor with screw, nut and washers provided with adaptor. The Ambiane XP56 has to be secured to the ceiling (or other structure) via a safety wire pulled through the mounting lug.
STEP 2.B
MOUNTING – STANDARD YOKE

Drill holes in upper ceiling (or other construction) according to mounting holes on the Yoke.

Fasten the luminaire to the surface with suitable fasteners. Secure the Ambiane XP56 to the ceiling (construction) via a safety wire pulled through the mounting lug (highlighted on picture above)
STEP 3
VERTICAL POSITION ADJUSTMENT

To move the Yoke/luminaire up or down loosen both screws on each side of the Yoke.
To tilt the Yoke/luminaire in range +/-90° loosen only the lower screw on each side of the Yoke.

Adjust the fixture into desired position and tighten all loosened screws.
STEP 4
PRIMARY POWER CONNECTION


Install terminal block on Primary power cable leading from Ambiane Power Rack or Ambiane Power XP and connect it to the Control Unit.
STEP 5
SECONDARY POWER CABLE CONNECTION 48V (SCOPE OF OTHERS)

Install terminal block on Secondary power cable and connect it to the Control Unit.
STEP 6
DATA CABLES CONNECTION

Install terminal blocks on DMX or DALI cables and connect them to the Control Unit.

Set the DIP switches to positions according to your operation mode. The fixture can be controlled by DMX or DALI (switch 11 in OFF position).
STEP 7.A
INSTALLATION OF TRIM

Lift up both Spring Clips and slide the Trim onto the housing of the Ambiane XP56 through the opening in the lower ceiling.

The Trim will be hold in place by Spring Clips after releasing them.
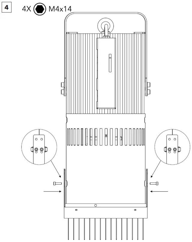
STEP 7.B
INSTALLATION OF LOVER (LOUVER 5°,10°)

Unscrew two M4x12 screws on each side of the Ambiane XP56.

Slide the louver onto the housing of the Ambiane XP56.

There are three sets of mounting holes on the Louvre. (Size of the luminare depends on type of used optic) When the Louver is mounted on luminaire, one of those sets will match mounting holes on housing of the luminaire.

Secure the Louver by means of two M4x14 (enclosed with the Louver) on each side of the Ambiane XP56‘s housing.
- ROBE lighting s. r. o.
- Palackeho 416
- 757 01 Valasske Mezirici
- Czech Republic
- Tel.: +420 571 751 500
- E-mail: [email protected]
www.anolis.eu
www.anolislighting.com



















