Anolis Ambiane XP65 Pendant Remote

Ambiane XP56 Pendant Remote
Attention
The unit must be installed by a qualified electrician in accordance with all national and local electrical and construction codes and regulations. The unit was designed for indoor use only.
- Do not install the unit near highly inflammable liquids or materials.
- Do not allow anything to rest on the unit.
- Do not install the unit near an open flame.
- Do not install the unit in a dirty, dusty or badly ventilated location.
- Avoid looking directly into the light beam at close range!
- A ceiling (structure) intended for installation of the unit(s) must safely hold at least 5 times the weight of the unit(s) fastened on it.
- Immunity of the equipment is designed for electromagnetic environments E1, E2, and E3 according to the standard EN55103-2 ed.2 Electromagnetic compatibility.
- Product family standard for audio, video, audiovisual, and entertainment lighting control apparatus for professional use. Part 2: Immunity.
- The product (covers and cables) must not be exposed to a high-frequency electromagnetic field higher than 3V/m.
- The installation company should check levels of possible interferences above the tested levels E1, E2, and E3 given by this standard (e.g. transmitters in the surrounding area) before installing the equipment.
- The emission of the equipment complies with the standard EN55032 Electromagnetic compatibility of multimedia equipment – Emission Requirements according to class B.
Fixture exterior view
Installation
The Ambiance XP56 Pendant Remote must be installed by a qualified electrician in accordance with all national and local electrical and construction codes and regulations. Always switch off the power supply of the control unit before connecting or disconnecting the control unit or the light unit. The lower ceiling (or another structure) intended for installation of the Ambiance XP56 Pendant(s) Remote must safely hold at least 5 times the weight of the Ambiance XP56 Pendant(s) Remote placed on it.
- Fasten the control unit (1) on the ceiling by means of two holes in the housing of the control unit.

- Fasten the ceiling plate M6i (3) to the lower ceiling.
- Screw the spherical cap (4) with the hanging wire (6) to the ceiling plate M6i (3).
- Drill the hole (diameter of 8mm) in the lower ceiling for the LED unit supply cable (7). If you wish to have the LED unit supply cable (7) parallel to the hanging wire (6), the distance between the hanging wire and the LED unit supply cable should be 60mm.
- Secure the LED unit supply cable (7) above the ceiling against losing from the control unit (1).

- Install the terminal block (9) on the supply cable and connect it to the PCB RB 3729 of the control unit (1).
- Install the terminal block (10) on the DMX cable and connect it to the PCB RB 3729 of the control unit (1).
- Install the terminal block (11) on the LED unit cable (7) and connect it to the PCB RB 3729 of the control unit (1).
- Install another terminal block on cables according to the requirements of the current installation.
Example of connection
Note: The trimmer (13) allows you to set a light intensity (for secondary power only). This trimmer is accessible by the aperture (18) in the cover of the control unit (1).
LED unit connection
| Connector | + | A | B | – |
| Function | LEDs + | Data A | Data B | LEDs – |
| Colour of wire | Red | White | Blue | Black |
Primary power connection
| Connector | Vcc | 0V |
| Function | Power + | Power – |
Secondary power connection
| Connector | Vcc | 0V |
| Function | Power + | Power – |
Max. length of the supply cable between the Ambiance XP56 Pendant Remote and the Ambiance Power XP or Ambiane Power Rack is defined by the following table:
| Circular cross-section of wire | Max. cable length |
| 0.5 mm2 | 15 m |
| 1 mm2 | 30 m |
| 1.5 mm2 | 45 m |
| 2 mm2 | 60 m |
| 2.5 mm2 | 75 m |
DMX connection
| Connector | D+ | D- | 0V |
| Function | Data + | Data- | Data ground(shielding) |
0-10V connection
| Connector | D+ | 0V |
| Function | +10V | 0V |
DMX connectors are used for 0-10V control
- The primary power input serves as a standard power (e.g. Ambiane Power XP).
- The secondary power input serves for backup power (in case the primary power failed).
- If both power inputs are under voltage, the primary power has priority and the secondary power is disabled. In case of primary power loss, secondary power is enabled.
- If the fixture is supplied via the secondary power, the light output of the fixture is a white color (3200K) and its light intensity can be set by the trimmer (13) accessible by the aperture (18) in the cover of the control unit (1). 10. Set the DIP switch (12) according to your operation mode. This DIP switch is accessible by the aperture (18) in the cover of the control unit (1).
- The fixture can be controlled by one of the following methods: DMX 512 DALI 0-10V (PW or TD version only)
- The fixture is equipped with two DMX and DALI connection blocks (on the PCB RB 3729) for easy connection to a DMX or DALI chain (In/Out method).
- Set the desired position of the LED unit by means of the three hanging wires (17). If you need to pull the hanging wire (17) out of the supply unit, you have to press and hold the part (21) of the wire lock.
- Fasten the LED unit supply cable (7) to the holder (18) using a cable binder (19).

- The length of the LED unit supply cable (7) should be adequate, it is not suitable to make “loops“ of cable on the LED unit heatsink. Max. one “loop” can be created.
DMX and DALI address setting and control
The DIP switch on the control PCB (RB3729) allows you to set the DMX address and run a test light.
- DIP 10 – if it is switched to ON=test light (the fixture lights at 3200K (for RGBW and TW version))
- DIP 11 – has to be switched to OFF position to receive DMX 512 and DALI, position ON=0-10V control
- Note: If DIP 11=OFF (fixture is controlled by DMX and DALI), the last coming command switches the fixture to the corresponding operation mode (DMX operation by a DMX command, DALI operation by a DALI command). E.g. the fixture stays in a DALI operation and last coming command is a DMX command which switches the fixture to a DMX operation. The next command is a DALI command and switches the fixture to the DALI operation etc.
- If you need the permanent DALI operation, you have to send a DALI command 8 to the fixture. DMX control
- The DMX start address is the first channel used to receive instructions from the DMX controller. The address may be any channel from 1 to 512. DMX address can be set either by DIP switch or by RDM. DMX address set by RDM overwrites address set by DIP switch and vice versa. The green LED on PCB signals way of DMX address setting:
- LED lights-DMX address is set by means of the DIP switch.
- LED does not light-DMX address is set by means of RDM.
- The DIP 11 has to be set to OFF position. Example of DMX addresses:

DALI control
Addressing of the fixture has to be made by means of an external DALI controller. If you need to start the permanent DALI control of the fixture (the fixture will not respond to DMX commands), the external DALI controller has to send activating command (8=ON). If you need to stop the permanent DALI control of the fixture, the external DALI controller has to send deactivating command (0=OFF).
3.2 0-10V control
DIP 11 has to be set in the ON position. The 0-10V operation has priority to DALI and DMX commands. The option is applicable for the PW and TD version of the Ambiane XP56 Recessed only.
RDM
This fixture supports RDM operation. RDM (Remote Device Management) is a bi-directional communication protocol for use in DM X512 control systems, it is the new open standard for DMX512 device configuration and status monitoring. RDM allows you to set a DMX address, select DMX mode, read out the software version of the fixture, etc. It is also used for fixture software updates by means of the Robe Uploader. RDM model ID for the Ambiane XP56 Pendant Remote is 0x0109.
| Parameter ID | Discovery command | SET command | GET command |
| DISC_UNIQUE_BRANCH | * | ||
| DISC_MUTE | * | ||
| DISC_UN_MUTE | * | ||
| DEVICE_INFO | * | ||
| SUPPORTED_PARAMETERS | * | ||
| SOFTWARE_VERSION_LABEL | * | ||
| DMX_START_ADDRESS | * | * | |
| IDENTIFY_DEVICE | * | * | |
| DEVICE_MODEL_DESCRIPTION | * | ||
| MANUFACTURER_LABEL | * | ||
| DEVICE_LABEL | * | * | |
| DMX_PERSONALITY | * | * | |
| DMX_PERSONALITY_DESCRIPTION | * | ||
| RESET_DEVICE | * | ||
| SENSOR_VALUE | * | * | |
| SENSOR_DEFINITION | * |
| SLOT_INFO | * | ||
| SLOT_DESCRIPTION | * | ||
| DEFAULT_SLOT_VALUE | * | ||
| PARAMETER_DESCRIPTION | * |
DMX protocols
Variant RGBW, version 1.1
| Mode 1 Channel | Mode 2 Channel | Mode 3 Channel | Mode 4 Channel | Mode 5 Channel | DMX value | Function | Type of control |
| 1 | 1 | 1 | – | 1 | 0-255 | Red Red LEDs saturation control (0–>100%) | proportional |
| – | – | 2 | – | – | 0-255 | Red Fine Red LEDs saturation control (0–>100%) | proportional |
| 2 | 2 | 3 | – | 2 | 0-255 | Green Green LEDs saturation control (0-100%) | proportional |
| – | – | 4 | – | – | 0-255 | Green Fine Green LEDs saturation control (0–>100%) | proportional |
| 3 | 3 | 5 | – | 3 | 0-255 | Blue Blue LEDs saturation control (0 –>100%) | proportional |
| – | – | 6 | – | – | 0-255 | Blue Fine Blue LEDs saturation control (0–>100%) | proportional |
| 4 | – | 7 | – | 4 | 0-255 | White White LEDs saturation control (0–>100%) | proportional |
| – | – | 8 | – | – | 0-255 | White Fine White LEDs saturation control (0–>100%) | proportional |
| – | – | 9 | 1 | Green correction | |||
| 0 | Uncorrected white | step | |||||
| 1-127 128 129-255 | Minus green –> uncorrected white Uncorrected white (128=default) Uncorrected white –> Plus green | proportional step proportional | |||||
| – | – | 10 | 2 | Colour temperature correction (CTC) | |||
| 0 | No function (0=default) | step | |||||
| 1-10 | Tungsten dimming 2700 K | step | |||||
| 11-20 | Tungsten dimming 3200 K | step | |||||
| 21-255 | Colour temperature changing 2700 K–> 6500 K | proportional | |||||
| – | – | 11 | 3 | 5 | 0-255 | Dimmer Light intensity coarse (0–>100%) | proportional |
| – | – | 12 | – | 6 | 0-255 | Dimmer Fine Light intensity fine (0–>100%). | proportional |
DMX mode has to be set by RDM.
| Mode 1 Channel | Mode 2 Channel | DMX value | Function | Type of control |
| 1 | – | 0-255 | White colour selection White from 2700K–>4000K | proportional |
| – | 1 | 0-255 | Warm White Warm white LEDs saturation control (0–>100%) | proportional |
| – | 2 | 0-255 | Cool White Cool white LEDs saturation control (0–>100%) | proportional |
| 2 | 3 | 0-255 | Dimmer Light intensity (0–>100%) | proportional |
| Mode 1 Channel | Mode 2 Channel | DMX value | Function | Type of control |
| 1 | 1 | 0-255 | Dimmer Light intensity coarse (0–>100%) | proportional |
| – | 2 | 0-255 | Dimmer Fine Light intensity (0–>100%) | proportional |
Technical specifications
- Nominal input voltage: 48V DC
- Input voltage range: 44-50V DC
- Max. power consumption: 150W
- Light source: High Power LED module
- Beam angle: 20°, 30°,45°, 60°
- Projected Lumen Maintenance: L90B10 >90.000 hrs, Ta = 25°C / 77°F °F)
- Colour Variants: RGBW (W – 2700K or 4000K), pure white, Tunable White, Tungsten Dim
- Colour Temperature of White: PW 2700 K or 4000K, TW 2700 – 4000K
- Control: DMX, DALI , RDM, 0-10V
- Settings/Addressing: DIP Switch, RDM
- DMX channels (RGBW variant): 4 (Mode 1), 3 (Mode 2), 12 (Mode 3), 3 (Mode 4), 6 (Mode 5)
- DMX channels (TW variant): 2 (Mode 1), 3 (Mode 2)
- DMX channels (TD, PW variant): 2 (Mode 1), 2 (Mode 2)
- Power supply (CE): Ambiane Power XP, Ambiane Power Rack
- Power supply (US): Ambiane Power XP, Ambiane Power Rack US
- Operating ambient temp. range: -20 °C / +40 °C (-4 °F / +104 °F)
- Operating Temperature (LED unit): +75 °C @ Ambient +40 °C (167 °F @ Ambient 104 °F)
- Total heat dissipation: 512 BTU/h (calculated)
- Cooling: convection
- Housing: High-Pressure Die-Cast Aluminium Body
- Weight (without control unit) :
- Ambiane XP56 Pendant Remote 20° 9.3 kg/ 20.5 lbs
- Ambiane XP56 Pendant Remote 30° 9.3 kg/ 20.5 lbs
- Ambiane XP56 Pendant Remote 45° 9 kg/ 19.84 lbs
- Ambiane XP56 Pendant Remote 60° 8.9 kg/ 19.62 lbs
- Mounting Method: Pendant with 1 adjustable hanging wire
- IC rating: Non-IC rated
- Power connection Connectors
- DMX connection: Connectors
- DALI connection: Connectors
- LED unit connection: Connector
- Protection factor (CE): IP20
- Protection factor (US): Dry location only
Dimensions
mm [inch] Ambiane XP56 Pendant Remote 20° Ambiane XP56 Pendant Remote 45° Ambiane XP56 Pendant Remote 60° Ambiane XP56 Pendant Remote 30°
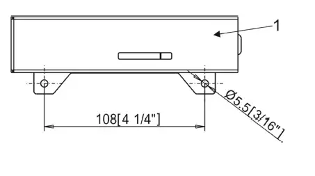
Control unit
Included items
- 1 x Ambiane XP56 Pendant Remote
- 1 x Control unit
- 1 x Set of cable connectors
- 1 x User manual
Option items
- Ambiane Power XP (P/N 10063710)
- Ambiane Power Rack (P/N 10063951)
- Ambiane Power Rack US (P/N 10063873)
Cleaning and maintenance
Disconnect from the mains before starting any maintenance work Keep the fixture clean, especially the light source and the ribbed heat sink. Maintenance and service operations are only to be carried out by a qualified person. Should you need any spare parts, please use ROBE OEM parts.
Software update
The fixture has to be connected to power during the software update. Software update by means of the Robe Uploader is a software for automatized software updates of Robe and Anolis fixtures. It can take advantage of RDM support. 
The fixtures have to be connected in a daisy chain (max. 32 fixtures) and via the Robe Universal Interface/Robe Universal Interface WTX and a USB cable connected to the control PC with the Robe Uploader running. The fixtures have to be connected to power. The control PC should be connected to the Internet.
The Robe Uploader software and user manual is available at https://www.robe.cz/robe-uploader/ If you do the software update by means of the Robe Uploader, switching fixtures to the update mode (and from the update mode) is made automatically.
Note: The Robe Uploader software cannot be used if fixtures are connected by means of a DALI connection.
Disposing of the product
To preserve the environment please dispose of or recycle this product at the end of its life according to the local regulations and codes. May 20, 2022 Copyright © 2021-2022 Robe Lighting – All rights reserved All Specifications are subject to change without notice Made in CZECH REPUBLIC by ROBE LIGHTING s.r.o. Palackeho 416/20 CZ 75701 Valasske Mezirici
Anolis Ambiane XP65 Pendant Remote





















