ANOLIS Eminere Inground 1-2-4

Product Information
The product is an Eminere inground lighting unit manufactured by ROBE lighting s. r. o. The unit needs to be installed by a qualified electrician in accordance with all applicable regulations including local and national construction and electrical codes. The device falls under class I and must be grounded. The product comes with a junction box, mounting sleeve, cable glands, and synthetic resin for filling the junction box.
Product Usage Instructions
- Unscrew six M5x10 bolts and remove the temporary cover from the mounting sleeve. Unscrew four M4x20 screws and remove the cover of the junction box to uncover the mounting sleeve and junction box.
- Unscrew two M4x14 screws and release the junction box from the mounting sleeve for easier access to connection terminals.
- Wire the Eminere cable (CE Leader or US Leader) according to the color code shown in the manual. Shorten the power/data cable from the junction box to Eminere (recommended length is 1m). Strip these lengths for cable connections.
- Put the cable through the cable gland M20x1.5 and connect it into the connection terminal. Assemble the cable gland using wrench size 24 for cable gland M20x1.5.
- After checking all connections, fill the junction box with synthetic resin. Make sure that the end cap is inserted in any unused cable glands, and the earth ground wire is pulled from the junction box before filling it with resin. Read and follow all instructions stated on the resin bag prior to filling the junction box. The junction box has to be fully filled by resin so the connection block is completely sealed.
- Mount the junction box back to the mounting sleeve and fasten it with two M4x14 screws. Connect the grounding wire to the junction box cover and put the cover back on the junction box.
Fasten the cover with four M4x20 screws.
Note: Failure to properly install cable glands will result in failure of the water tight seal. Ensure that cable glands are installed properly.
INSTALLATION INSTRUCTIONS
The unit must be installed by a qualified electrician in accordance with all applicable regulations including local and national construction and electrical codes. This device falls under class I and must be grounded!
STEP 1
- UNCOVERING OF MOUNTING SLEEVE AND JUNCTION BOX
Unscrew six M5x10 bolts and remove the Temporary Cover from Mounting Sleeve.
- Unscrew four M4x20 screws and remove the Cover of Juncion Box.
- Unscrew two M4x14 screws and release the Junction Box from the Mounting Sleeve for easier access to connection terminals.

STEP 2 CONNECTION

Connection – colour coding
Wiring o f the Eminer e Cable – CE L eader
| WIRE | POWER CONNECTION | WIRE | DATA CONNECTION |
| Brown | L | Orange | Data – (D-) |
| Blue | N | Purple | Data + (D+) |
| Green | Ground | Shielding | Data Ground (0V) |
Wiring o f the Eminer e Cable – US L eader
| WIRE | POWER CONNECTION | WIRE | DATA CONNECTION |
| Black | L | Orange | Data – (D-) |
| White | N | Red | Data + (D+) |
| Green | Ground | Shielding | Data Ground (0V) |
STEP 2 CONNECTION

Shorten the power/data cable from Junction Box to Eminere (recommended length is 1m).
Strip these lengths for cable connections.


Wiring connection

STEP 3 CABLE GLAND INSTALLATION
Put cable thru cable gland M20x1.5 and connect into connection terminal. Assemble cable gland as shown below. Use wrench size 24 for cable gland M20x1.5

Apply Loctite 5331 thread sealant on the plastic holder and Loctite 577 thread locking compound on the gland body in the indicated locations prior to assembly.
Failure to properly install cable glands will result in failure of the water tight seal!
STEP 4 FILLING JUNCTION BOX WITH SYNTHETIC RESIN

Prepared Junction Box and resin bag.

Junction Box filled with resin with Earth wire sticking out freely.
After checking all connections, fill the junction box with syntheticresin. Make sure the the end cap is inserted in any unused cable glands, and the earth ground wire is pulled from the junction box before filling it with resin. Read and follow all instructions stated on the resin bag prior to filling the junction box. The junction box has to be fully filled by resin. The Junction Box has to be fully filled with resin so the connection block is completely sealed.
STEP 5 CLOSE JUNCTION BOX

Mount the Junction Box back to Mounting Sleeve and fasten it by two M4x14 screws.

Put back the gasket of Junction Box, if it was removed. Connect the grounding wire to the junction box Cover and put the Cover back on Junction Box. Make sure that thread is clean and functional. Fasten the cover with four M4x20 screws.
STEP 6 INSTALLATION OF EMENIRE INGROUND

Connect the Earth wire of Eminere Inground with the Mounting Sleeve.

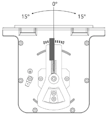
Push down on a small tube, unlocking the tilt adjustment. Hold the tube down, while tilting the Eminere to desired position,and release it to lock the Eminere in position again.
Eminere Inground must be positioned into the mounting sleeve in correct orientation, with cable gland on the „input“ side of the sleeve.

Insert Eminere Inground into the Mounting Sleeve and fasten it with four M5x25 bolts. Do not use an impact wrench, tighten the screws smoothly with torque of 4Nm.

Eminere Inground can be tilted by +15°/-15°.
STEP 7 COVER PLATE INSTALLATION

Install Cover Plate End when fixture doesn‘t adjoin with another Eminere Inground.

Installation of Cover Plate Support is recommended, especially when Eminere Inground is installed in a loose soil. It is suitable only for those sides of Mounting Sleeves that doesn‘t adjoin with another Mounting Sleeve.

Fasten the Cover Plate Support to mounting sleeve (under the cover plate end) by two M5x10 screws with washers and nuts.

Cover Plate Support installed

STEP 7.A
COVER PLATES INSTALLATION – STAND ALONE

Insert Cover Plate End on each side of mounting sleeve/top of Eminere Inground.

Put Cover Plates Continuous on longer sides of Eminere Inground/mounting sleeve and fasten it with six M5x30 bolts. Do not use impact wrench. Tighten screws smoothly with torque of 4Nm.
STEP 7.B INSTALLATION OF COVER PLATES – HEAD2HEAD
Three types of Cover Plates are necessary for installation of adjoining Eminere Ingrounds

Insert Cover Plate End on each side of Eminere Inground installation (only where is no adjoining Eminere Inground). Insert cover plate middle on top of all adjoining Emineres to cover the gap between them.
Note: Use of Cover Plates Support, under the cover plates end, is recommended for installations in loose soil.

Place Cover Plates Continuous on top of Eminere Ingrounds longer sides as illustrated. Make sure that cover plates fit well and fasten them by three M5x30 bolts per Cover Plates Continuous. (total of 12 bolts for installation of two adjoining Eminere Ingrounds 2). Do not use impact wrench. Tighten screws smoothly with torque of 4Nm.
ROBE lighting s. r. o. | Palackeho 416 | 757 01 Valasske Mezirici | Czech Republic | Tel.: +420 571 751 500 | E-mail: [email protected] | www.anolislighting.com



















