ANOLiS Eminere Inground 2, Inground 4 User Manual

FOR YOUR OWN SAFETY, PLEASE READ THIS USER MANUAL CAREFULLY BEFORE POWERING OR INSTALLING YOUR Eminere ! Save it for future reference.
This device has left our premises in absolutely perfect condition. In order to maintain this condition and to ensure safe operation, it is absolutely necessary for the user to follow the safety instructions and warnings written in this manual.
The manufacturer will not accept liability for any resulting damages caused by the non-observance of this manual or any unauthorized modification to the device.
Unauthorized modification will void warranty.
1. Safety instructions
DANGEROUS VOLTAGE CONSTITUTING A RISK OF ELECTRIC SHOCK IS PRESENT WITHIN THIS UNIT!
Always disconnect the fixture from AC power before cleaning, servicing or installing.
Make sure the supply/data cable cord is not damaged by sharp edges.
Do not install the fixture near an open flame.
Refer servicing to qualified service personnel.
This fixture falls under protection class I. Therefore this fixture has to be connected to a mains socket outlet with a protective earthing connection. Do not connect this fixture to a dimmer pack.
LED light emission. Risk of eye injury. Do not look into the beam from a short distance without suitable protective eyewear. Do not look at LEDs with magnifiers or similar optical instruments that may concentrate the light output.
Avoid brute force when installing or operating the fixture. The fixture was designed for outdoor use.
This fixture must not be used for underwater installation.
When choosing the installation spot, please make sure that the fixture is not exposed to extreme heat or dust. Avoid using the unit in locations subject to possible impacts.
The fixture body never must be covered with cloth or other materials when the fixture is under operation. Only operate the fixture after having checked that the housing is firmly closed and all screws are tightly fastened. The fixture becomes hot during operation. Allow the fixture to cool approximately 30 minutes prior to servicing or maintenance. Dismantling of the unit in case of its repair must not be carried out in rain.
Immunity of the equipment is designed for electromagnetic environments E1, E2, E3 according to the standard EN55103-2 ed.2 Electromagnetic compatibility. Product family standard for audio, video, audio-visual and entertainment lighting control apparatus for professional use. Part 2: Immunity. The product (covers and cables) must not be exposed to a high frequency electromagnetic field higher than 3V/m. The installation company should check levels of possible interferences above the tested levels E1,E2,E3 given by this standard (e.g. transmitters in surrounding area) before installing the equipment. Emission of the equipment complies with the standard EN55032 Electromagnetic compatibility of multimedia equipment Emission Requirements according to class B. Please consider that unauthorized modifications on the fixture are forbidden due to safety reasons!
Operate the fixture only after having familiarized yourself with its functions. Do not permit operation by persons not qualified to operate the fixture. If this device will be operated in any way different to the one described in this manual, the product may suffer damages and the warranty becomes void. Furthermore, any other operation may lead to dangers like short-circuit, burns, electric shock etc.
2. Fixture exterior view

- Eminere Inground 2
- Data/Power cable
- Tilt adjustment mechanism
- Mounting sleeve
3. Installation
The unit must be installed by a qualified electrician in accordance with all national and local electrical and construction codes and regulations.
This device falls under class one and must be grounded! With respect to the purpose of using the unit, the residual current circuit breaker is highly recommended.
3.1 Mounting the Eminere Inground
Warning! If the Eminere Inground will be exposed to max. allowed static load, the subsoil under the installation sleeve has
to withstand load of: 45kN (standard covering glass) 23kN (antiskid covering glass).
Example of installation of the Eminere Inground 2
- Prepare an adequate hole with a good drainage leaving at least 300 mm of gravel on the bottom of the hole for inserting the mounting sleeve (1) into the prepared hole. There must not stay water in the mounting sleeve.

- Remove the temporary cover (4) from the mounting sleeve (1) by unscrewing the six cap head allen bolts (5).
- In sleeve that Emineres inground wil be installed side by side, the four holes (10) on the side of the mounting sleeve serve for attaching next mounting sleeve by means of the four screws M5x10 (2) (with washer and nuts). Two rubber grommets (3) insert to the holes (9) on the side of the mounting sleeve which you will use for passing cables to next mounting sleeve (the rubber grommets insert to holes after screwing both mounting sleeves together).
- The connection points (7) serve for grounding the Eminere inground and the mounting sleeves each other.

- Connect the Eminere Inground (13) and all needed cables to the junction box (8).
Note: the cabel (11) of the Eminere Inground is 2 m long, we recommend to shorten the cable on 1 m.
The supply/data cable to and from the mounting sleeve must be placed in a protective tube (12).
- After connecting cables to the junction box (8), screw the Eminere Inground (13) to the mounting sleeve (1) by means of the countersunk- allen head bolts M5x18 (14). The crews (14) must be tightened smoothly with torque of 4Nm. Do not use impact wrench.
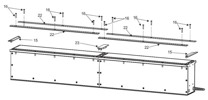
- Screw the cover plates (15), (22) on the mounting sleeve (1) by means of the six countersunk- allen head bolts M5x25 (16). The crews (16) must be tightened smoothly with torque of 4Nm. Do not use impact wrench.
Junnction box
The Eminere Inground is equipped with auto-switching power supply that automatically adjusts to any 50-60Hz AC power source from 120-277 Volts. The Emineres Inground should be connected to the E-box (E-box Daisy/E-box Star/E-box Pro/E-box Lite) which allows power supply of the Emineres Inground and their control.
Do not connect (disconnect) Emineres Inground to the E-box and each other when they are under voltage!
When you change any setting of the E-box, disconnect the E-box from power and connect it to power again to activate changes which you have made.
- Unscrew the four screws M4x20 (17) on the cover of the junction box and remove this cover (18) with gasket (19) to get access to the connection block (20).

- Connect cables to the junction box (20).

The three cable glands M20 (21) are intended for cable of diameter of 6-12mm. Cable gland M20
Eminere Inground We recommend to apply an adequate layer of the paste LOCTITE 5331 on the plastic holder of the cable gland before inserting it into the body of the gland and an adequate layer of the paste LOCTITE 577 on the thread of the gland body in case that you need to unscrew and remove the cable gland from the housing of the junction box and and screw it back to the housing. Remove end caps from cable glands before passing cables into the junction box. Fully tighten cable gland nuts and check that cables are properly fastened in the cable glands. Note: every cable gland has to be covered with the end cap if this cable gland is not used for cable passing. - After checking all connections, fill the junction box with synthetic resin. Make sure that the End cap is inserted in unused cable gland and the earth wire for cover is pulled out of the junction box before filling it. At filling of the junction box proceed according instructions stated on the bag of the resin. The connection block (20) has to be fully poured in the resin.
Prepared junction box and resin bag.
Junction box filled with resin.
- Screw the cover (18) with gasket (19) to the junction box by means of the four screws (17) and check they are fully tighten.
- If you install two or more Emineres Inground side by side, you have to screw three types of the cover plates: end (15), middle (23) and continuous (22). Insert the cover plate middle (23) between two mounting sleeves and screw rest of cover plates to the Emineres Inground by means of the countersunk allen head bolts M5x25 (16).
Note: If the Emineres Inground are installed in a loose soil (e.g. sand, gravel) the cover plate support (25) has to be fastened under the cover plate at outer (end) Eminere Inground. Screw the cover plate support (25) on the outside of the Eminere Inground by means of two screws Allen bolts M5x10 with washers and nuts M5.
Cover plates overview:
(15)-Cover plate end (optional )
(22)-Cover plate continuous (optional)
(23)-Cover plate middle (one piece is a standard part of fixture) - Tilt adjustment. The Eminere Inground can be tilted by +/-15° after installing it in the mounting sleeve. Push and hold the small tube (24) to release the lock of the Eminere Inground and tilt the device to desired position. Release the small tube (24) to lock the new position of the Eminere Inground.

Use E-boxes ( E-box Daisy, E-box Star, E-box Pro, E-box Lite) to control Emineres Inground. Please read the E-boxes user manual for more information about their setting.
Important: the item “E-box mode” has to be set at “Pass-Thr” (Personality E-box mode Pass-Thr) in the Ebox menu. DMX addressing of connected Emineres Inground has to be done manually by means of the Robe Universal Interface (or its wireless version Robe Universal Interface WTX) and a software RDM Manager. See the E-box user manual.
The tables below state max. theoretical number of Emineres connected to the one LED output of the E-box without using Booster boxes. Number of Emineres depends on voltage and cable length.


* Cable length is a total cable length between E-box and last connected Eminere. Example of connection:
E-box Daisy

Max. total cable length between one LED output of the E-box and last connected Eminere Inground must not exceed 100m.
4. Technical specifications
Power supply
- Electronic auto-ranging
- Input voltage: 120 – 277V AC, 50-60 Hz
- Power consumption:
Eminere Inground 2: 50W
Eminere Inground 4: 90W - Inrush current:
Eminere Inground 2: <70A/250µs
Eminere Inground 4: <100A/200µs
Optic
- Light source:
Eminere Inground 2: 24 x high power LEDs
Eminere Inground 4: 48 x high power LEDs - Colour variants: RGBW (W – 6500 K), RGBA, WW (W – 3000 K)
- Beam angles: Symetrical: 9°, 15°, 30°, 50°, 65°, 100°
Bi-symetrical: 10° x 30°, 30° x 10°, 10° x 60°, 60° x 10°, 35° x 70°, 70° x 35°, 15° x 90°, 90° x 15°
Anti- Skid (symmetrical): 18°, 22°, 35°, 50°, 65°, 100°
Anti-Skid (Bi-symmetrical): 20° x 35°, 20° x 65°, 20° x 90°, 40° x 70°
Wallwasher, Wide Wallwasher - Projected lumen maintenance: 60.000 hrs (L70 @ 25 °C / 77 °F)
Interface Protocol
- USITT DMX512, RDM
Compatible drivers
- E-box Daisy
1 output
1 Main power Input
Control: DMX, Art-Net, sACN , W-DMX control, RDM
Pixel control (1px= 1ft)
120-277V Input
Connection via terminal blocks, inlets via grommet
IP67 - E-box Star
6 outputs
1 Main power Input
Control: DMX, Art-Net, sACN , W-DMX control, RDM
Pixel control (1px= 1ft)
120-277V Input
Connection via terminal blocks, inlets via grommet
IP67 - E-box Pro
6 outputs
6 Main power Inputs
Control: DMX, Art-Net, sACN , W-DMX control, RDM
Pixel control (1px= 1ft)
120-277V Input
Connection via terminal blocks, inlets via grommet
IP67 - E-box Lite
1 output
1 Main power Input
Control: DMX, W-DMX control, RDM
Pixel control (1px= 1ft)
120-277V Input
Connection via screw terminal blocks, inlets via grommet
IP67
Mounting method
- Inground mount
Adjustability - +/- 15° after instalation
Housing - High pressure extruded aluminium body
- End caps – Die-Cast Aluminium
- Welded instalation sleeve for pre-instalation
- Tempered glass
Cooling system - Convection
Total heat dissipation - Eminere Inground 2: 130 BTU/h (calculated)
- Eminere inground 4: 228 BTU/h (calculated)
Protection factor - CE: IP 67
- US: Suitable for wet location
Impact rating - CE: IK09
Max. static load - Standard tempered glass: 45kN
- Antiskid tempered glass: 23kN
Operating ambient temperature range - -20°C /+40°C (-4°F /+104°F)
Operating temperature - +80 °C @ Ambient +40 °C (+176 °F @ Ambient +104 °F)
Connection - Junction box
Weight - Eminere Inground 2: 23.6 kg / 52 lbs (12.2 kg / 26.9 lbs Eminere Inground 2 Fixture, 11.4 kg / 25 lbs
install. Sleeve) - Eminere Inground 4: 43.85 kg/ 96.67 lbs (22.65 kg / 49.93 lbs Eminere Inground 4 Fixture, 21.2 kg / 46.74
lbs Install. Sleeve)
Dimensions (All dimensions in mm [inch])
- Eminere Inground 2/Eminere Inground 4

Dimensions with mounting sleeve (All dimensions in mm [inch])
- Eminere Inground 2/Eminere Inground 4

Included items
- 1 x Eminere Inground
- 1 x mounting sleeve
- 1 x User manual
Optional accessories
P/N 10980506 Eminere Inground 2 Mounting Sleeve
P/N 10980508 Eminere Inground 2 cover plate continuous
P/N 10980539 Eminere Inground 4 Mounting Sleeve
P/N 10980526 Eminere Inground 4 cover plate continuous
P/N 10980509 Eminere Inground cover plate end
P/N 10063655 E-box Daisy
P/N 10063638 E-box Daisy/W
P/N 10063657 E-box Lite
P/N 10063653 E-box Lite/W
P/N 10063654 E-box PRO
P/N 10063621 E-box PRO/W
P/N 10063656 E-box Star
P/N 10063644 E-box Star/W
5. Cleaning and maintenance
DANGER !
Disconnect from the mains before starting any maintenance or cleaning work
Rinse off loose dirt with low pressure water spray. Wash the housing with a soft brush or sponge and a mild, nonabrasive washing detergent. Rinse it. Maintenance and service operations are only to be carried out by a qualified person. Should you need any spare parts, please use ROBE OEM parts.
5.1 Disposing of the product
To preserve the environment please dispose or recycle this product at the end of its life according to the local regulations and codes.
6. Change Log
This section summarizes changes in the user manual.

Specifications are subject to change without notice.
October 21, 2021
Copyright © 2019-2021 Robe Lighting – All rights reserved
Made in CZECH REPUBLIC by ROBE LIGHTING s.r.o. Palackeho 416/20 CZ 75701 Valasske Mezirici







Note: If the Emineres Inground are installed in a loose soil (e.g. sand, gravel) the cover plate support (25) has to be fastened under the cover plate at outer (end) Eminere Inground. Screw the cover plate support (25) on the outside of the Eminere Inground by means of two screws Allen bolts M5x10 with washers and nuts M5.



















