Anolis ArcPower 192 Outdoor

QR code for user manual

FOR YOUR OWN SAFETY, PLEASE READ THIS USER MANUAL CAREFULLY BEFORE POWERING OR INSTALLING YOUR ArcPower 192 Outdoor CE ! Save it for future reference This device has left our premises in absolutely perfect condition. In order to maintain this condition and to ensure a safe operation, it is absolutely necessary for the user to follow the safety instructions and warning notes written in this manual. The manufacturer will not accept liability for any resulting damages caused by the non-observance of this manual or any unauthorized modification to the device. Please consider that damages caused by manual modifications to the device are not subject to warranty
Warning for fixtures with Harsh Environment Finish (HEF):
- Handle with care!
- Avoid any damage to the painted surface.
- Damaging the paint may result in corrosion and loss of warranty.
Safety instructions
DANGEROUS VOLTAGE CONSTITUTING A RISK OF ELECTRIC SHOCK IS PRESENT WITHIN THIS UNIT!
- Make sure that the available voltage is not higher than stated on the rear panel of the fixture.
- This fixture should be operated only from the type of power source indicated on the marking label. If you are not sure of the type of power supplied, consult your authorized distributor or local power company.
- Always disconnect the fixture from AC power before cleaning, removing or installing the fuses, or any part.
- Do not overload wall outlets and extension cords as this can result in fire or electric shock.
- Make sure that the power/data cord is never crimped or damaged by sharp edges. Check the fixture and the power/data cord from time to time.
- Do not install the unit near naked flames.
- During the operation the housing becomes hot (up to 60°C). Do not cover the housing with any materials (textile, plastic etc).
- Refer servicing to qualified service personnel.
- This fixture falls under protection class I. Therefore this fixture has to be connected to a mains socket outlet with a protective earthing connection.
- Do not connect this fixture to a dimmer pack.
- Keep compustible materials at least 10 cm away from the fixture.
- If the fixture has been exposed to drastic temperature fluctuation (e.g. after transportation), do not switch it on immediately. The arising condensation water might damage your device. Leave the device switched off until it has reached room temperature.
- Avoid brute force when installing or operating the fixture.
- The fixture was designed for outdoor use and it is intended for professional application only. It is not for household use.
- When choosing the installation spot, please make sure that the fixture is not exposed to extreme heat or dust.
- Avoid using the unit in locations subject to possible impacts.
- The fixture body never must be covered with cloth or other materials.
- Only operate the fixture after having checked that the housing is firmly closed and all screws are tightly fastened.
- The fixture becomes very hot during operation. Allow the fixture to cool approximately 30 minutes prior to manipulate with it.
- Operate the fixture only after having familiarized with its functions. Do not permit operation by persons not qualified for operating the fixture. Most damages are the result of unprofessional operation!
- Do not attempt to dismantle or modify the unit.
- Please consider that unauthorized modifications on the fixture are forbidden due to safety reasons!
- Please use the original packaging if the fixture is to be transported.
- If this device will be operated in any way different to the one described in this manual, the product may suffer damages and the guarantee becomes void. Furthermore, any other operation may lead to dangers like short-circuit, burns, electric shock etc.
- Immunity of the equipment is designed for electromagnetic environments E1, E2, E3 according to the standard EN55103-2 ed.2 Electromagnetic compatibility. Product family standard for audio, video, audiovisual and entertainment lighting control apparatus for professional use. Part 2: Immunity.
- The installation company should check levels of possible interferences above the tested levels E1,E2,E3 given by this standard (e.g. transmitters in surrounding area) before installing the equipment.
Emission of the equipment complies with the standard EN55032 Electromagnetic compatibility of multimedia equipment – Emission Requirements according to class B.
Fixture exterior view

- ArcPower 192 Outdoor CE
- Power/data cable
- Junction box
- LED modules connection cables + Chogori connectors (females):
LED output connection

Pin/ LED
- R-
- W+
- W-
- B-
- B+
- G-
- G+
- R+
Installation
Mounting the fixture
Ensure that the structure (truss, wall) to which you are attaching the unit is secure. Fixture must be installed by a qualified electrician in accordance with all national and local electrical and construction codes and regulations The ArcPower 192 Outdoor CE can be arranged in any position orientation. The housing of the control unit offers two mounting holes, each with a diameter of 13mm .

Caution: Overhead installation requires experience. Fixtures may cause severe injuries when crashing down! If you have doubts concerning the safety of a possible installation, do not install the device and consult installation with an expert.
Connection to the mains
The ArcPower 192 Outdoor CE uses a 5-cored power/data cable. The 3 cores serve for the power supply (3 x 1.5mm2 ) and next 2 shielded cores are intended for DMX connection
| Core | Connection | Core | Connection |
| Black | Live | Red | Data + |
| Blue | Neutral | White | Data – |
| Yellow/Green | Shielding | 0 |
The power/data cable is connected to a junction box as shown on the picture below

Connect the junction box to mains and DMX acording to the tables below
Power connection
| L | N | ||
| EU | Braun | Blue | Green/yellow |
| US | Black | White | Green |
Do not overload the supply line and the connecting leads.
DMX connection
| + | 0 | – |
| Data + | Data ground(shielding) | Data – |
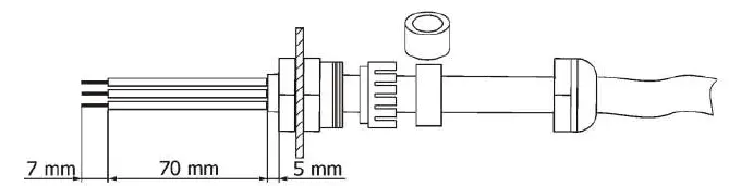
Remove end caps from cable glands before passing cables into the junction box. The four cable glands M20 with standard seals serve for cable of diameter of 6-12mm, for smaller diameter of cable (4-8mm) you have to remove original sealing from the cable gland M20 and use the enclosed reducing seal instead it. Four reducing seals for diameter of cable 4-8mm (P/N 13051388) are enclosed. Fully tighten cable gland nuts and check that cables are properly fastened in the cable glands.
Note: To keep declared IP rating, every cable gland has to be covered with the end cap if this cable gland is not used for cable passing. Screw the cover of the junction box and check that it is fully tighten.
Cable gland M20 MS (P/N 13051206)

4x Standard seal- part of cable gland M20 MS (for diameter of cable: 6-12mm)
4x Reducing seal (P/N 13051388) enclosed, standard seal has to be removed before installing this seal for diameter of cable: 4-8mm)


Connection between LED modules and ArcPower 192 Outdoor CE unit
Four cables Igus CF9.03.08 cable serve for interconnection between LED modules and the ArcPower 192 Outdoor CE. The Chogori connectors are marked by self-adhesive labels (LED1, LED2,LED3,LED4) next to the connectors and the following order of cable connections has to be kept to ensure correct operation of the driver:
- LED1-LED Zone 1
- LED2-LED Zone 2
- LED3-LED Zone 3
- LED4-LED Zone 4
NOTE: max. length betwen LED module and control unit: 80m (at 350mA load), 20m (at 700mA load).
Wireless DMX operation
The wireless version of the ArcPower 192 Outdoor CE is equipped with the Lumen Radio CRMX module and antenna for receiving DMX signal. CRMX module operates on the 2.4 GHz band. To set fixture to wireless DMX operation
- Set the unlink time in the menu PErS (PErS–>rAd.t.). Default value is 1 hour.
- To link the fixture with DMX transmitter. The fixture can be only linked with the transmitter by running the link procedure at DMX transmitter . After linking , the level of DMX signal ( 0-100 %) is displayed in the menu item “r.InF.“ (SPEC–>rAdI.–> r.InF.)
- To unlink the fixture from DMX transmitter. The fixture can be unlinked from receiver via the menu item “ UnL.“ (SPEC–>rAdI.–> UnL.).
ArcPower 192 Outdoor CE – DMX protocol
Version 1.0
| Mode/channel | Value | Function | Type of control | ||||
| 1 | 2 | 3 | 4 | 5 | |||
| 1 | 1 | 1 | 1 | 1 | 0 – 255 | Red LEDs-Zone 1 Red LEDs saturation control (0-100%) | proportional |
| 2 | 2 | 2 | 2 | 2 | 0 – 255 | Green LEDs-Zone 1 Green LEDs saturation control (0-100%) | proportional |
| 3 | 3 | 3 | 3 | 3 | 0 – 255 | Blue LEDs-Zone 1 Blue LEDs saturation control (0-100%) | proportional |
| – | 4 | 4 | – | 4 | 0 – 255 | White LEDs-Zone 1 White LEDs saturation control (0-100%) | proportional |
| 4 | 5 | 5 | 1 | 1 | 0 – 255 | Red LEDs-Zone 2 Red LEDs saturation control (0-100%) | proportional |
| 5 | 6 | 6 | 2 | 2 | 0 – 255 | Green LEDs-Zone 2 Green LEDs saturation control (0-100%) | proportional |
| 6 | 7 | 7 | 3 | 3 | 0 – 255 | Blue LEDs-Zone 2 Blue LEDs saturation control (0-100%) | proportional |
| – | 8 | 8 | – | 4 | 0 – 255 | White LEDs-Zone 2 White LEDs saturation control (0-100%) | proportional |
| 7 | 9 | 9 | 1 | 1 | 0 – 255 | Red LEDs-Zone 3 Red LEDs saturation control (0-100%) | proportional |
| 8 | 10 | 10 | 2 | 2 | 0 – 255 | Green LEDs-Zone 3 Green LEDs saturation control (0-100%) | proportional |
| 9 | 11 | 11 | 3 | 3 | 0 – 255 | Blue LEDs-Zone 3 Blue LEDs saturation control (0-100%) | proportional |
| – | 12 | 12 | – | 4 | 0 – 255 | White LEDs-Zone 3 White LEDs saturation control (0-100%) | proportional |
| 10 | 13 | 13 | 1 | 1 | 0 – 255 | Red LEDs-Zone 4 Red LEDs saturation control (0-100%) | proportional |
| 11 | 14 | 14 | 2 | 2 | 0 – 255 | Green LEDs-Zone 4 Green LEDs saturation control (0-100%) | proportional |
| 12 | 15 | 15 | 3 | 3 | 0 – 255 | Blue LEDs-Zone 4 Blue LEDs saturation control (0-100%) | proportional |
| – | 16 | 16 | – | 4 | 0 – 255 | White LEDs-Zone 4 White LEDs saturation control (0-100%) | proportional |
| – | – | 17 | – | – | 0 1-15 16 17-55 | Virtual colour wheel (all zones) No function White tones (coolàwarm) Blue (Blue=full, Red+Green+White=0) Red=0, Greenàup,Blue =full, White=0 | step proportional step proportional |
| 56 57 – 95 96 97 – 134 135 136 – 174 175 176 -214 215 216 – 254 255 | Light Blue (Red=0, Green=full, Blue =full, White=0) Red=0, Green=full, Blueàdown, White=0 Green (Red=0, Green=full, Blue =0, White=0) Redàup, Green=full, Blue=0, White=0 Yellow (Red=full, Green=full, Blue=0, White=0) Red=full, Greenàdown, Blue=0, White=0 Red(Red=full, Green=0, Blue=0, White=0) Red=full, Green=0, Blueàup, White=0 Magenta (Red=full, Green=0, Blue=full, White=0) Redàdown, Green=0, Blue=full, White=0 Blue (Red=0, Green=0, Blue=full, White=0) | step proportional step proportional step proportional step proportional step proportional step | |||||
| – | – | 18 | – | – | 0-31 32-63 64-95 96-127 128-143 144-159 160-191 192-223 224-255 | Shutter/ Strobe (all zones) Shutter closed Shutter open Strobe-effect from slow to fast Shutter open Opening pulses in sequences slow–> fast Closing pulses in sequences fast –> slow Shutter open Random strobe-effects from slow to fast Shutter open | step step proportional step proportional proportional step proportional step |
| – | – | 19 | 4 | 5 | 0 – 255 | Dimmer (all zones) Dimmer intensity from 0% to 100% | proportional |
Default settings=Bold print
| Menu Level 1 | Menu Level 2 | Menu Level 3 | Menu Level 4 | Menu Level 5 | Menu Level 6 |
| A001 | 001-512 | ||||
| InFo | Poti. | totL | |||
| rSEt | |||||
| DM.In. | rEd1 | 0-255 | |||
| : | |||||
| dimr | 0-255 | ||||
| tEMP. | Cur.t. | ||||
| Hi.tE. | |||||
| rSEt | |||||
| VErS. | IC1 | ||||
| IC2 | |||||
| PErS | dM.Pr. | Mod.1 | |||
| Mod.2 | |||||
| Mod.3 | |||||
| Mod.4 | |||||
| Mod.5 | |||||
| Mod.6 | |||||
| rAd.t. | 4 day, 0.1-25.5 1 (default) | ||||
| M.F.ti. | 0.1-25.5 | ||||
| tEM.U. | °C, °F | ||||
| bALA | bAL1 | On, Off | |||
| bAL2 | On, Off | ||||
| bAL3 | On, Off | ||||
| bAL4 | On, Off | ||||
| Stor. | |||||
| C.bAL. | rEd1 | 0..200..255 |
| Menu Level 1 | Menu Level 2 | Menu Level 3 | Menu Level 4 | Menu Level 5 | Menu Level 6 |
| GrE1 | 0……….255 | ||||
| bLu1 | 0..237..255 | ||||
| : | |||||
| rEd4 | 0..200..255 | ||||
| GrE4 | 0……….255 | ||||
| bLu4 | 0..237..255 | ||||
| Stor. | |||||
| LOAd | Out1 | 0.35A ; 0.70A | |||
| Out2 | 0.35A ; 0.70A | ||||
| Out3 | 0.35A ; 0.70A | ||||
| Out4 | 0.35A ; 0.70A | ||||
| Stor. | |||||
| In.Po. | rEd1 | 0-255 | |||
| : | |||||
| dimr | 0-255 | ||||
| Stor. | |||||
| dFSE | Yes | ||||
| No | |||||
| MAn.M. | rEd1 | 0-255 | |||
| : | |||||
| dimr | 0-255 | ||||
| tESt | |||||
| St.AL. | Auto | Off | |||
| tESt | |||||
| PrG.1 | |||||
| PrG.2 | |||||
| PLAY | tESt | ||||
| PrG.1 |
| Menu Level 1 | Menu Level 2 | Menu Level 3 | Menu Level 4 | Menu Level 5 | Menu Level 6 |
| PrG.2 | |||||
| Edit | PrG.1 | St.01 | rEd1 | 0-255 | |
| : | : | : | : | ||
| PrG.2 | St.68 | S.tim. | 0-25.5 sec | ||
| CoPY | |||||
| SPEC. | rdML | ||||
| rdMH | |||||
| rAdI | r.InF. | ||||
| r.UnL. | |||||
| I.bLi | On, Off | ||||
| Hold | On,Off | ||||
| uPd. |
RDM communicator:
Connect the RDM communicator to the fixture and from the menu “Control” select the “Remote LED display” item. The fixture´s control display with the four control buttons will appear on the screen of the RDM communicator

The control buttons have the following functions:
- ESCAPE button-leaves menu without saving changes.
- ENTER button- enters menu, confirms adjusted values and leaves menu.
- UP and – DOWN buttons – move between menu items on the same level, sets values.
Robe Universal Interface:
Run the RDM-network and click with the right button of the mouse on the fixture and select the Remote LED display option from the menu list as shown below.

The Remote LED Display window will appear. Now you can fullly control the fixture using the UP, Down, Enter, Escape and Reset buttons

Fixture Address
Use this menu to set the DMX address of the fixture.

To set a DMX address.
- Use the UP/DOWN buttons to find “ A001“ menu.
- Press the ENTER button.
- Use the UP/DOWN buttons to select desired start address.
- Press the ENTER button to confirm the choice.
Fixture information
Use this menu to read useful information about the fixture status.

To display desired information
- Use the UP/DOWN buttons to find the “ InFo“ menu.
- Press the ENTER button.
- Use the UP/DOWN buttons to select the required menu item.
- Press the ENTER button to confirm the choice.
Po.ti. — Power On Time. Use the menu item to read the number of operation hours. totL – the function shows the total number of the operation hours since the PSU Xtreme has been fabricated. rESEt – the function shows the number of the operation hours that the PSU Xtreme has been powered on since the counter was last reset. In order to reset this counter to 0 you have to press and hold the UP and DOWN buttons and at the same time press the ENTER button.
DM.In.—DMX values. Select this function to read DMX values of each channel received by the fixture.
tEMP — Fixture Temperatures. Select this menu to read the temperatures of the fixture:
- Cur.t. — the current temperature of the fixture inside.
- Hi.tE. – the menu item shows the max. temperatures of the fixture inside since the PSU Xtreme has been fabricated.
- rSEt — the menu item shows the maximum temperatures of the fixture inside since the counter was last reset. In order to reset this counter to 0 you have to press and hold the UP and DOWN buttons and at the same time press the ENTER button.
The temperatures can be displayed either in °C or °F units – see option “tEM.U“ in the menu “Pers“
VErS. —Software Versions. Select this function to read the software versions of the fixture processors.
- IC1 — LED modules control processor
- IC2 — EEprom
Personality
Use this menu to modify the PSU Xtreme operating behaviour.

- DM.Pr. — DMX preset. Select this menu item to set a desired DMX mode. Please refer to the chapter “DMX protocol” for detail description of each DMX mode
- rAd.t. — Unlink time. Use this menu to set time after that the linked fixture will be unliked from the transmitter, if the transmitter does not transmit DMX signal.
- OFF — Fixture is permanently linked to the transmitter.
- 4day-25.5 — Time from 4 days to 0.1-25.5 hrs. Default value is 1 hr.
- M.F.ti. — Max. Fade time. Select this menu item to set a desired max. fade time (0-25.5 sec.). This adjusted fade time influences fade of RGB and dimmer during DMX operation: If time between two receiving DMX values is > than fade time set in the item M.F.ti., the entire adjusted fade time will be used. If time between two receiving DMX values is < than fade time set in the item M.F.ti., the adjusted fade time will be reduced to fill entire time between the two receiving DMX values. e.g. M.F.ti.=2sec. and fixture has received Red=0 DMX, after 5 seconds will receive Red=255 DMX. It means, that red will go to full intensity during 2 seconds. M.F.ti.=8 sec. and fixture has received Red=0 DMX, after 5 seconds will receive Red=255 DMX. It means, that red will go to full intensity during 5 seconds. (Max, fade time is reduced from 8 sec. to 5 sec.).
- tEM.U. — Temperature Unit. Use this menu in order to display the fixture temperatures in desired units: °C or °F.
- bALA — White colour balance Use this menu item to enable (On) or disable (Off) the white balance which is set in the “White colour balance“ menu below. I f this function is set off, the fixture will use maximum value (255) of saturation for red, green and blue colour. This function has to be set on before adjusting a white balance. The white colour balance can be switched on/off for each LED output independent.
- C.bAL. — White colour balance setting. The menu gives access to the setting of the white balance. The white colour balance can be set for each LED output independent.
To set the white colour balance.
- Use a DMX controller or the “ Man.C.“ menu to set all LEDs on max. saturation.
- Use the UP/DOWN buttons to find the “ Pers.“ menu.
- Press the ENTER button.
- Use the UP/DOWN buttons to select the “C.bAL“menu.
- Press the ENTER button and the “rEd1“ item will appear on the display.
- Press the ENTER button and use the UP/DOWN buttons to set new max. value for the red LEDs.
- Press the ENTER button to confirm the choice.
- Use the UP/DOWN buttons to select next colour, the “GrE1“.
- Repeat steps 6-7 for this channel.
- Use the UP/DOWN buttons to select the last colour, the „bLu1“ and repeat steps 6-7 for this colour.
- Repeat this procedure for all LED outputs
- Use the UP/DOWN buttons to find the item “ Stor.“ and press the ENTER button to save adjusted values.
- LoAd — Load of LED outputs. The menu allows to choose desired current (350mA or 700mA) for each LED output. Warning: Set the “Load“ item before connecting the LED modules to the driver. Never connect 1Watt LEDs to the 700mA output otherwise these LEDs vill be destroyed.
- In.Po. — Init effect positions. Use this function to set all effects to the desired positions to which they will move after switching the fixture on (if DMX is not being received).
- dF.SE. — Default Settings .The menu item sets all fixture parameters to the default (factory) values.
Manual mode
Use this menu for control the fixture without connected DMX console.

To control fixture channels.
- Use the UP/DOWN buttons to find “ Man.M“ menu.
- Press the ENTER button.
- Use the UP/DOWN buttons to select desired effect (channel).
List of control channels:- “rEd1” – “rEd4” – red LEDs saturations, LED modules 1 -4
- “GrE1“ – “GrE4“ – green LEDs saturations, LED modules 1 -4
- “bLu1“ – “bLu4“ – blue LEDs saturations, LED modules 1 -4
- “Whi1“ – “Whi4“ white LEDs saturations, LED modules 1-4
- “MACr“ – colour macros
- “Stro.“ – a strobe, shutter
- “dimr“ – a dimmer
- Press the ENTER button and use the UP/DOWN buttons to set value , press the ENTER button to confirm it.
Test sequences
Use this menu to run test sequences without an external controller, which will show you some possibilities of using the PSU Xtreme.

Use this menu to run test sequences without an external controller, which will show you some possibilities of using the PSU Xtreme.
Stand-alone setting
The fixtures on a data link are not connected to the controller but can execute pre-set programs which can be different for every fixture.

Auto. — Automatic playback. This function allows you to select the program which will be played after switching the fixture on. Selected program will be played continuously in a loop.
- Use the UP/DOWN buttons to find “ St.AL.“ menu.
- Press the ENTER button.
- Use the UP/DOWN buttons to select “ Auto“ item.
- Press the ENTER button.
- Use the UP/DOWN buttons to select desired program.
- Press the ENTER button to confirm the choice.
PLAY — Playing program. By enter to this menu a complete overview of all programs is offered, from which the program to be run can be selected.
- Use the UP/DOWN buttons to find “ St.AL.“ menu.
- Press the ENTER button.
- Use the UP/DOWN buttons to select desired program.
- Press the ENTER button. The selected program runs in a loop.
Edit — Editing a program. The fixture offers 2 freely editable programs (PrG.1,PrG.2) each up to 68 steps. Every program step includes a fade time-the time taken by the step´s channel status to reach the desired level and a step time-the total time occupied by the step in the program. E.g. If “F.tim.“=5 second and “S.tim.“=20 second, effects will go to the desired position during 5 seconds and after that they will stay in this position for 15 seconds before going to the next prog. step
- Use the UP/DOWN buttons to find “ St.AL.“ menu and press the ENTER button.
- Use the UP/DOWN buttons to select “Edit“ menu and press the ENTER button.
- Use the UP/DOWN buttons to select a program you want to edit (PrG.1,PrG.2 and press ENTER button.
- Use the UP/DOWN buttons to select a desired program step (“St.01” – “St.68”) and press ENTER button.
- Use the UP/DOWN buttons to select a channel you want to edit and press the ENTER button.
List of editable items:- “P.End” – a total number of the program steps (value 1-68). This value should be set before start programming (e.g. if you want to create program with 10 steps, set P.End=10).
- “rEd1” – “rEd4” – a red LEDs saturation(0-255), module 1-4
- “GrE1“ – “GrE4“ –a green LEDs saturation (0-255) ), module 1-4
- “bLu1“ – “bLu4“ – a blue LEDs saturation (0-255) ), module 1-4
- “Whi1“ – “Whi4“ – a white LEDs saturation (0-255) ), module 1-4
- “MACr“ – colour macros (0-255), both modules
- “Stro.“ – a strobe, shutter (0-255), both modules
- “dimr“ – a dimmer (0-255), both modules
- “F.tim.“ – a fade time, (0-25.5) seconds
- “S.tim.“ – step time, value (0-25.5) seconds
- “COPY“. – this item duplicates the current prog. step to the next prog. step. The item “P.End” is increased automatically.
- Use the UP/DOWN buttons to set a DMX value of the channel and then press the ENTER button.
- Use the UP/DOWN buttons to select next channel and press the ENTER button.
- After having set all channels in the current program step, press the ESCAPE button to go by one menu level back and select another program step.
Special functions

- rdML — Code.This menu item shows the first part of the RDM identification code.
- rdMH — Code. This menu item shows the second part of the RDM identification code.
- rAdI — Wireless DMX (only wireless DMX version). The menu serves for reading of the wireless operation status.
- r.InF. — Signal level. The menu item shows level of received signal in %.
- r.UnL. — Wireless DMX unlink. The item serves for unlinking the fixture from a DMX transmitter.
- HoLd — Holding DMX. If the function is on, the last received DMX values are held in case, that DMX data receiving was interrupted (e.g. disconnected DMX controller).
uPd. — Updating mode. The menu item allows you to update software in the fixture via either serial or USB port of PC.
The following are required in order to update software:
- PC running Windows or Linux or macOS
- DSU file
- Flash cable RS232/DMX P/N13050624 (if you want to use a serial port of PC)
- Robe Universal Interface or Robe Universal interface WTX (if you want to use an USB port of PC)
Note: After the software updating the fixture will be set to default (factory) values.
To update software in the fixture:
DSU file is available from Robe web site at https://www.robe.cz/architectural/download/#software-updates File with extension zip is intended for Windows (used and tested from XP to W10 on 32/64bit systems). File with extension tbz is intended for Linux (used and tested on Debian and Ubuntu 32/64bit). File with extension dmg is intended for macOS (used and tested on OSX up to Sierra) XQuartz required, install it from https://www.xquartz.org/Save the download file to a folder on your computer. In case that you use windows, extract files in the zip file (e.g. DSU_PSUExtremeOutdoor_17100237.zip).
If you use the RDM Communicator:
- Disconnect the fixture from other fixtures in a DMX link.
- Connect the RDM communicator to the fixture and switch this fixture to the update mode :
- Use the UP/DOWN buttons to find “SPEC.“ menu.
- Press the ENTER button.
- Use the UP/DOWN buttons to select “ uPd.“ item.

- Press the ENTER button
- Use the UP/DOWN buttons to select “ yES“ option
- Press the ENTER button
Note: If you do not want to continue in software update, you have to switch off and on the fixture to escape from this menu
- Disconnect the RDM communicator from the fixture.
- Connect serial port of your PC with a DMX input of the fixture if you using the flash cable RS232/DMX.
If you use the Robe Universal Interface:
- Disconnect the fixture from other fixtures in a DMX link.
- Connect the Robe Universal Interface to the fixture and switch this fixture to the update mode :
- Run the RDM-Network and select menu item “Remote LED Display”
- Use the UP/DOWN buttons to find “SPEC.“ menu.
- Press the ENTER button.
- Use the UP/DOWN buttons to select “ uPd.“ item.
- Press the ENTER button
- Use the UP/DOWN buttons to select “ yES“ option
- Press the ENTER button
Note: If you do not want to continue in software update, you have to switch off and on the fixture to escape from this menu. - After switching the fixture to the update mode cancel the RDM-Network program.
- Disconnect the fixture from DMX controller.
- If you use the flash cable RS232/DMX, connect a serial port of your computer with DMX input of the fixture by means of the cable. If you use the Robe Universal Interface, connect a USB port of your computer with the Robe Universal Interface by means of the USB cable and DMX input of the fixture with the DMX output of the Robe Universal Interface via a DMX cable.
- Double-click the software uploader file (e.g. DSU_PSUExtremeOutdoor_17100237.exe) in the extracted files. The Software Uploader program will start running

Select correct “COM ” number if you use a Flash cable RS232/DMX or select “Robe Universal Interface ” if you use the Robe Universal Interface/Robe Universal Interface WTX and then click on the “Connect” button. If the connection is OK, click the “Start Uploading” button to start software uploading. It will take several minutes to perform software update. If the option “Incremental Update” is not checked, all processors will be updated (including processors with the same software version). If you wish to update only processors with not topical versions of software, check the “Incremental Update box“. Avoid interrupting the process. Update status is being displayed in the “Info Box” window. When the update is finished, the line with the text “Fixture is successfully updated“ will appear in this window. In case upload process is interrupted (e.g. power loss), the fixture stays in “Updating mode” and you will have to repeat the software update again. Another way, how to update software in the fixtures (especially large installation of fixtures) is to use the ROBE Uploader. It is a software for automatized software update of ROBE fixtures. It can take advantage of Ethernet ports and RDM support if present in the units. For more information please see https://www.robe.cz/robe-uploader/.
Technical specifications
- Power supply Electronic auto-ranging
- Input voltage: 100 – 240V AC, 50-60 Hz
- Power consumption: 600W
- Fuse: F12 A
Control
- Control: USITT DMX 512 (RDM support)
- DMX protocol modes: 5 (12,16,19,4,5) control channels
- Manual control of all effects via RDM communicator
- 2 user editable programs each up to 68 steps
- RGBW colour mixing
- Built-in colour macros
- White colour balance adjusting for each LED output separately
LED output
- Max.Output current: 350mA or 700 mA per colour
- Number of LED zones: 4
- Max. load per zone: 48LEDs (1W or 3W LEDs, max . 12 LEDs per colour) or 12 RGBW multichips (10W)
Connection
- LED zones: 4 x outdoor cable + 4 x connector Chogori CGRBDU-08BFFA-SL8001 (P/N 13051601)
NOTE: max. length betwen LED module and ArcPower 192 Outdoor US: 80m (at 350mA), 20m (at 700mA) - Connection between control unit and junction box: 5-cored power/data cable
Rigging
- Via slots in base of the driver
Temperatures
- Maximum ambient temperature: 40° C
- Maximum housing temperature: 60° C
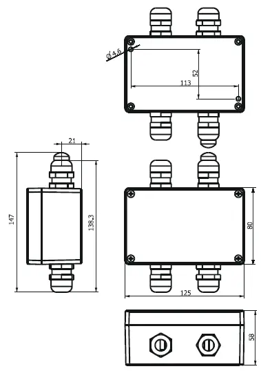
Dimensions (mm)

Junction box

Weight
9 kg
Protection factor
IP 67
Included items
- 1 x ArcPower 192 Outdoor CE
- 1 x Junction box (P/N 99714080)
- 4 x Connector Chogori CGRBDU 08BMMA-SL8001(male)
- 4 x reducing seel (P/N 1305 1388)-for diameter of cable 4-8mm
- 1 x User manual
Cleaning and maintenance
DANGER !
Disconnect from the mains before starting any cleaning or maintenance work
Rinse off loose dirt with a garden hose or low pressure water spray. Wash the housing with a soft brush or sponge and a mild, non-abrasive washing detergent. Rinse it. There are no serviceable parts inside the device. Maintenance and service operations are only to be carried out by a qualified person. Should you need any spare parts, please use genuine parts. If the power supply cable of this device will be damaged (cable firmly connected with the device), it has to be replaced by authorized distributors only in order to avoid hazards. Specifications are subject to change without notice.
May 24, 2022
Made in CZECH REPUBLIC by ROBE LIGHTING s.r.o. Palackeho 416/20 CZ 75701 Valasske Mezirici


















