ANOLiS Eminere Side 2 Wireless DMX LED Light User Manual
This device has left our premises in absolutely perfect condition. In order to maintain this condition and to ensure safe operation, it is absolutely necessary for the user to follow the safety instructions and warnings written in this manual.
The manufacturer will not accept liability for any resulting damages caused by the non-observance of this manual or any unauthorized modification to the device.
Unauthorized modification will void warranty.
Safety instructions
DANGEROUS VOLTAGE CONSTITUTING A RISK OF ELECTRIC SHOCK IS PRESENT WITHIN THIS UNIT!
This fixture should be operated only from the type of power source indicated on the marking label. If you are not sure of the type of power supplied, consult your authorized distributor or local power company.
Always disconnect the fixture from AC power before cleaning, servicing or installing.
Make sure the data/power cable is not damaged by sharp edges. Check the fixture and the power cord from time to time.
Do not install the unit near an open flame.
During operation the housing becomes hot.
Refer servicing to qualified service personnel.
This fixture falls under protection class I. Therefore this fixture has to be connected to a mains socket outlet with a protective earthing connection.
Do not connect this fixture to a dimmer pack.
LED light emission. Risk of eye injury. Do not look into the beam from a short distance without suitable protective eyewear. Do not look at LEDs with magnifiers or similar optical instruments that may concentrate the light output.
The fixture was designed for outdoor use. This fixture must not be used for underwater installation.
When choosing the installation spot, please make sure that the fixture is not exposed to extreme heat or dust.
Avoid using the unit in locations subject to possible impacts.
The fixture body never must be covered with cloth or other materials when the fixture is under operation.
Only operate the fixture after having checked that the housing is firmly closed and all screws are tightly fastened.
The fixture becomes hot during operation. Allow the fixture to cool approximately 30 minutes prior to servicing or maintenance.
Operate the fixture only after having familiarized yourself with its functions. Do not permit operation by persons not qualified to operate the fixture. Most damages are the result of unprofessional operation!
Immunity of the equipment is designed for electromagnetic environments E1, E2, E3 according to the standard EN55103-2 ed.2 Electromagnetic compatibility. Product family standard for audio, video, audiovisual and entertainment lighting control apparatus for professional use. Part 2: Immunity.
The product (covers and cables) must not be exposed to a high frequency electromagnetic field higher than 3V/m The installation company should check levels of possible interferences above the tested levels E1,E2,E3 given by this standard (e.g. transmitters in surrounding area) before installing the equipment. Emission of the equipment complies with the standard EN55032 Electromagnetic compatibility of multimedia equipment – Emission Requirements according to class B.
Please consider that unauthorized modifications on the fixture are forbidden due to safety reasons!
Please use the original packaging if the fixture is to be transported.
If this device will be operated in any way different to the one described in this manual, the product may suffer damages and the warranty becomes void. Furthermore, any other operation may lead to dangers like short-circuit, burns, electric shock etc.
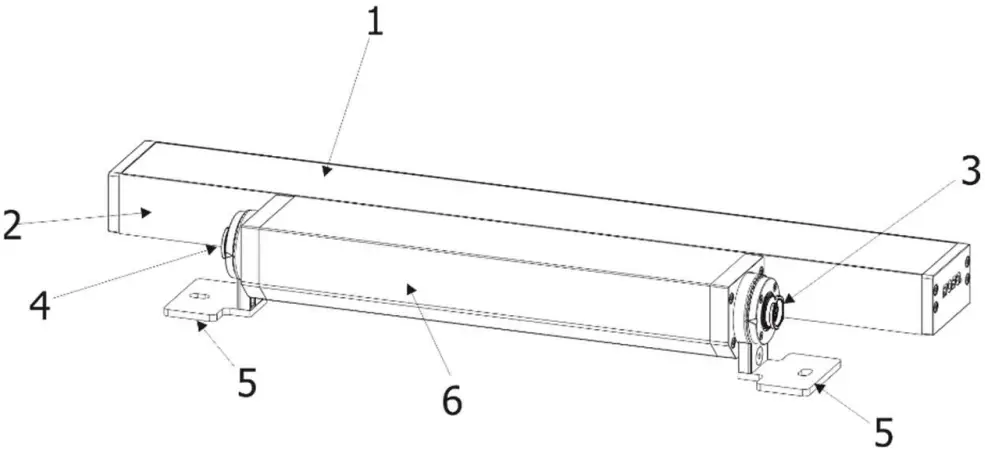
Fixture exterior view

- Transparent glass cover
- LED module
- Input connector
- Output connector
- Mounting brackets
- Aluminium base
Installation
Mounting the fixture
The Eminere Side can be arranged in any orientation on a flat, non-flammable surface by means of two mounting brackets (5), the LED module (2) can be tilted 120° to adjust desired beam position.
Ensure that the structure to which you are attaching the unit is secure.
Connection to mains
The unit must be installed by a qualified electrician in accordance with all national and local electrical and construction codes and regulations.
This device falls under class one and must be grounded!
The Eminere Side is equipped with auto-switching power supply that automatically adjusts to any 50-60Hz AC power source from 120-277 Volts.
Wiring of input/output connectors:
Input – panel connector (front view)
Output – panel connector (front view)
Fixture´s Amphenol connectors are dust and water protected according to IP 67 by mating with related Amphenol connectors.
They cannot stay disconnected outdoor.
The output panel connector at last fixture in the Eminere Sides chain has to always be covered with the watertight cap to keep declared IP rating.
Do not connect (disconnect) Eminere Sides to the Booster box and each other when they are under voltage!
Direct visibility between a transmitter and the Eminere Side Wireless DMX must be ensured without no obstacles (bildings, trees,….).
Distance between a DMX transmitter and the Eminere Side Wireless DMX depends on transmission range of used DMX transmitter, surrounds etc (we recommend to test behaviour of DMX transmitter with the Eminere Side Wireless DMX before installation).
Examples of connection
The Eminere Side can be only linked to a transmitter by running the link procedure at DMX transmitter .
The Eminere Side can be unlinked from the transmitter by running the unlink procedure at DMX transmitter or by switching off/on the Eminere Side three times while the transmitter is switched off.
During off/on unlink procedure, the Eminere Side has to be switched on for 5 seconds in steps 1-3:
Step 1: Eminere Off, Eminere On (5s)
Step 2: Eminere Off,Eminere On (5s)
Step 3: Eminere Off, Eminere On (5s)
Step 4: Eminere Off, Eminere On
Successful unlink is signalized by flashing LEDs at fourth switching the Eminere Side Off and On. If the LEDs flashing will not appear, probably the 5 seconds period has not been kept and you have to repeat the Off/On procedure to unlink the fixture from the DMX transmitter .
DMX addressing of connected Emineres Side has to be done manually by means of the Robe Universal Interface WTX and the software RDM Manager.
Number of connected Emineres Side in DMX chain also depends on their cable length, power voltage and type of Emineres Side.
The tables below state max. theoretical number of Emineres connected in series without Booster boxes.
| EMINERE SIDE 2 wireless DMX | Voltage | |||
| Cable length | 120V | 190V | 230V | 277V |
| 10 m | 32 | 32 | 32 | 32 |
| 20 m | 32 | 32 | 32 | 32 |
| 30 m | 28 | 32 | 32 | 32 |
| 50 m | 17 | 32 | 32 | 32 |
| 70 m | 12 | 31 | 32 | 32 |
| 100 m | 9 | 21 | 32 | 32 |
| EMINERE SIDE 3 wireless DMX | Voltage | |||
| Cable length * | 120V | 190V | 230V | 277V |
| 10 m | 28 | 32 | 32 | 32 |
| 20 m | 28 | 32 | 32 | 32 |
| 30 m | 19 | 32 | 32 | 32 |
| 50 m | 12 | 29 | 32 | 32 |
| 70 m | 8 | 21 | 31 | 32 |
| 100 m | 6 | 15 | 21 | 31 |
| EMINERE SIDE 4 wireless DMX | Voltage | |||
| Cable length * | 120V | 190V | 230V | 277V |
| 10 m | 21 | 32 | 32 | 32 |
| 20 m | 21 | 32 | 32 | 32 |
| 30 m | 15 | 32 | 32 | 32 |
| 50 m | 9 | 22 | 32 | 32 |
| 70 m | 6 | 16 | 23 | 32 |
| 100 m | 4 | 11 | 16 | 23 |
Cable length is a total cable length among connected Emineres Side wireless DMX including power cable of the first Eminere Side wireless DMX.
Example: Total cable length=L1+L2+L3
The Booster box
To compensate a voltage drop in a large installation, the Booster boxes have to be connected in the chain of Emineres Side.
The following tables give numbers of Emineres Side after which the Booster box has to be installed in the chain of Emineres Side.
| EMINERE SIDE 2 Wireless DMX | Max. possible number of Emineres Side 2 Wireless DMX = 32 | |||
| Voltage | ||||
| Cable length | 120V | 190V | 230V | 277V |
| 10 m | – | – | – | – |
| 20 m | – | – | – | – |
| 30 m | 28 | – | – | – |
| 50 m | 17 | – | – | – |
| 70 m | 12,24, | 31 | – | – |
| 100 m | 9,18 | 21 | 31 | |
| EMINERE SIDE 3 Wireless DMX | Max. possible number of Emineres Side 3 Wireless DMX = 32 | |||
| Voltage | ||||
| Cable length | 120V | 190V | 230V | 277V |
| 10 m | 28 | – | – | – |
| 20 m | 28 | – | – | – |
| 30 m | 19 | – | – | – |
| 50 m | 12,24 | 29 | – | – |
| 70 m | 8,16,24 | 21 | 31. | – |
| 100 m | 6,12,18,24,30 | 15,30 | 21 | 31 |
| EMINERE SIDE 4 Wireless DMX | Max. possible number of Emineres Side 4 Wireless DMX = 32 | |||
| Voltage | ||||
| Cable length | 120V | 190V | 230V | 277V |
| 10 m | 21 | – | – | – |
| 20 m | 21 | – | – | – |
| 30 m | 15,30 | – | – | – |
| 50 m | 9,18,27 | 22 | – | – |
| 70 m | 6,12,18,24,30 | 16 | 23 | – |
| 100 m | 4,8,12,16,20,24,2 8 | 11,22 | 16 | 23 |
Example: E-box Daisy, Power supply= 120V, Cable length=70m, fixture=Eminere Side 2 wireless DMX The Booster box has to be connected after every 12th Eminere 2 wireless DMX (fixture 12 and fixture 24) from 32 fixtures.
The Booster box installation
ALWAYS DISCONNECT THE EMINERES SIDE FROM MAINS BEFORE CONNECTING/DISCONNECTING THE BOOSTER BOX.
The Booster box falls under protection class I. Therefore, every Booster box has to be connected to a mains socket outlet with a protective earthing connection.
- Unscrew the four screws (1) from the cover (2) on the Booster box to get access to the terminal block (3) and two mounting holes of diameter of 4.6 mm (4).
- Screw the Booster box on a non-flammable flat surface and connect cables.

The Cable gland M20x1.5 for Power IN (5) is intended for a cable of a diameter of 7-13mm.
Remove the end cap from the cable gland before passing the cable.
Power connectionL N (earth) Core (EU) Braun Blue Green/yellow Core (US) Black White Green We recommend to apply an adequate layer of the paste LOCTITE 5331 on the plastic holder of the cable gland before inserting it into the body of the gland and an adequate layer of the paste LOCTITE 577 on the thread of the gland body in case of unscrewing the cable gland from the housing of the buster box and repeatedly screwing it back to the housing.

- Screw the cover (2) back on the Booster box.
Technical specifications
Power supply
- Electronic auto-ranging
- Input voltage: 120 – 277V AC, 50-60 Hz
- Power consumption:
- Eminere Side 2: 45W
- Eminere Side 3: 65W
- Eminere Side 4: 85W
- Inrush current:
- Eminere Side 2: <70A/250µs
- Eminere Side 3: <100A/200µs
- Eminere Side 4: <100A/200µs
Optic
- Light source:
- Eminere Side 2: 24 x high power LEDs
- Eminere Side 3: 36 x high power LEDs
- Eminere Side 4: 48 x high power LEDs
- Colour variants: RGBW, RGBA, single colour
- Beam Angle:
- Symetrical: 9°, 15°, 30°, 50°, 65°, 100°
- Bi-symetrical: 10° x 30°, 30° x 10°, 10° x 60°, 60° x 10°, 35° x 70°, 70° x 35°, 15° x 90°, 90° x 15°
- Wallwasher, Wide Wallwasher
- Projected LED Life: 60.000 Hrs (L70@25°/C77F)
Protection factor
- CE: IP 67
- US: Suitable for wet location
Impact rating
- CE: IK06
Operating ambient temperature range
- -20°C /+40°C (-4°F /+104°F)
Operating temperature
- +67°C @ Ambient +40°C (+153°F @ Ambient +104°F)
Connection
- Input: panel connector Amphenol ABAB-DMQ06000021-IN (P/N13052952)
- Output: panel connector Amphenol ABAB-DAQ06000021 (P/N13052953) + water-tight cap
Mounting method
- Via two L-shape brackets
- LED module “tilt” adjustment range: -105°/+15°
Sizes
- Eminere Side 2 (600mm / 2ft)
- Eminere Side 3 (900mm / 3ft)
- Eminere Side 4 (1200mm / 4ft)
Housing
- Aluminium extruded body with die-casted end caps
- Tempered glass
Cooling system
- Convection
Total heat dissipation
- Eminere Side 2: 130 BTU/h (calculated)
- Eminere Side 3: 177 BTU/h (calculated)
- Eminere Side 4: 228 BTU/h (calculated
Weight
- Eminere Side 2: 4.75 kg (10.47 lbs)
- Eminere Side 3: 7.0 kg (15.43 lbs)
- Eminere Side 4: 8.92 kg (19.67 lbs)
Dimensions
Dimensions (All dimensions in mm [inch])
- Eminere Side 2

- Eminere Side 3

- Eminere Side 4

- Booster box

Included items
- 1 x Eminere Side
- 1 x User manual
Jumper cables:
- P/N 13053052 Cable Jumper FF/FM 0,25m ABC1-DFQ06
- P/N 13053053 Cable Jumper FF/FM 0,5m ABC1-DFQ06
- P/N 13053054 Cable Jumper FF/FM 1m ABC1-DFQ06
- P/N 13053055 Cable Jumper FF/FM 2m ABC1-DFQ06
- P/N 13053056 Cable Jumper FF/FM 3m ABC1-DFQ06
- P/N 13053057 Cable Jumper FF/FM 5m ABC1-DFQ06
- P/N 13053058 Cable Jumper FF/FM 10m ABC1-DFQ06
- P/N 10980489 Shield for Eminere 2 RAL9011
- P/N 10980490 Shield for Eminere 3 RAL9011
- P/N 10980491 Shield for Eminere 4 RAL9011
Cleaning and maintenance
DANGER !
Disconnect from the mains before starting any maintenance or cleaning work
Rinse off loose dirt with low pressure water spray. Wash the housing with a soft brush or sponge and a mild, nonabrasive washing detergent. Rinse it.
Maintenance and service operations are only to be carried out by a qualified person.
Should you need any spare parts, please use ROBE OEM parts.
Disposing of the product
To preserve the environment please dispose or recycle this product at the end of its life according to the local regulations and codes.
Change Log
This section summarizes changes in the user manual.
| Version of the manual | Date of issue | Description of changes |
| 1.1 | 07/09/2021 | Option Wireless DMX to wired DMX removed |
| 1.2 | 05/10/2021 | New DMX chart |
| 1.3 | 18/10/2021 | Technical specifications changed |
Specifications are subject to change without notice.
October 18, 2021
Copyright © 2019-2021 Robe Lighting – All rights reserved
Made in CZECH REPUBLIC by ROBE LIGHTING s.r.o. Palackeho 416/20 CZ 75701 Valasske Mezirici

























