ANOLIS Divine 72 Wireless DMX User Manual
OR YOUR OWN SAFETY, PLEASE READ THIS USER MANUAL CAREFULLY BEFORE POWERING OR INSTALLING YOUR Divine 72! Save it for future reference.
This device has left our premises in absolutely perfect condition. In order to maintain this condition and to ensure safe operation, it is absolutely necessary for the user to follow the safety instructions and warnings written in this manual.
The manufacturer will not accept liability for any resulting damages caused by the non observance of this manual or any unauthorized modification to the device.
Unauthorized modification will void warranty.
This device is for professional use only. It is not for household use.
Safety instructions
DANGEROUS VOLTAGE CONSTITUTING A RISK OF ELECTRIC SHOCK IS PRESENT WITHIN THIS UNIT!
Make sure that the available voltage is not higher than stated on the rear side of the fixture.
This fixture should be operated only from the type of power source indicated on the marking label. If you are not sure of the type of power supplied, consult your authorized distributor or local power company.
Always disconnect the fixture from AC power before servicing or cleaning internally.
Do not overload supply line as this can result in fire or electric shock.
Make sure the power/data cable is never crimped or damaged by sharp edges. Check the fixture and the power/data cable from time to time.
Do not install the unit near an open flame.
Refer servicing to qualified service personnel.
This fixture falls under protection class I. Therefore, this fixture has to be connected to a mains socket outlet with a protective earthing connection.
Do not connect this fixture to a dimmer pack.
LED light emission. Risk of eye injury.
Do not look straight at the fixture´s LEDs during operation. The intense light beam may damage your eyes.
The light source(in RGBW and blue variant) contains blue LEDs.
Caution for RGBW and blue variant of the fixture!
RISK GROUP 2, RG-2
Keep combustible materials at least 0.5 m away from the fixture.
If the fixture has been exposed to drastic temperature fluctuation (e.g. after transportation), do not switch it on immediately. The arising condensation of water might damage your device. Leave the device switched off until it has reached room temperature.
Avoid brute force when installing or operating the fixture.
When choosing the installation spot, please make sure that the fixture is not exposed to extreme heat or dust.
Avoid using the unit in locations subject to possible impacts.
Only operate the fixture after having checked that the housing is firmly closed and all screws are tightly fastened.
Do not block the front glass cover with any object when the fixture is under operation.
The fixture body must never be covered with cloth or other materials.
The fixture becomes very hot during operation. Allow the fixture to cool approximately 30 minutes prior to servicing or maintenance.
Operate the fixture only after having familiarized yourself with its functions. Do not permit operation by persons not qualified to operate the fixture. Most damages are the result of unprofessional operation!
Please consider that unauthorized modifications on the fixture are forbidden due to safety reasons!
Please use the original packaging if the fixture is to be transported.
If this device will be operated in any way different to the one described in this manual, the product may suffer damages and the warranty becomes void. Furthermore, any ther operation may lead to dangers like short-circuit, burns, electric shock etc.
Immunity of the equipment is designed for electromagnetic environments E1, E2, E3 according to the standard EN55103-2 ed.2 Electromagnetic compatibility. Product family standard for audio, video, audiovisual and entertainment lighting control apparatus for professional use. Part 2: Immunity.
The product (covers and cables) must not be exposed to a high frequency electromagnetic field higher than 3V/m.
The installation company should check levels of possible interferences above the tested levels E1,E2,E3 given by this standard (e.g. transmitters in surrounding area) before installing the equipment. Emission of the equipment complies with the standard EN55032 Electromagnetic compatibility of multimedia equipment – Emission Requirements according to class B.
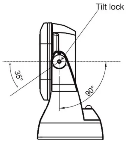
Fixture exterior view
- Side connection shown

- Rear connection shown

- Fixture with the Surface Mounting Adaptor

- Head with LED array
- Tilt lock
- Base
- Cable glands or blind flange
- Surface mounting adaptor
Note: customer can interchange the cable glands and blind flanges in the fixture base to create a side or rear connection.
Installation
Connection to the mains
Fixtures must be installed by a qualified electrician in accordance with all national and local electrical and construction codes and regulations.
This device falls under class one and must be grounded!
To connect the Divine 72 to mains and a DMX controller, use a 5-cored cable Flamar Li9YC11Y. The 3 cores serve for the power supply and 2 shielded cores are intended for DMX connection:
| Core | Connection | Core | Connection |
| Black | Live (L) | Red | Data + (+) |
| White | Neutral (N) | White | Data – (-) |
| Yellow/Green | GNDPE () | Shielding | Data ground (0) |
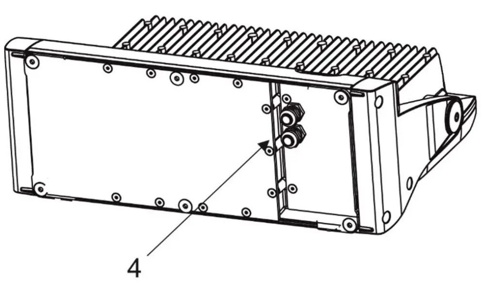
- Unscrew the eight screws (2) on the terminal block cover (1) to get access to the terminal block and control display (6) with four control buttons (7).
- Unscrew both cable glands (4) from the terminal block cover (1) and both blind flanges (10) from the fixture base.
- Apply an adequate layer of the paste LOCTITE 5331 on the plastic holder of the cable gland before inserting it into the body of the gland. Apply an adequate layer of the paste LOCTITE 577 on the thread of the gland body. Screw both cable glands (4) back into the terminal block cover (1) – see the picture below.
- Apply an adequate layer of the paste LOCTITE 577 on the thread of the blind flange. Screw both blind flanges (10) back into the fixture base.

- Remove the end cap (3) from cable glands before passing cable into the terminal block compartment. The two cable glands serve for cables of diameter of 4-8 mm.
- Pass the power/data cable through the cable gland (4) and connect it to the terminal block. To keep declared IP rating, every cable gland has to be covered with the end cap (3) if the cable gland is not used for cable passing.
Note: If you are interchanging cable glands (4) and blind flanges (10), do not forget to apply LOCTITE 5331 and 577 on cable glands and LOCTITE 577 on blind flanges. - After connecting cable(s) and setting the fixture by means of the control display and four buttons, place the cover (1) on the terminal block back, make sure the seal (5) is inserted correctly.
- Check that all cable glands and screws and blind flanges are firmly secured.
- Screw the terminal block cover (1) with eight screws using a tightening torque of 7Nm
Rear connection shown
Side connection shown
Base technical features of the ABB terminal block:
Type: DS 2,5/10.4L (4 springs mini blocks)
| Parameter | IEC | UL/SCA |
| Rated voltage | 800 V | 600 V |
| Rated current | 24 A | 15 A |
| Wire size rated/gauge | 2.5mm2/A2 | 12AWG |
| Wire stripping length | 9.5 mm | |
Mounting the fixture
The Divine 72 can be arranged in any position/orientation without altering its operation characteristics. The LED module can be tilted to desired position by means of the tilt lock. Use an Allen key 6 to adjust desired tilt position.
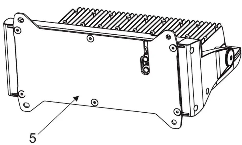
Screw the surface mounting adaptor (11) to the base of the fixture by means of the six screws M8x20 (8). Four slots (9) in the surface mounting adapter serve for mounting on a non-flammable flat surface via four screws.
Ensure that the structure to which you are attaching the fixture is secure.
Caution: Overhead installation requires experience. Fixtures may cause severe injuries when crashing down! If you have doubts concerning the safety of a possible installation, do not install the device and consult installation with an expert.
Top hat and half top hat installation
Half top hat
Top hat
- Unscrew screws M3x5 (3) to remove the bottom part (2) of the top hat (half top hat).
- Place the upper part (1) of the top hat (half top hat) on the fixture head and secure it by means of two screws M5x8 (4) with spring washers to the two threaded holes (A) on the back side of the fixture head.
- Place the bottom part (2) of the top hat (half top hat) on the bottom part of the fixture head and screw it back to the upper part (1) of the top hat (half top hat) by means of the screws M3x5 (3).
- Secure the bottom part of the top hat (half top hat) to the fixture head by means of two screws M5x8 (4) with spring washers to the two threaded holes (A) on the back side of the fixture head.
Barn door installation

- Unscrew screws M3x5 (3) to remove the bottom part (2) of the barn door.
- Place the upper part (1) of the barn door on the fixture head and secure it by means of two screws M5x10 (4) with spring washers to the two threaded holes (A) on the back side of the fixture head.
- Place the bottom part (2) of the barn door on the bottom part of the fixture head and screw it back to the upper part (1) of the barn door by means of the screws M3x5 (3).
- Secure the bottom part of the barn door to the fixture head by means of two screws M5x10 (4) with spring washers to the two threaded holes (A) on the back side of the fixture head.
C-clamp adaptor installation
The C-clamp adaptor can be installed on the side connection variant of the Divine 72.
- Screw the C-clamp adaptor (1) with the clamp (5) to the base (2) of the Divine 72 bymeans of the six Allen screws M8x25 (3) with spring washers 8 (4).
- Pull the safety wire through the attachment point (6) and around the truss and lockthe snap hook with screw lock gate. Use only a safety wire with a snap hook with screw lock gate.

Divine 72 – DMX protocols
RGBW variant
Version 1.2
| Mode 1 Channel | Mode 2* Channel | Mode 3 Channe | Mode 4 Channel | Value | Function | Type of control |
| 1 | 1 | – | – | 0-19 20-24 25-29 30-39 40-49 50-59 60-69 70-89 90-99 100-109 110-119 120-129 130-255 | Special functionsReserved To activate following functions , stop in DMX value for at least 3 sec. Corresponding menu items are temporily overrided. Display On Display Off RGBW colour mixing mode CMY colour mixing mode Colour calibration mode On Colour calibration mode Off Reserved Dimmer curve: linear Dimmer curve: square law White count On White count Off Reserved | step step step step step step step step step step |
| 2 | – | 1 | 1 | 0-255 | Red – all zones Red LEDs saturation control (0-100%) | proportiona |
| 3 | – | 2 | 2 | 0-255 | Green – all zones Green LEDs saturation control (0-100%) | proportiona |
| 4 | – | 3 | 3 | 0-255 | Blue – all zones Blue LEDs saturation control (0-100%) | proportiona |
| 5 | – | 4 | 4 | 0-255 | White – all zones White LEDs saturation control (0-100%) | proportiona |
| – | 2 | – | – | 0-255 | Red – zone 1 Red LEDs saturation control (0-100%) | proportiona |
| – | 3 | – | – | 0-255 | Green – zone 1 Green LEDs saturation control (0-100%) | proportiona |
| – | 4 | – | – | 0-255 | Blue – zone 1 Blue LEDs saturation control (0-100%) | |
| – | 5 | – | – | 0-255 | White – zone 1 White LEDs saturation control (0-100%) | |
| – | 6 | – | – | 0-255 | Red zone 2 Red LEDs saturation control (0-100%) | |
| – | 7 | – | – | 0-255 | Green – zone 2 Green LEDs saturation control (0-100%) | |
| – | 8 | – | – | 0-255 | Blue – zone 2 Blue LEDs saturation control (0-100%) | |
| – | 9 | – | – | 0-255 | White – zone 2 White LEDs saturation control (0-100%) | |
| 6 | 10 | – | – | 0 1-255 | CT0 – all zones No function Colour temperature correcti | |
| 7 | 11 | – | – | 0 1-2 3 4-5 6 7-9 10-12 13-15 16 17-55 56 57 – 95 96 97 – 134 135 136 – 174 175 176 -214 215 216 – 246 247 248-251 252-255 | Virtual colour wheel -all zones No function White 2700 K White 2700 K (tungsten emulation)** White 3200 K White 3200 K (tungsten emulation)** White 4200 K White 5600 K White 8000 K Blue (Blue=full, Red+Green+White=0) Red=0, Greenàup,Blue =full, White=0 Light Blue (Red=0, Green=full, Blue =full, white=0) Red=0, Green=full, Blueàdown, White=0 Green (Red=0, Green=full, Blue =0, White=0) Redàup, Green=full, Blue=0, White=0 Yellow (Red=full, Green=full, Blue=0,White=0) Red=full, Greenàdown, Blue=0, White=0 Red(Red=full, Green=0, Blue=0, White=0) Red=full, Green=0, Blueàup, White=0 Magenta (Red=full, Green=0, Blue=full, White=0) Redàdown, Green=0, Blue=full, White=0 Blue (Red=0, Green=0, Blue=full, White=0) Rainbow effect( with fade time) from min.->max. speed Rainbow effect(without fade time)from min.->max.speed | step step step step step step step step step proportional step proportional step proportional step proportional step proportional step proportional step proportional proportional |
| 8 | 12 | – | – | 0-31 32-63 64-95 96-127 128-143 144-159 160-191 192-223 224-255 | Shutter/ Strobe – all zones Shutter closed Shutter open Strobe-effect from slow to fast Shutter open Opening pulses in sequences slow–> fast Closing pulses in sequences fast –> slow Shutter open Random strobe-effects from slow to fast Shutter open | step step proportional step proportional proportional step proportional step |
| 9 | 13 | 5 | – | 0 – 255 | Dimmer coarse – all zones Dimmer intensity from 0% to 100% | proportional |
| 10 | 14 | – | – | 0 – 255 | Dimmer fine – all zones Dimmer intensity from min.—>max. | proportional |
*Default mode
**Halogen lamp effect during dimming
LED zones:

Red LEDs
Green LEDs
Blue LEDs
White LEDs (in order to light white LEDs only, the function White Count has to be set Off)
Single Colour (SC) variant
Version 1.0
| Mode 1 Channel | Mode 2* Channel | Value | Function | Type of control |
| 1 | 1 | 0-19 20-24 25-29 30-89 90-99 100-109 110-255 | Special functions Reserved To activate following functions , stop in DMX value for at least 3 sec. Corresponding menu items are temporily overrided. Display On Display Off Reserved Dimmer curve: linear Dimmer curve: square law Reserved | step step step step |
| 2 | – | 0-255 | LEDs group 1 – all zones LEDs saturation control (0-100%) | LEDs saturation control (0-100%) proportional |
| 3 | – | 0-255 | LEDs group 2 – all zones LEDs saturation control (0-100%)LEDs group 3 – all zones LEDs saturation control (0-100%) | LEDs saturation control (0-100%) proportional |
| 4 | – | 0-255 | LEDs group 4 – all zones LEDs saturation control (0-100%) | LEDs saturation control (0-100%) proportional |
| 5 | – | 0-255 | LEDs group 4 – all zones LEDs saturation control (0-100%) | proportional |
| – | 2 | 0-255 | LEDs group 1 – zone 1 LEDs saturation control (0-100%) | proportional |
| – | 3 | 0-255 | LEDs group 1 – zone 1 LEDs saturation control (0-100%) | proportional |
| – | 4 | 0-255 | LEDs group 3 – zone 1 LEDs saturation control (0-100%) | proportional |
| – | 5 | 0-255 | LEDs group 4- zone 1 LEDs saturation control (0-100%) | proportional |
| – | 6 | 0-255 | LEDs group 1 – zone 2 LEDs saturation control (0-100%) | proportional |
| – | 7 | 0-255 | LEDs group 2 – zone 2 LEDs saturation control (0-100%) | proportional |
| – | 8 | 0-255 | LEDs group 3 – zone 2 LEDs saturation control (0-100%) | proportional |
| – | 9 | 0-255 | LEDs group 4 – zone 2 LEDs saturation control (0-100%) | proportional |
| 6 | 10 | 0-31 32-63 64-95 96-127 128-143 144-159 160-191 192-223 224-255 | Shutter/ Strobe – all zones Shutter closed Strobe-effect from slow to fast Shutter open Opening pulses in sequences slow–> fast Closing pulses in sequences fast –> slow Shutter open Random strobe-effects from slow to fast Shutter open | step step proportional step proportional proportional step proportional step |
| 7 | 11 | 0 – 255 | Dimmer coarse – all zones Dimmer intensity from 0% to 100% | proportional |
| 8 | 12 | 0 – 255 | Dimmer fine – all zones Dimmer intensity from min.—>max. | proportional |
LED zones:

LEDs group 1
LEDs group 2
LEDs group 3
LEDs group 4
TW variant
| Mode 1 Channel | Mode 2* Channel | Mode 3 Channel | Mode 4 Channel | Value | Function | Type of control |
| 1 | 1 | – | – | 0-1920-2425-2930-8990-99100-109110-255 | Special functionsReserved (0=default)To activate following functions , stop in DMX valuefor at least 3 sec.Corresponding menu items are temporily overrided.Display OnDisplay OffReservedDimmer curve: linearDimmer curve: square lawReserved | stepstepstepstepstep |
| 2 | – | 1 | 1 | 0-255 | Warm white – all zonesWarm white LEDs saturation control (0-100%) (255=default) | proportional |
| 3 | – | 2 | 2 | 0-255 | Cool white – all zonesCool white LEDs saturation control (0-100%) (255=default) | proportional |
| – | 2 | – | – | 0-255 | Warm white – zone 1Warm white LEDs saturation control (0-100%) (255=default) | proportional |
| – | 3 | – | – | 0-255 | Cool white – zone 1Cool white LEDs saturation control (0-100%) (255=default) | proportional |
| – | 4 | – | – | 0-255 | Warm white – zone 2Warm white LEDs saturation control (0-100%) (255=default) | proportional |
| – | 5 | – | – | 0-255 | Cool white – zone 2Cool white LEDs saturation control (0-100%) (255=default) | proportional |
| 4 | 6 | – | – | 01-127128129-255 | Virtual colour wheel -all zonesNo functionWarm white 100%, Cool white from 0% –>99%100% Warm white, 100% Cool whiteCool white 100%, Warm white from 99% –>0% | |
| step | ||||||
| proportional | ||||||
| step | ||||||
| proportional | ||||||
| 5 | 7 | – | – | 0-3132-6364-9596-127128-143144-159160-191192-223224-255 | Shutter/ Strobe – all zonesShutter closedShutter open (0=default)Strobe-effect from slow to fastShutter openOpening pulses in sequences slow–> fastClosing pulses in sequences fast –> slowShutter openRandom strobe-effects from slow to fastShutter open | |
| step | ||||||
| step | ||||||
| proportional | ||||||
| stepproportional | ||||||
| proportional | ||||||
| step | ||||||
| proportional | ||||||
| step | ||||||
| 6 | 8 | 3 | – | 0 – 255 | Dimmer coarse – all zonesDimmer intensity from 0% to 100% (0=default) | proportional |
| 7 | 9 | – | – | 0 – 255 | Dimmer fine – all zonesDimmer intensity from min.—>max. (0=default) | proportional |
Control menu
The Divine 72 is equipped with a 4-segment LED display which allows you to set the fixture´s behaviour according to your needs, obtain information on its operation, control all range of effects and program it in stand-alone mode.
The four control buttons have the following functions:
ESCAPE button-leaves menu without saving changes.
ENTER button- enters menu, confirms adjusted values and leaves menu.
UP and
DOWN buttons – move between menu items on the same level, setsvalues
After switching the fixture on, display shows current DMX address.
Fixture Address
Use this menu to set the DMX address of the fixture.
dM.Ad. — DMX addressing. Select this submenu to set a DMX start address. To set a DMX address
- Use UP/DOWN buttons to find “ A001“ menu.
- Press the ENTER button.
- Use the UP/DOWN buttons to select desired start address.
- Press the ENTER button to confirm the choice.
Note: After switching on, the Divine 72 will automatically detect whether DMX 512 data is received or not. If there is no data received at the DMX input, the display will start to flash the set address
DM.Pr. — DMX preset. Select this menu item to set a desired DMX mode
Fixture information
Use this menu to read useful information about the fixture status. To display desired information.
- Use the UP/DOWN buttons to find the “ InFo“ menu.
- Press the ENTER button.
- Use the UP/DOWN buttons to select the required menu item.
- Press the ENTER button to confirm the choice
Po.ti. — Power On Time. Use the menu item to read the number of operation hours of the fixture. totL – the function shows the total number of the operation hours since the Divine 72 RGBW has been fabricated.
rESEt – the function shows the number of the operation hours since the counter was last reset. In order to reset this counter to 0, you have to press and hold the UP and DOWN buttons and at the same time press the ENTER button.
VErS. —Software Versions. Select this function to read the software version of the fixture processors.
ICI.b. — display processor 1
IC2.b. — display processor 2
IC3.L. — LED processor 3
IC4.L. — LED processor 4
ViFi — Wireless DMX module (if it is not installed, the message “MiSS” is displayed
tEMP — Fixture Temperatures. Select this menu to read the temperatures of the fixture:
bASE
Cur.t. — the current temperature of the fixture base.
Hi.tE. — the menu item shows the max. temperatures of the fixture base since the fixture has been fabricated.
rSEt — the menu item shows the maximum temperatures of the fixture base since the counter was last reset. In order to reset this counter to 0 you have to press and hold the UP and DOWN buttons and at the same time press the ENTER button
LEdS
Cur.t. — the current temperature of the fixture LEDs PCB.
Hi.tE. — the menu item shows the max. temperatures of the LEDs PCB base since the fixture has been fabricated.
rSEt — the menu item shows the maximum temperatures of the LEDs PCB since the counter was last reset. In order to reset this counter to 0 you have to press and hold the UP and DOWN buttons and at the same time press the ENTER button
The temperatures can be displayed in either °C or °F units – see option “tnP.u.“ in the menu “Pers“.
DM.In.—DMX values. Select this function to read DMX values of each channel received by the fixture.
Personality
Use this menu to modify the Divine 72 operating behaviour.
DM.Pr. — DMX preset. Select this menu item to set a desired DMX mode. Please refer to the chapter “DMX protocol” for detail description of each DMX mode.
dM.In. — DMX input. Select this menu item to select desired DMX input:
VirE — Wired DMX.
VirL — Wireless DMX
VrLo — Wireless DMX –> wired DMX. The fixture receives wireless DMX signal and sends it to its DMX output connector. Next fixtures can be connected to this fixture by DMX cable (fixture works as a Wireless-DMX converter).
AnLG — Analog dimmer. If this option is selected, the dimmer channel can be controlled via DC voltage (0-10V) connected between pins 1 (data ground) and 3 (Data +) of DMX input of the fixture (0-data ground, 10V-data +). This option is suitable for single colour variant of the fixture only
Procedure of setting:
- Set fixture´s channels at desired values (by means of menu item Init Positions “In.Po”).
- Disconnect DMX controller.
- Select option “AnLG” from menu DMX input.
- Connect DC voltage to the DMX input of the fixture.
F.tin. — Max. Fade time. Select this menu item to set a desired max. fade time (0-25.4 sec.). This adjusted fade time influences fade of Red, Green, Blue,White and dimmer during DMX operation:
If time between two receiving DMX values is > than fade time set in the item “F.tin. “, the entire adjusted fade time will be used.
DiSP. — Display adjusting. This function allows you to change the display settings.
d.On — this function allows you to keep the display on or to turn off automatically 2 minutes after pressing any button on the control panel.
d.Int. — select this function to adjust the display intensity (6-min.,100-max.).
turn — select this function to rotate menu 180 degrees from current orientation.
C.CL.n. — Colour calibration. If the function is on, the white output (R+G+B+W=full, Whites 2700K,3200K, 4200K, 5600K and 8000K) from the fixture is more uniform.
C.MI.n. — Colour mixing mode. This menu item allows to select desired colour mixing mode:
rGbV — RGBW mode
CMY — CMY mode (the white channel is not active in this mode)
diM.C. — Dimmer curve. The menu item allows to select desired dimmer curve:
Lin. — linear
SqL — Square law
UhI.C. — White counting. If this function is on, the white channel uses red, green and blue channels in proportional relation to ensure max. light output in a white colour ( if white channel =full, also red, green and blue channels are full).
tnP.u. — Temperature unit. Use this menu in order to display the fixture temperatures in desired units: °C or °F.
In.Po. — Init effect positions. Use this function to set all effects to the desired positions to which they will move after switching the fixture on (if DMX is not receiving).
dF.SE. — Default Settings .The menu item sets all fixture parameters to the default (factory) values.
Manual mode
Use this menu to control all channels via buttons of the control board.
Items in this menu depend on selected DMX mode.
To control fixture channels.
- Use the UP/DOWN buttons to find “ Man.C“ menu.
- Press the ENTER button.
- Use the UP/DOWN buttons to select desired effect (channel).
List of control channels:- “Func” – a channel Special Functions
- “rEd.1” – a red LEDs saturation coarse- zone 1
- “GrE.1” – a green LEDs saturation coarse- zone 1
- “bLU.1” – a blue LEDs saturation coarse- zone 1
- “VhI.1” – a white LEDs saturation coarse- zone 1
- “rEd.2” – a red LEDs saturation coarse- zone 2
- “GrE.2” – a green LEDs saturation coarse- zone 2
- “bLU.2” – a blue LEDs saturation coarse- zone 2
- “VhI.2” – a white LEDs saturation coarse- zone 2
- “Cto” – a colour temperature correction
- “Vir.C.” – a virtual colour wheel
- “Stro.“ – a strobe/shutter
- “dinr“ – a coarse dimmer
- “din.F” a fine dimmer
- Press the ENTER button and use the UP/DOWN buttons to set value , press the ENTER button to confirm it.
Test sequences
Use this menu to run demo-test sequences without an external controller, which will show you some possibilities of using the Divine 72.
Stand-alone setting
The fixtures on a data link are not connected to the controller but can execute pre-set programs which can be different for every fixture. “Stand-alone operation” can be applied to the single fixture or to multiple fixtures operating synchronously.
Auto. — Automatic playback. This function allows you to select the program which will be played after switching the fixture on. Selected program will be played continuously in a loop.
- Use the UP/DOWN buttons to select test program (“tESt”), user program (“u.PrG”) or disable this function (OFF).
- Press the ENTER button to confirm the choice.
PLAY — Playing program. Entering this menu provides a complete overview of all programs offered, from which the selected program can run.
- Use the UP/DOWN buttons to select desired program.
- Press the ENTER button. The selected program runs in a loop.
Edit — Editing a program. The fixture offers a freely editable program up to 40 steps. Every program step includes a step time-the total time occupied by the step in the program and a fade time- during which effects move to new positions.
- Use the UP/DOWN buttons to select a desired program step (“St.1” – “St.40”) and press ENTER button.
- Use the UP/DOWN buttons to select a channel you want to edit and press the ENTER button. List of editable items:
- “P.End” – a total number of the program steps (value 1-40). This value should be set before start oprogramming (e.g. if you want to create a program with 10 steps, set P.End=10).
- “Func” – a channel Special Functions
- “rEd.1” – a red LEDs saturation coarse- zone 1
- “GrE.1” – a green LEDs saturation coarse- zone 1
- “bLU.1” – a blue LEDs saturation coarse- zone 1
- “VhI.1” – a white LEDs saturation coarse- zone 1
- “rEd.2” – a red LEDs saturation coarse- zone 2
- “GrE.2” – a green LEDs saturation coarse- zone 2
- “bLU.2” – a blue LEDs saturation coarse- zone 2
- “VhI.2” – a white LEDs saturation coarse- zone 2
- “Cto” – a colour temperature correction
- “Vir.C.” – a virtual colour wheel
- “Stro.“ – a strobe/shutter
- “dinr“ – a coarse dimmer
- “din.F” a fine dimmer
- “F.tin” a fade time
- “S.tin” a step time
- “COPY“ – this item duplicates the current prog. step to the next prog. step.
Note: Items in this menu depend on selected DMX mode.
- Use the UP/DOWN buttons to set a DMX value of the channel andthen press the ENTER button.
- Use the UP/DOWN buttons to select next channel and press the ENTER button.
- After having set all channels in the current program step, press the ESCAPE button to go one menu level back and select another program step.
Special functions
rdM.L — Code.This menu item shows the first part of the RDM identification code.
rdM.H –— Code. This menu item shows the second part of the RDM identification code.
ViFi — Wireless DMX. The menu serves for selecting and setting of the wireless DMX module (only for Wireless DMX version).
50 — Wireless DMX signal intensity. The menu item shows level of received signal in % (e.g. 50). If the fixture is not linked to the transmitter, “MiSS” is displayed.
UnLI — Wireless DMX unlink. The item serves for unlinking the fixture from transmitter.
AdJ — Effect Adjustment. The menu allows calibration of white colours.
MAn.C. — Manual control. The menu item allows you to set fixture´s channels to desired positions before colour calibrations.
- C.CAL —Colour calibration. Calibration of white colours.
- C.rEd —Red LEDs saturation setting.
- C.GrE. —Green LEDs saturation setting.
- C.bLU —Blue LEDs saturation setting.
- C.VhI. —White LEDs saturation setting.
- Stor. —Saving adjusted values.
LOA.C. – Loading a default (factory) calibration.
uPd.M. — Updating mode. The menu item allows you to update software in the fixture via either serial or USB port of PC.
The following are required in order to update software:
- PC running Windows or Linux or macOS
- DSU file
- Flash cable RS232/DMX P/N13050624 (if you want to use a serial port of PC)
- Robe Universal Interface or Robe Universal interface WTX (if you want to use an USB port of PC)
After the software updating the fixture will be set to default (factory) values.
To update software in the fixture:
- DSU file is available from Robe web site https://www.robe.cz/architectural/download/#software-updates. File with extension zip is intended for Windows (used and tested from XP to W10 on 32/64bit systems). File with extension tbz is intended for Linux (used and tested on Debian and Ubuntu 32/64bit). File with extension dmg is inte ded for macOS (used and tested on OSX up to Sierra) XQuartz required, install it from https://www.xquartz.org/ Save the download file to a folder on your computer.
In case that you use windows, extract files in the zip file (e.g. DSU_Divine72RGBW_19013038.zip) - Disconnect the fixture from DMX controller.
- If you use the flash cable RS232/DMX, connect a serial port of your computer with DMX input of the fixture by means of the cable.
If you use the Robe Universal Interface, connect a USB port of your computer with the Robe Universal Interface by means of the USB cable and DMX input of the fixture with the DMX output of the Robe Universal Interface via a DMX cable. - Switch the fixture to the update mode (SPEC –> uPd.M. –>yES).
Note: If you do not want to continue in the software update, you have to switch off and on the fixture to escape from the updating mode. We recommend to cancel all running programs on your computer before starting the software update. - Double-click the software uploader file (e.g. DSU_Divine72RGBW_19013038.exe) inthe extracted files. The Software Uploader program will start running.
- Select correct “COM ” number if you use a Flash cable RS232/DMX or select “Robe Universal Interface ”
if you use the Robe Universal Interface/Robe Universal Interface WTX and then click on the “Connect” button. - If the connection is OK, click the “Start Uploading” button to start software uploading. It will take several minutes to perform software update.
If the option “Incremental Update” is not checked, all processors will be updated (including processors with the same software version).
If you wish to update only processors with not topical versions of software, check the “Incremental Update box“.
Avoid interrupting the process. Update status is being displayed in the “Info Box” window. When the update is finished, the line with the text “Fixture is successfully updated“ will appear in this window.
In case upload process is interrupted (e.g. power loss), the fixture stays in “Updating mode” and you will have to repeat the software update again\
Another way, how to update software in the fixtures (especially large installation of fixtures) is to use the ROBE Uploader. It is a software for automatized software update of ROBE fixtures.
For more information please see https://www.robe.cz/robe-uploader/.
Technical specifications
Power supply
- Electronic auto-ranging
- Input voltage: 100 – 277V AC, 50-60 Hz
- Max. power consumption: 410W (power factor 0.98)
- In Rush current: 30A Cold Start, 25°C (77°F) Ambient, Full Load 230 VAC 20A Cold Start, 25°C (77°F) Ambient, Full Load 115 VAC
Optical & Effects
- Light source – RGB(CW) variant: 72 x high power LED’s
- Light source – Pure White variant: 72 x PW (6500K) high power LED’s
- Light source – Tunable White variant: 72 x TW (6500K) high power LED’s
- Colour variant: RGB(CW), TW, Pure White, Custom variant
- Beam angle: 6°, 10°, 15°, 20°, 40°, 60°, 1°x 60°, 6°x60°, 6°x90°, 30°x90
- CRI: 70 (PW 6500K)
- Lumen output: 10135lm (RGBW 6° – CW all Leds on full)
- Projected Lumen maintenance: 60,000 hrs ( L70@ 25°C / 77°F)
Control
- Setting & Addressing: 4-segment LED display & 4 control buttons inside the Junction Box(Easy access chassis mounted LCD display available as an option)
- Control system: USITT DMX512, RDM, 0-10V (for Single Colour variants)
- DMX protocol modes: 4 (10,14,5,4 control channels) for RGBW variant 2 (8,12 control channels) for single colour variant 4 (7,9,3,2 control channels) for TW variant
- Stand-alone mode
- Manual control of all effects via control buttons
- One editable program, up to 40 steps
- 2 LED zones
- RGBW/CMY colour mixing (RGBW version only)
- Virtual colour wheel (RGBW, TW version only)
- Adjustable strobe sequences
Wireless DMX/RDM modules (only for wireless DMX version of the Divine 72)
- Producer: LumenRadio
Compliance with USITT DMX-512 (1986 & 1990) and 512-A
Full DMX fidelity and frame integrity
Auto sensing of DMX frame rate and frame size
<5ms DMX latency
Operational frequency range of 2402-2480 MHz - Producer: Robe Lighting
Minimum shift keying modulation
Operation frequency range 867,6 – 868,6 MHz
Compatible with SDR band – ETSI EN300 220
500/250/80/38 kbps speed mode
Strobe
- Strobe effect with variable speed (max. 20 flashes per second)
- Pre-programmed random strobe effects
Dimmer
- Smooth 16-bit dimming from 0 – 100 %
Housing
- High pressure die-cast aluminium body
- Tempered glass
Connection
- Side or rear connection
- Integrated junction box with terminal block
- ABB terminal block,type: DS 2,5/10.4L (4 springs mini blocks)
- Recommended data/power cable: Flamar Li9YC11Y cable\ 3xAWG16+1x(2xAWG24 shielded and jacketed)
UL Style 20233 O.D. 8.4mm, (P/N 13051508)
Tilt adjustability
- +35°C/-90°C
Mounting method
- Surface mount (via the surface mounting adaptor)
- C-Clamp (for side connection only)
Protection factor
- EU: IP 67
- US: Suitable for wet location
Impact rating
- IK10
Cooling system
- Convection
Temperatures
- Operating Ambient Temperature: -20°C / +40°C (-4°F / +104°F )
- Operating Temperature: +85°C @ Ambient + 25°C (+185°F @ Ambient + 77°F)
Minimum distances
- Min. distance from flammable material: 0.5 m
- Min. distance to lighted object: 1.5 m
Total heat dissipation
- 1410 BTU/h (calculated)
Weight
- 18.3 kg (43.3 lbs)
Dimensions
mm [inch]
Certification
- ETL/cETL, CE, RoHS
Included items
- 1 x Divine 72
- 1 x Surface mounting adaptor (P/N 11015860)
- 1 x User manual
OptionaI accessories
- (P/N 1098 0357) – Top hat (silver)
- (P/N 1098 0358) – Half top hat (silver)
- (P/N 1098 0363) – C-clamp adaptor (silver), Side connection only
- (P/N 1098 0324) – C-clamp adaptor Strobe IP/Divine (Black), Side connection only
- (P/N 1098 0380) – Barn door module (black)
- (P/N 1098 0378) – Barn door module (silver)
- (P/N 1098 0371) – Set of rubber feet
Cleaning and maintenance
DANGER !
Disconnect from the mains before starting any cleaning or maintenance work
Rinse off loose dirt with low pressure water spray. Wash the housing with a soft brush or sponge and a mild, nonabrasive washing detergent. Rinse it.
Maintenance and service operations are only to be carried out by a qualified person. Should you need any spare parts, please use Robe OEM parts.
Replacing a fuse
This replacement has to be done by a qualified person or Robe service worker only.
Disposing of the product
To preserve the environment please dispose or recycle this product at the end of its life according to the local regulations and codes.
Specifications are subject to change without notice July 11, 2021
Copyright © 2017-2021 Robe Lighting – All rights reserved
Made in CZECH REPUBLIC by ROBE LIGHTING s.r.o. Palackeho 416/20 CZ 75701 Valasske Mezirici























