Schuller 364355D LED 13 Light Pendant Light

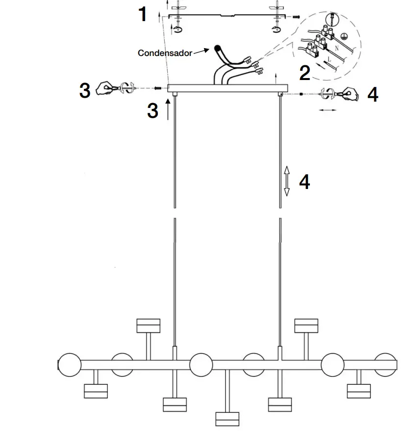
ASSEMBLING INSTRUCTIONS
ATTENTION: Schuller recommends to use those included special screws when installing this pendant lamp.

ATTENTION: If you cut the central cables to make a shorter pendant, make sure capacitor is installed in the same way it was.
WARNING: Do not use any cleaning products that contain solvents or alcohol as they will damage the acrylic.
ATTENTION
This product includes LED drivers with 0-10V or PWM diming, a receiver and a remote control by radiofrecuency. To use it with wall dimmer, use just this type of dimmers. Any other type would damage the LED driver. The receiver installed in the product has channel 1 selected. Use this channel also on the remote control.
You may use the following QR code to view the complete technical data sheet of the product:

If you have any technical questions, please do not hesitate to contact our technical Department. We are at your disposal in our emai: [email protected]
















