Schuller 124346 Pendant Light
Instruction
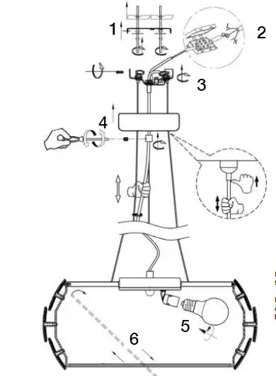
CAUTION: Schuller recommends the use of special screws supplied when installing this pendant lamp.
Attention
When installing the discs, screw slightly till it close the metal frame. Do not screw them strongly.
IMPORTANT NOTICE: For safety reasons, if the electrical wire of this item has any damage, it must be repaired by qualified staff.
You may use the following QR code to view the complete technical data sheet of the product:
If you have any technical questions, please do not hesitate to contact our technical Department. We are at your disposal in our emai: [email protected]

Instruction
















