
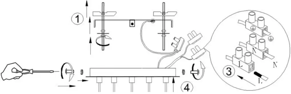
ASSEMBLING INSTRUCTIONS
ITEM : 752275, 752268
CAUTION: Schuller recommends to use included special screws when installing this lamp.



NOTE
Before ending tightening the screws, rotate the glass shade until it is in vertical position.
LAMP TYPE: 5 x E27 LED
LED LIGHT BULBS INCLUDED
Rev. 10.20

















