Schuller 847235 Pendants Light

CAUTION:
Schuller recommends using included special screws when installing this lamp.
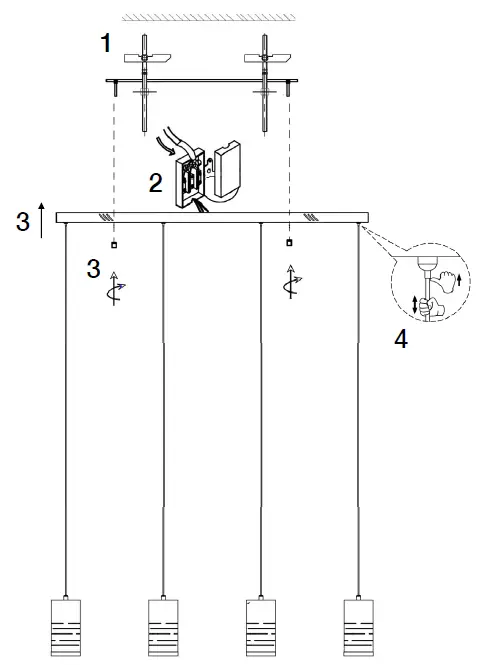
Installation

Specification
- 33,6W LED, 3,200 lm, 3.000 K.


CAUTION:
Schuller recommends using included special screws when installing this lamp.

Download manual
Here you can download full pdf version of manual, it may contain additional safety instructions, warranty information, FCC rules, etc.