Schuller 793534D Pendant Light Instruction Manual
DIMMABLE ITEM
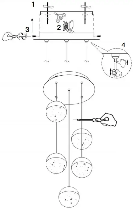
ATTENTION: Schuller recommends to use included special screws when installing this lamp.

NB:
If the cable is twisted, please hold the bottom of the cable, and use a screwdriver or a metal rod to stroke the cable up and down to keep it straight.
WARNING
This product includes LED drivers with 0-10V or PWM dimmers, a receiver and a radio frequency remote control. To use with wall control, use only dimmers of these two types. Any other type would damage the LED driver. The receiver installed in the product has channel 1 selected. Use this channel also on the remote control.
You may use the following QR code to view the complete technical data sheet of the product:
If you have any technical questions, please do not hesitate to contact our technical Department.
We are at your disposal in our email: [email protected]



















