Schuller 793635 Pendant Light
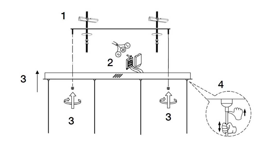
ASSEMBLING INSTRUCTIONS
ATTENTION: Schuller recommends using included special screws when installing this lamp.

IMPORTANT NOTICE
This product includes LED drivers with 0-10V or PWM diming. To use it with wall dimmer, use just this type of dimmers.
You may use the following QR code to view the complete technical data sheet of the product: 
If you have any technical questions, please do not hesitate to contact our technical Department. We are at your disposal in our email: [email protected]




















