Kenmore Coldspot 106
REFRIGERATOR SAFETY
Your safety and the safety of others are very important.
We have provided many important safety messages in this manual and on your appliance. Aiways read and obey all safety messages.
This is the safety alert symbol.
This symbol alerts you to potential hazards that can kill or hurt you and others. Ail safety messages will follow the safety alert symbol and either the word “DANGER” or “WARNING.” These words mean:
- DANGER You can be killed or seriously injured if you don’t immediately follow instructions.
- WARNING You can be killed or seriously injured if you don’t follow instructions.
All safety messages will tell you what the potential hazard is, tell you how to reduce the chance of injury, and tell you what can happen if the instructions are not followed.
IMPORTANT SAFETY INSTRUCTIONS
WARNING: To reduce the risk of fire, eiectric shock, or injury when using your refrigerator, follow these basic precautions:
- Piug into a grounded 3 prong outiet.
- Do not remove ground prong.
- Do not use an adapter.
- Do not use an extension cord.
- Disconnect power before servicing.
- Replace all panels before operating.
- Remove doors from your old refrigerator.
- Use nonflammable cleaner.
- Keep flammable materials and vapors, such as gasoline, away from refrigerator.
- Use two or more people to move and install refrigerator.
- Disconnect power before installing ice maker {on ice maker kit ready models only).
- Use a sturdy glass when dispensing ice or water (on some models).
SAVE THESE INSTRUCTIONS
Before you throw away your old refrigerator or freezer:
- Take off the doors.
- Leave the shelves in place so that children may not easily climb inside.

Proper Disposal of Your Old Refrigerator
AWARNING
Suffocation Hazard
Remove doors from your old refrigerator. Failure to do so can result in death or brain damage.
IMPORTANT: Child entrapment and suffocation are not problems of the past. Junked or abandoned refrigerators are stiil dangerous – even if they will sit for “just a few days.” If you are getting rid of your old refrigerator, please follow these instructions to help prevent accidents.
INSTALLING YOUR REFRIGERATOR
Unpacking ‘four Refrigerator
AWARNING
Excessive Weight Hazard
Use two or more people to move and install refrigerator.
Failure to do so can result in back or other injury.
Removing packaging materials
- Remove tape and glue from your refrigerator before using.
To remove any remaining tape or giue, rub the area briskly with your thumb. Tape or glue residue can also be easily removed by rubbing a small amount of liquid dish soap over the adhesive with your fingers. Wipe with warm water and dry. - Do not use sharp instruments, rubbing aicohol, flammable fluids, or abrasive cleaners to remove tape or glue. These products can damage the surface of your refrigerator. For more information, see the “Refrigerator Safety” section.
When Moving Your Refrigerator:
Your refrigerator is heavy. When moving the refrigerator for cleaning or service, be sure to protect the floor.
Always pull the refrigerator straight out when moving it.
Do not wiggle or “walk” the refrigerator when trying to move it, as floor damage could occur.
Cleaning before use
After you remove all of the packaging materials, clean the inside of your refrigerator before using it. See the cleaning instructions in the “Caring for Your Refrigerator” section.
Important information to know about glass shelves and covers:
Do not clean glass shelves or covers with warm water when they are cold. Shelves and covers may break if exposed to sudden temperature changes or impact, such as bumping. For your protection, tempered glass is designed to shatter into many small, pebble-size pieces. This is normal. Glass shelves and covers are heavy. Use special care when removing them to avoid Impact from dropping.
WARNING
Explosion Hazard
Keep flammable materials and vapors, such as gasoline, away from refrigerator. Failure to do so can result in death, explosion, or fire.
To ensure proper ventilation for your refrigerator, allow for Vi in. (1.25 cm) space on each side and at the top. 
- If your refrigerator has an ice maker, make sure you leave some extra space at the back for the water line connections. The refrigerator can be flush against the back wall if you do not have an ice maker installed.
- If you are installing your refrigerator next to a fixed wall, leave 2 in. (5.08 cm) minimum on each side (depending on your model) to allow for the door to swing open.
MOTE: Do not install the refrigerator near an oven, radiator, or another heat source, nor in a location where the temperature will fall below 55″F (IS’C).
WARNING
Electrical Shock Hazard
Plug into a grounded 3 prong outlet.
- Do not remove ground prong.
- Do not use an adapter.
- Do not use an extension cord.
Failure to follow these instructions can result in death, fire, or electrical shock.
Before you move your refrigerator into its finai location, it is important to make sure you have the proper eiectricai connection:
Recommended grounding method
A 115 Volt, 60 Hz., AC only 15 or 20 ampere fused, grounded electrical supply is required, it is recommended that a separate circuit serving only your refrigerator be provided. Use an outiet that cannot be turned off by a switch. Do not use an extension cord.
NOTE: Before performing any type of installation, cleaning, or removing a light buib, turn the control, (Thermostat, Refrigerator or Freezer Controi depending on the model) to OFF and then disconnect the refrigerator from the electrical source. When you are finished, reconnect the refrigerator to the eiectricai source and reset the controi (Thermostat, Refrigerator or Freezer Control depending on the modei) to the desired setting.
To remove the base grille:
- Open both refrigerator doors.
- Place hands along the ends of the grille, with your thumbs aiong the top. Push in with your thumbs and puii up on the bottom.
NOTE: Be sure to refasten the Tech Sheet behind the base griile after cieaning.
To replace the base grille:
- Open the doors.
- Line up the griiie support tabs with the metal clips.
- Push the griiie firmly to snap it into place.
TOOLS NEEDED: V4 in. hex-head socket wrench, in. hex-head socket wrench and a fiat-head screwdriver.
IMPORTANT: Before you begin, turn the refrigerator control OFF, unplug the refrigerator or disconnect power. Remove food and any adjustable door or utiiity bins from doors.
ik WARNING
Electrical Shock Hazard
- Disconnect power before removing doors.
- Reconnect both ground wires before operating.
- Failure to do so can result in death or electrical shock.

Tools Needed: Vi in. hex-head socket wrench, Vm in. hex-head socket wrench and a flat-head screwdriver.
NOTE: It may only be necessary to remove either the door handle or the doors to get your product through the doorway of your residence. Measure the door opening to determine whether to remove the refrigerator handles or the doors. Handle Removal (optional)
- Apply firm pressure with your hand on the face of trim. Slide top trim up and bottom trim down away from handle. Lift trim pieces off shoulder screws (see Graphic 1).
NOTE: Some models include accent pieces between the handle and the handle trim. If your model includes the accents, you will need to carefully remove them with a flat-head screwdriver before removing the handle screws. The accent pieces are optional and can be reinstalled or left off of the handle assembly. - Remove handle screws and handles.
Move the refrigerator into place. Replace handles as shown (see Graphic 1). Door Removal
WARNING
Electrical Shock Hazard Disconnect power before removing doors.
Failure to do so can result in death or electrical shock.
- Unplug the refrigerator or disconnect the power.
- Open both refrigerator doors. Remove the base grille by pulling up on the bottom outside corners (see Graphic 2).
- Close both doors and keep them closed until you are ready to lift them free from the cabinet.
- If you have a dispenser (ice or water), disconnect the water dispenser tubing located behind the base grille. Remove hose from clip (see Graphic 3).
- Disconnect union nut.
- Remove union nut and spring.
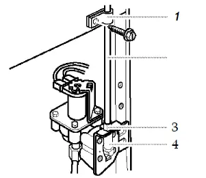
- Remove top left hinge cover and screws as shown (see Graphic 4). DO NOT REMOVE SCREW 1.
- Disconnect wiring plug and both ground wires (see Graphic 4).
- Carefully lift the freezer door straight up off the bottom hinge (see Graphic 5). The water dispenser tubing remains attached to the freezer door and pulls through the bottom left hinge. Make sure you protect the dispenser tubing from damage.
- Remove top right hinge cover and screws as shown (see Graphic 6). DO NOT REMOVE SCREW 1.
- Lift the refrigerator door straight up off the bottom hinge.
- It may not be necessary to remove the bottom hinge to move the refrigerator through a doorway. Both bottom hinges have similar construction.
- Disassemble the hinges as shown (see Graphic 7). DO NOT REMOVE SCREW 1.
Door and Hinge Replacement
- Replace both bottom hinges, if removed. Tighten screws.
- Assistance may be needed to feed the water dispenser tubing through the bottom hinge while reinstalling the freezer door. Carefully feed the dispenser tubing through the bottom left hinge before replacing the door on the hinge.
NOTE: Provide additional support for the doors while the top hinges are being replaced. Do not depend on the door magnets to hold the doors in place while you are working. - Align and replace the top left hinge as shown (see Graphic 4). Tighten screws.
WARNING
Electrical Shock Hazard Reconnect both ground wires.
Failure to do so can result in death or electrical shock. - Reconnect both ground wires.
- Reconnect wiring plug.
- Replace left hinge cover and screws.
- Replace the refrigerator door by carefully lifting the door onto the bottom right hinge.
- Align and replace the top right hinge as shown (see Graphic 6). Tighten screws.
- Replace hinge cover and screws. Tighten screws.
- Plug into a grounded 3 prong outlet.
Door Closing
Your refrigerator has two front adjustable rollers — one on the right and one on the left. If your refrigerator seems unsteady or if you want the doors to close more easily, adjust the refrigerator’s tilt using the instructions below;
- Move the refrigerator into its final position.
- The two leveling screws are part of the front roller assemblies which are at the base of the refrigerator on either side (see Graphic 8).
- Use a screwdriver to adjust the leveling screws. Turn the leveling screw to the right to raise that side of the refrigerator or turn the leveling screw to the left to lower that side. It may take several turns of the leveling screws to adjust the tilt of the refrigerator (see Graphic 8).
NOTE: Having someone push against the top of the refrigerator takes some weight off the leveling screws and rollers. This makes it easier to adjust the screws. - Open both doors again and check to make sure that they close as easily as you like. If not, tilt the refrigerator slightly more to the rear by turning both leveling screws to the right. It may take several more turns, and you should turn both leveling screws the same amount.
- Replace the base grille.
NOTE: Be sure to refasten the Tech Sheet behind the base grille.
Read all directions carefully before you begin. IMPORTANT;
- If operating the refrigerator before installing the water connection, turn ice maker to the OFF position to prevent operation without water.
- All installations must be in accordance with local plumbing code requirements.
- Use copper tubing and check for leaks.
- Install copper tubing only in areas where temperatures will remain above freezing.
- If may take up to 24 hours for your ice maker to begin producing ice.
Tools required;
- Standard screwdriver
- Vi6 in. and V2 in. open-end wrenches or two adjustable wrenches
- V4 in. nut driver
- 1/4 in. drill bit
- Hand drill or electric drill (properly grounded)
NOTE: Your refrigerator dealer has a kit available with a
V4 in. (6.35 mm) saddle-type shut-off valve, a union, and copper tubing. Before purchasing, make sure a saddle-type valve complies with your local plumbing codes. Do not use a piercingtype or 3/16 in. (4.76 mm) saddle valve which reduces water flow and clogs more easily.
Cold water supply
The ice maker water valve contains a flow washer which is used as a water pressure regulator. The ice maker needs to be connected to a cold water line with water pressure between 30 and 120 psi. If a problem occurs, call your utility company.
Connecting to water line:
- Unplug refrigerator or disconnect power.
- Turn OFF main water supply. Turn ON nearest faucet long enough to clear line of water.
- Locate a Vi in. to 114 in. (12.7 mm to 3.18 cm) vertical COLD water pipe near the refrigerator.
NOTE: Horizontal pipe will work, but the following procedure must be followed: Drill on the top side of the pipe, not the bottom. This will help keep water away from the drill. This also keeps normal sediment from collecting in the valve. - To determine the length of copper tubing you will need, measure from connection on lower left rear of the refrigerator to water pipe. Add 7 ft. (2.1 m) to allow for moving the refrigerator for cleaning. Use 14 in. (6.35 mm) O.D. (outside diameter) copper tubing. Be sure both ends of copper tubing are cut square.
- Using a grounded drill, drill a 14 in. hole in the cold water pipe you have selected.

- Cold Water Pipe
- Pipe Clamp
- Copper Tubing
- Compression Nut
- Compression Sleeve
- Shut-Off Valve
- Packing Nut
- Fasten shut-off valve to cold water pipe with pipe clamp. Be sure outlet end is solidly in the 14 in. drilled hole in the water pipe and that washer is under the pipe clamp. Tighten packing nut. Tighten the pipe clamp screws carefully and evenly so washer makes a watertight seal. Do not overtighten or you may crush the copper tubing, especially if soft (coiled) copper tubing is used. Now you are ready to connect the copper tubing.
- Slip compression sleeve and compression nut on copper tubing as shown. Insert end of tubing into outlet end squarely as far as it will go. Screw compression nut onto outlet end with an adjustable wrench. Do not overtighten.
- Place the free end of the tubing into a container or sink, and turn ON main water supply and flush out tubing until water is clear. Turn OFF shut-off valve on the water pipe. Coil copper tubing.
Connecting to refrigerator:
- Attach the copper tube to the valve inlet using a compression nut and sleeve as shown. Tighten the compression nut. Do not overtighten. Use the tube clamp on the back of the refrigerator to secure the tubing to the refrigerator as shown. This will help prevent damage to the tubing when the refrigerator is pushed back against the wall. Move to step 2.
- Turn shut-off valve ON. Check for leaks. Tighten any connections (including connections at the valve) or nuts that leak.

- Tube Clamp
- . Copper Tubing
- Compression Nut
- Valve Inlet
- The ice maker is equipped with a built-in water strainer. If local water conditions require periodic cleaning or a well is your source of water supply, a second water strainer should be installed in the Va in. (6.35 mm) water line. Obtain a water strainer from your nearest appiiance dealer. Install at either tube connection.
- Plug in refrigerator or reconnect power.
Please read before using the water system.
Immediately after installation, follow the steps below to make sure that the water system is properly cleaned.
- Open the freezer door and turn off the ice maker. For Style 1 lift up the wire shut-off arm as shown. For Style 2 move the switch to the OFF (right) setting as shown.

NOTE: If your model has a base grille filter system, make sure the base grille filter is properly installed and the cap is in the horizontal position. - Flush the water system by dispensing and discarding
2 to 3 gallons (8 to 12 liters) or approximately 6 to 7 minutes of water after the water begins dispensing. It will take 3 to 4 minutes for the water to begin dispensing. This will clean the system and help clear air from the lines. Additional flushing may be required In some households.
NOTE: As air is cleared from the system, water may spurt out of the dispenser. - Open the freezer door and turn on the ice maker. For Style 1 lower the wire shut-off arm. For Style 2 move the switch to the ON (left) position. Please refer to the “Ice Maker and Storage Bin/Bucket” section for further instructions on the operation of your ice maker.
- Allow 24 hours to produce the first batch of ice.
- Discard the first three batches of ice produced.
- Depending on your model, you may want to select the maximum ice feature to increase the production of ice. To do so, set the switch on the front of the ice maker to MAX.
Your new refrigerator may make sounds that your old one didn’t make. Because the sounds are new to you, you might be concerned about them. Most of the new sounds are normal. Hard surfaces, like the floor, walls, and cabinets, can make the sounds seem louder than they actually are. The following describes the kinds of sounds and what may be making them. - If your product is equipped with an ice maker, you will hear a buzzing sound when the water valve opens to fill the ice maker for each cycle.
- The defrost timer will click when the automatic defrost cycle begins and ends. Also, the Thermostat Control (or Refrigerator Control depending on the model) will click when cycling on and off. Rattling noises may come from the flow of refrigerant, the water line, or items stored on top of the refrigerator. Your refrigerator is designed to run more efficiently to keep your food items at the desired temperature. The high-efficiency compressor may cause your new refrigerator to run longer than your old one, and you may hear a pulsating or high-pitched sound. Water dripping on the defrost heater during a defrost cycle may cause a sizzling sound. You may hear the evaporator fan motor circulating the air through the refrigerator and freezer compartments. As each cycle ends, you may hear a gurgling sound due to the refrigerant flowing in your refrigerator. Contraction and expansion of the inside walls may cause a popping noise. You may hear air being forced over the condenser by the condenser fan. You may hear water running into the drain pan during the defrost cycle.
USING YOUR REFRIGERATOR
In order to ensure proper temperatures, you need to permit air to flow between the two sections. Cold air enters the bottom of the freezer section and moves up. It then enters the refrigerator section through the top vent. Air then returns to the freezer as shown.
Do not block any of these vents with food such as soda, cereal, bread, etc. If the vents are blocked, airflow will be prevented and the temperature controls will not function properly.
IMPORTANT: Because air circulates between both sections, any odors formed in one section will transfer fo fhe ofher. You must thoroughly clean both sections to eliminate odors. To prevent odor transfer from food, wrap or cover foods tightly.
For your convenience, your refrigerator controls are preset at the factory. When you first install your refrigerator, make sure that the controls are still preset. The Refrigerator Control and the Freezer Control should both be at the “mid-settings” as shown in the illustrations below.
NOTE: Your product will not cool when the REFRIGERATOR Control is set to OFF. 
NOTE: Your product will not cool when the FREEZER Control is set to OFF.
The Refrigerator Control adjusts the refrigerator compartment temperature. Settings to the left of the midsetting make the temperature less cold. Settings to the right of the mid-setting make the temperature colder.
The Freezer Control adjusts the freezer compartment temperature. Settings to the left of the mid-setting make the temperature less cold. Settings to the right of the mid-setting make the temperature colder. Give your refrigerator time to cool down completely before adding food. It is best to wait 24 hours before you put food into the refrigerator.
IMPORTANT: If you add food before the refrigerator has cooled completely, your food may spoil. Adjusting the Refrigerator and Freezer Controls to a higher (colder) than recommended setting will not cool the compartments any faster.
Ac|ostin§ Contit)! Settings
Give the refrigerator time to cool down completely before adding food. It is best to wait 24 hours before you put food into the refrigerator. The settings indicated in the previous section should be correct for normal household refrigerator usage. The controls are set correctly when milk or juice is as cold as you like and when ice cream is firm.
If you need to adjust temperatures in the refrigerator or freezer, use the settings listed in the chart below as a guide. Wait at least 24 hours between adjustments.
C0ND1T10N/REAS0N:
REFRIGERATOR section too warm
- Door opened often
- Large amount of food added
- Room temperature very warm
RECOMMENDED ADJUSTMENT;
Adjust REFRIGERATOR Control one setting higher For Style 1 controls only: after adjusting control, wait 24 hours and then check the freezER temperature
- Air vent blocked by items
Move packages out of airstream
FREEZER section too warm/ice not made fast enough
- Door opened often
- Large amount of food added
- Very cold room temperature (can’t cycle often enough)
- Heavy ice usage
Adjust FREEZER Control one setting higher
REFRIGERATOR section too cold
- Controls not set correctly for your conditions
Adjust REFRIGERATOR Control one setting lower
For Style 1 controls only: after adjusting control, wait 24 hours and then check the rreeZER temperature
FREEZER section too cold
- Controls not set correctly for your conditions
Adjust FREEZER Control one setting lower
WARNING
Cut Hazard Use a sturdy glass when dispensing ice or water. Failure to do so can result in cuts.
Depending on your model, you may have one or more of the following options: the ability to select either crushed or cubed ice, a special light that turns on when you use the dispenser, or a lock option to avoid accidental dispensing.
Hie ice dispenser
Ice dispenses from the ice maker storage bin in the freezer. When the dispenser lever is pressed:
- A trap door opens in a chute between the dispenser and the ice bin.
- Ice moves from the bin and falls through the chute.
- When you release the dispenser lever, the trap door closes and the Ice dispensing stops. The dispensing system will not operate when the freezer door is open.
Some models dispense both cubed and crushed ice. Before dispensing ice, select which type of ice you prefer. The button controls are designed for easy use and cleaning. - For cubed ice, press the CUBE button until the red indicator appears in the window above the CUBE button.
ICE
CRUSH CUBE
- For crushed ice, press the CRUSH button until the red indicator appears in the window above the CRUSH button.
For crushed ice, cubes are crushed before being dispensed. This may cause a slight delay when dispensing crushed ice. Noise from the ice crusher is normal, and pieces of ice may vary in size. When changing from CRUSH to CUBE, a few ounces of crushed ice will be dispensed along with the first cubes.
To dispense ice:
- Press button for the desired type of ice.
- Press a sturdy glass against the ice dispenser lever. Hold the glass close to the dispenser opening so ice does not fall outside of the glass.

IMPORTANT: You do not need to apply a lot of pressure to the lever in order to activate the ice dispenser. Pressing hard will not make the ice dispense faster or in greater quantities. - Remove the glass to stop dispensing.
NOTE: The first few batches of ice may have an off-flavor from new plumbing and parts. Throw the ice away. Also, take large amounts of ice from the ice bin, not through the dispenser.
The water dispenser
If you did not flush the water system when the refrigerator was first installed, press the water dispenser bar with a glass or jar until you draw and discard 2 to 3 gallons (8 to 12 liters) or approximately 6 to 7 minutes of water after water begins dispensing. It will take 3 to 4 minutes for the water to begin dispensing. The water you draw and discard cleans the system and helps clear air from the lines. Allow several hours for the refrigerator to cool down and chill water.
IMPORTANT: Depending on your model, the small removable tray at the bottom of the dispenser is designed to catch small spills and allow for easy cleaning. There is no drain in the tray. The tray can be removed from the dispenser and carried to the sink to be emptied or cleaned.

To dispense water:
- Press a glass against the water dispenser lever.
- Remove the glass to stop dispensing.
NOTE: Dispense enough water every week to maintain a fresh supply.
The dispenser light
The dispenser area has a light. It can be turned on manually by pressing the ON button at the right hand side of the control panel. The red indicator above the ON button will appear. On some models: Whenever you use the dispenser the lever will automatically turn the light on.
LIGHT
NOTE: See the “Changing the Light Bulbs” section for information on changing the dispenser light bulb.
On models without crushed ice, the light switch is a rocker-style type. Push the switch to turn the light on, and push again to turn the light off.
The dispenser lock (on some models)
Your dispenser can be turned off for easy cleaning or to prevent accidental dispensing by small children and pets. To turn off the dispenser, press the LOCK button. The indicator will appear above the LOCK button and the ice and water dispensers will not work. To unlock the dispenser, press the UNLOCK button until the indicator appears. Then continue to dispense ice or water as usual.
DISPENSER
PCtCK UNLOCK
NOTE: The lock feature does not shut off power to the product, to the ice maker, or to the dispenser light. It simply deactivates the dispenser levers.
The base grille water filter stains light
The vi/ater filter status iight will help you know when to change your water fiiter cartridge. The iight is iocated at the top of the refrigerator compartment. The right wiil change from green to yellow. This telis you that it is almost time to change the water filter cartridge (90% of the fiiter iife has been used), it is recommended that you repiace the base griile water filter cartridge when the water fiiter indicator light changes to red OR water fiow to your water dispenser or ice maker decreases noticeably. (See “Changing a base griiie water fiiter cartridge” iater in this section.)
NOTE: Do not use with water that is microbiologically unsafe or of unknown quality without adequate disinfection before or after the system.
- Ststus Light
- Light Switch
After changing the water fiiter cartridge, reset the water filter status light by pressing the light switch 5 times within 10 seconds. The status iight wiil change from red to green when the system is reset.
Non-indicator water filter (on some models)
If your refrigerator does not have the water filter status light, you should change the water fiiter cartridge every 6-9 months depending upon your usage. If the water flow to the water dispenser or icemaker decreases noticeably before 6 months have passed, replace the water filter cartridge more often. (See “Changing a base water filter cartridge” later in this section.)
Changing a base grille water filter cartridge
The base grille water filter is located below the freezer compartment door.
- Locate the water fiiter cartridge cap in the front base grille below the freezer compartment door. Rotate the cap
counterclockwise to a vertical position and pull the cap and fiiter cartridge out through the base grille.
NOTE: There will be water in the cartridge. Some spilling may occur.
- Remove the cartridge cap by sliding it off the end of the old cartridge. The cap will slide to the left or right. DO NOT DISCARD THE CAP.

- Take the new cartridge out of its packaging and remove protective cover from o-rings.

- Slide the cartridge cap onto the new cartridge as shown above in Step 2.
- With the cartridge cap in the vertical position, push the new filter cartridge into the base grille until it stops. Rotate the cartridge cap clockwise to a horizontal position.

- Flush the water system by dispensing and discarding 2 to 3 gallons (8 to 12 liters) or approximately 6 to 7 minutes of water through the dispenser. This will clean the system and help clear air from the lines. Additional flushing may be required in some households.
NOTE: As air is cleared from the system, water may spurt out of the dispenser.
Using the dispenser without the water filter
You can run the dispenser without a water filter cartridge. Your water will not be filtered. If you run the dispenser without a water filter cartridge, keep the cartridge cap and replace it in the base grille for future use.
- Remove the base grille water filter cartridge (See “Changing a base grille water filter cartridge” earlier in this section.) Then slide the cartridge cap off the end of the filter cartridge. DO NOT DISCARD THE CAP.
- With the cartridge cap in the vertical position, insert the cap into the base grille until it stops.

- Rotate the cartridge cap to a horizontal position as shown in step 5.
NOTE: The cartridge cap may not be even with the base grille.
ice Maker and Storage Bin^uclcet
fc>n some riioclels ~ Accessory
To turn the ice maker on/off: (Style 1)
The on/off switch for the ice maker is a wire shut-off arm located on the side of the ice maker.
- To turn the ice maker on, simply lower the wire shut-off arm.
NOTE: Your ice maker has an automatic shut-off. As ice is made, the ice cubes will fil! the ice storage bin and the ice cubes will raise the wire shut-off arm to the OFF (arm up) position. - To manually turn the ice maker off, lift the wire shut-off arm to the OFF (arm up) position and listen for the click to make sure the ice maker will not continue to operate.

- Normal Ice Production: In normal ice production mode, the ice maker should produce approximately 7 to 9 batches of ice in a 24-hour period. If ice is not being made fast enough, turn the Freezer Control toward a higher (colder) number in half number steps. (For example, if the control is at 3, move it to between 3 and 4.) Wait 24 hours and, if necessary, gradually turn the Freezer Control to the highest setting, waiting 24 hours between each increase.
- Maximum Ice Production (on some models): In maximum ice production, the ice maker should produce approximately 10 to 14 batches of ice in a 24-hour period. If your refrigerator has the maximum ice production feature, push the switch to MAX.
To remove and replace the ice bin: (Style 1)
- Pull the covering panel out from the bottom and then slide it back toward the rear.
- Lift the wire shut-off arm so it clicks into the OFF (up) position. Ice can still be dispensed, but no more can be made.
- Lift up the front of the storage bin and pull it out.

- Replace the bin by pushing it in all the way or the dispenser will not work. Push the wire shut-off arm down to the ON position to restart ice production. Make sure the door is closed tightly.
To turn the ice maker on/off: (Style 2)
The ON/OFF switch is located on the top right side of the freezer compartment.
- To turn the ice maker on, slide the control to the ON (left) position.
NOTE: Your ice maker has an automatic shut-off. The ice maker sensors will automatically stop ice production but the control will remain in the ON (left) position. - To manually turn the ice maker off, slide the control to the OFF (right) position.

To remove and replace ice bucket:
- Place four fingers in bucket base opening and rest thumb on the release button.
- Holding the base of the bucket with both hands, depress the release button and lift the bucket up and out. It is not necessary to turn the ice maker control to the OFF (right) position. The ice maker will not produce ice without the bucket installed in the door.

- Normal Ice Production should produce approximately 7 to 9 batches of ice in a 24-hour period.
To care for ice storage bin or bucket:
- Empty the ice container. Use warm water to melt the ice if necessary. Never use anything sharp to break up the ice in the bin or bucket. This can cause damage to the ice container and the dispenser mechanism.
- Wash ice bin or bucket with a mild detergent, rinse well and dry thoroughly. Do not use harsh or abrasive cleaners or solvents.
REMEM8ER:
- Allow 24 hours to produce the first batch of ice.
- Discard the first three batches of ice produced to avoid impurities that may be flushed out of the system.
- The quality of your ice will be only as good as the quality of the water supplied to your ice maker.
- Avoid connecting the ice maker to a softened water supply. Water softener chemicals (such as salt) can damage parts of the ice maker and lead to poor quality ice. If a softened water supply cannot be avoided, make sure the water softener is operating properly and is well maintained.
- It is normal for the ice cubes to be attached at the comers. They will break apart easily.
- For Style 1, do not force the wire shut-off arm up or down.
- Do not store anything on top or in the ice maker or ice bin or bucket.
REFRIGERATOR FEATURES
Your model may have some or all of these features. Features that can be purchased separately as product accessories are labeled with the word “Accessory.” Not all accessories will fit all models. If you are interested in purchasing one of the accessories, please call the toll-free number on the cover or in the “Assistance or Service” section.
Important information to know about giass shelves and covers;
Do not clean glass shelves or covers with warm water when they are cold. Shelves and covers may break if exposed to sudden temperature changes or impact, such as bumping. For your protection, tempered glass is designed to shatter into many small, pebble-size pieces. This is normal. Glass shelves and covers are heavy. Use special care when removing them to avoid impact from dropping.
The shelves in your refrigerator are adjustable to meet your individual storage needs. Your model may have glass or wire shelves. Storing similar food items together in your refrigerator and adjusting the shelves to fit different heights of items will make finding the exact item you want easier. It will also reduce the amount of time the refrigerator door is open, and save energy.
Slide-out Shelves {on some models}
- To slide out shelf, carefully pull front of shelf toward you.
- To slide in shelf, push shelf in until it stops.

To remove and replace a shelf in a metal frame:
- Pull the shelf forward to the stop.
- Tilt the front of the shelf up and lift it slightly as you pull the shelf from the frame.
- Replace the shelf by guiding it back into the slots on the frame and pushing the shelf in past the stop.
Shelves and Shelf Frames
To remove and replace a shelf/frame:
- Remove the shelf/frame by tilting it up at the front and lifting it out of the shelf supports.
- Replace the shelf/frame by guiding the rear shelf hooks into the shelf supports. Tilt the front of the shelf up until rear shelf hooks drop into the shelf supports.
- Lower the front of the shelf and check to make sure that the shelf is securely in position.

To slide the shelf from side to side:
- Lift up on the front of shelf and slide to the desired location.
- Lower shelf to the level position.
NOTE: You do not have to remove small items from the shelf before moving it from side to side. You may need to remove larger items.
To remove the shelf;
NOTE: The shelf is heavy and must be removed using both hands.
- Hold the back of the shelf with one hand.
- Lift the front of the shelf with the other hand to a 45° angle and lower it slightly to release it from the upper channel of the track. Pull the shelf straight out.

To remove and replace the shelf track:
- Remove the shelf track by lifting both sides of the track slightly and pulling the track straight out.
- Replace the track by guiding the track hooks into the shelf support slots on the back wall.
NOTE: Make sure that both sets of track hooks are in the slots and that the slots are parallel with each other. - Push the track back and down securely into the shelf supports.
To replace the shelf:
NOTE: Make sure that both of the rear shelf slides are securely in the track before letting go of the shelf. The lateral shelf may be difficult to install if the track is placed too close to the refrigerator ceiling. Reposition the track on a lower rung until the shelf can be tilted enough to easily slide into the track.
- Hold the shelf at the front and tip the front at a 45″ angle to the track.
- Insert both of the rear shelf slides into the upper channel of the track, and lower the front of the shelf into place.
Flip-up Shei
fon some models)
- To raise the shelf, pull forward on the lever located at the bottom front of the shelf and lift until the shelf locks into the vertical position.
- To lower the shelf, lower the shelf until it is latched securely in place.

To raise and lower the shelf:
- Raise the shelf by first sliding it back and down to make it half-width. (You can use the shelf in this position to allow taller items to be stored on the shelf below.)
- Lift the front of the shelf until it fits securely in place against the back wall.
- Lower the shelf securely back into position.
- Pull the front of the shelf forward until it fits into place.

The deli drawer stores raisins, nuts, spreads, and other small items at normal refrigerator temperatures.
To remove and replace the deli drawer:
- Remove the deli drawer by sliding it straight out to the stop. Lift the front and slide the drawer out the rest of the way.
- Replace the deli drawer by sliding it back past the stop.

To remove and replace the crisper and convertible vegetable meat drawers:
- Slide crisper or meat drawer straight out to the stop. Lift the front of drawer with one hand while supporting the bottom of drawer with other hand and slide the drawer out the rest of the way.
- Replace the crisper or meat drawer by sliding it back in fully past the drawer stop.

To remove and replace the crisper or vegetable/meat drawer covers:
- Remove the crisper and meat drawer. Press up in center of crisper glass insert until It rises above the plastic frame. Holding the crisper glass firmly carefully slide the glass insert forward to remove.
- Lift crisper cover frame up and remove. Repeat steps to remove the meat drawer cover.

- Replace back of meat drawer cover frame into supports on side walls of the refrigerator and lower the front of the cover frame into place.
- Slide rear of glass insert into cover frame and lower front into place. Repeat steps to replace the crisper cover.
Meat storage guide
Store most meat in original wrapping as long as it is airtight and moisture-proof. Rewrap if necessary. See the following chart for storage times. When storing meat longer than the times given, freeze the meat.
- Fresh fish or shellfish .use same day as purchased
- Chicken, ground beef, variety meat (liver, etc.)..1-2 days
- Cold cuts, steaks/roasts…3-5 days
- Cured meats ..7-10 days
- Leftovers – Cover leftovers with plastic wrap, aluminum foil, or plastic containers with tight lids.
The convertible vegetable/meat drawer can be adjusted to properly chili meats or vegetables. The air inside the pan is cooled to prevent “spot” freezing and can be set to keep meats at the National Livestock and Meat Board recommended storage temperatures of 28“- 32“F (-2°- 0“C).
IMPORTANT: To extend freshness, wrap meats in airtight, moisture-proof materials before storing. Always store meat as recommended.
Adjusting the control
The convertible control comes preset at the lowest meat setting.
To change a control setting: Move the control to the right (colder) or to the left (less cold) as desired.
To store vegetables: Set the control at the VEG setting, all the way to the left, to store vegetables at their optimal storage temperatures (which need to be warmer than those for meat).
IMPORTANT: If food starts to freeze, move the control to the left (less cold). Remember to wait 24 hours between adjustments. Doing so gives the temperature of the food time to change.
You can control the amount of humidity in the moisture-sealed crisper. Adjust the control to any setting between LOW and HIGH.
- LOW (open) lets moist air out of the crisper for best storage of fruits and vegetables with skins.
- Fruit: Wash, let dry and store in refrigerator in plastic bag or crisper. Do not wash or hull berries until they are ready to use. Sort and keep berries in original container in crisper, or store in a loosely closed paper bag on a refrigerator shelf.
- Vegetables with skins: Place in plastic bags or plastic container and store in crisper.
- HIGH (closed) keeps moist air in the crisper for best storage of fresh, leafy vegetables.
- Leafy vegetables: Wash in cold water, drain and trim or tear off bruised and discolored areas. Place in plastic bag or plastic container and store in crisper.
- Humidity Control on crisper drawer (Style 1 – on left)
- Humidity Control on crisper cover (Style 2 – on right)

{c?n some moftsls» Mxossoryi
Depending on your model, you may have a one, two or three-piece bin. Eggs may be stored In the egg tray or loose in the bin.
NOTE: Store eggs in a covered container for long-term storage. If your model does not have an egg storage bin, store eggs in their original carton on an interior shelf.
cin some models •Accessor
To remove and replace the wine rack (left) or can/bottle rack (right);
- Remove the rack by pulling it straight out from the shelf.
- Replace the rack by sliding it in between the shelf and the wall of the refrigerator.

FREEZER FEATURES
Your model may have some or all of these features. Features that can be purchased separately as product accessories are labeled with the word “Accessory.” Not all accessories will fit all models. If you are interested in purchasing one of the accessories, please call the toll-free number on the cover or in the “Assistance or Service” section.
Freezer Shelf
(iiiiiTiber of shelves varies with model}
To remove and replace the shelf:
- Lift the shelf off of the supports.
- Slide it out of the shelf support holes.
- Replace shelf in the reverse order.

Frozen food storage guide
Storage times will vary according to the quality and type of food, the type of packaging or v\/rap used (should be airtight and moisture-proof), and the storage temperature. Ice crystals Inside a sealed package are normal. This simply means that moisture in the food and air inside the package have condensed, creating ice crystals. Put no more unfrozen food into the freezer than will freeze within 24 hours (no more than 2-3 lb of food per cubic foot [907-1,350 g per L] of freezer space). Leave enough space in the freezer for air to circulate around packages. Be careful to leave enough room for the door to close tightly. For more information on preparing food for freezing, check a freezer guide or reliable cookbook.
The freezer basket can be used to store bags of frozen fruits and vegetables that may slide off freezer shelves.
To remove and replace the freezer basket:
- Remove basket by sliding it out to the stop.
- Lift the front of the basket and slide it out the rest of the way.

- Replace the basket by positioning it on the side wall guide rails. Lift the basket front slightly while pushing it past the guide rail stops and slide basket in the rest of the way.
DOOR FEATURES
Your model may have some or all of these features. Features that can be purchased separately as product accessories are labeled with the word “Accessory.” Not all accessories will fit all models. If you are interested in purchasing one of the accessories, please call the toll-free number on the cover or in the “Assistance or Service” section.
The door rails may be removed for easier cleaning.
Snap-on Door Rails
To remove and replace the rails:
- Remove the rails by pushing in slightly on the front of the bracket while pulling out on the inside tab. Repeat these steps for the other end of the rail.
- Replace the rails by aligning the ends of the brackets with the buttons on the sides of the door liner. Firmly snap bracket and rail assembly onto the tabs above the shelf as shown.

Drop-in Door Rails
To remove and replace the rails:
- Remove the rails by pulling straight up on each end of the rail.
- Replace the rails by sliding the shelf rail into the slots on the door and pushing the rail straight down until it stops.

Door Bins
To remove and replace the bins:
- Remove the bin by lifting it up and pulling it straight out.
- Replace the bin by sliding it in above the desired support and pushing it down until it stops.

To remove and replace the rack:
- Remove the rack by lifting it up and pulling straight out.
- Replace the rack by holding it above the desired support and pushing the rack back and down until it stops.

CARING FOR YOUR REFRIGERATOR
Cleaning ‘fmir Refrigerator
AWARNING
Use nonflammable cleaner. Failure to do so can result in death, explosion, or fire.
Both the refrigerator and freezer sections defrost automatically. However, clean both sections about once a month to prevent odors from building up. Wipe up spills immediately.
To clean your refrigerator
- Unplug the refrigerator or disconnect power.
- Remove all removable parts from Inside, such as shelves, crispers, etc.
- Hand wash, rinse, and dry removable parts and interior surfaces thoroughly. Use a clean sponge or soft cloth and a mild detergent in warm water.
- Do not use abrasive or harsh cleaners such as window sprays, scouring cleansers, flammable fluids, cleaning waxes, concentrated detergents, bleaches or cleansers containing petroleum products on plastic parts, interior and door liners or gaskets.
- Do not use paper towels, scouring pads, or other harsh cleaning tools. These can scratch or damage materials.
- To help remove odors, you can wash interior walls with a mixture of warm water and baking soda (2 tbs to 1 qt. [26 g to .95 L] of water).
- Wash stainless steel and painted metal exteriors with a clean sponge or soft cloth and a mild detergent in warm water. Do not use abrasive or harsh cleaners. Dry thoroughly with a soft cloth. For additional protection against damage to painted metal
exteriors, apply appliance wax (or auto paste wax) with a clean, soft cloth. Do not wax plastic parts. - Clean the condenser coils regularly. Coils may need to be cleaned as often as every other month. This may help save energy. Style 1 – Condenser coils behind base grille:
- Remove the base grille (see the “Base Grille” section).
- Use a vacuum with an extended attachment to clean the condenser coils when they are dusty or dirty.
- Replace the base grille when finished.
Style 2 – Condenser coils in back of the refrigerator: - Pull refrigerator out away from the wall (see the
“Unpacking Your Refrigerator” section). - Vacuum coils when they are dusty or dirty.
- Roll refrigerator back into place. Make sure to leave 1 in.(2.5 cm) between the cabinet back and the wall.
- Check to see if the refrigerator is level.
- Plug in refrigerator or reconnect power.
NOTE: Not all appliance bulbs will fit your refrigerator. Be sure to replace the bulb with one of the same size and shape. The dispenser light requires a heavy duty 10-watt bulb. All other lights require a 40-watt appliance bulb. Replacement bulbs are available from your dealer.
- Unplug refrigerator or disconnect power.
- Remove light shield when applicable as shown.
NOTE: To clean a light shield, wash it with warm water and a liquid detergent. Rinse and dry the shield well.
Remove light bulb and replace with one of the same size, shape and wattage.
Replace light shield when applicable as shown.
Plug in the refrigerator or reconnect power.
Dispenser Light (on some models)
Reach through the dispenser area to remove and replace light bulb.
Control Panel Light
Reach behind the refrigerator control panel to remove and replace light bulb. 
Crisper Light or Upper Freezer Light (on some models)
- Remove light shield by grasping the top center of the shield and pulling forward while turning it slightly to one side. If necessary, remove top crisper drawer to access the crisper light shield.
- Replace the light shield by inserting the tabs on one end into the slotted holes in the refrigerator or freezer liner. Then, carefully bend the shield at the center to insert the tabs on the other end.

Upper Freezer Light (on some models)
- Remove the light shield by grasping the sides and squeezing in tow/ards the center and while pulling forward the shield.
- Replace the light shield by fitting the tabs into the slotted holes in the freezer liner. Push in the shield until it snaps into place.

Lower Freezer Light Beneath Ice Bin (on some models)
- Remove the light shield by grasping the sides and squeezing in towards the center. Once the side hooks of shield are free from the freezer lining, pull down the shield.
- Replace the light shield by squeezing the sides towards the center and inserting the side hooks into the slotted holes. Once the side hooks are in place, snap the front tab into the slotted hole.

Lower Freezer Light Behind Top Freezer Basket (on some models)
- Remove the top freezer basket. Remove light shield by grasping the top and bottom center of the shield and pulling forward while turning it slightly to one side until one of the side tabs become free. Pull out tab from other end and remove shield.
- Replace the light shield by inserting the tabs on one end into the slotted hole in the freezer liner. Then, carefully bend the shield at the center to insert the tabs on the other end.

If the electricity in your house goes off, call the power company and ask how long it will be off.
- If the power will be out for 24 hours or less, keep both refrigerator doors closed to help food stay cold and frozen.
- If the power will be out for more than 24 hours:
- Remove all frozen food and store it in a frozen food locker.
- b) Place 2 lbs. (907 g) of dry ice in the freezer for every cubic foot (28 L) of freezer space. This will keep the food frozen for two to four days.
- If neither a food locker nor dry ice is available, consume or can perishable food at once.
REMEMBER: A full freezer stays cold longer than a partially filled one. A freezer full of meat stays cold longer than a freezer full of baked goods. If you see that food contains ice crystals, it may be refrozen, although the quality and flavor may be affected. If the condition of the food is poor, dispose of it.
Vacations
If you choose to leave the refrigerator on while you’re away,
use these steps to prepare your refrigerator before you leave.
- Use up any perishables and freeze other items.
- If your refrigerator has an automatic ice maker:
- Raise wire shut-off arm to OFF (up) position or move the switch to the OFF (right) setting.
- Shut off water supply to the ice maker.
- Empty the ice bin.
If you choose to turn the refrigerator off before you leave, follow these steps.
- Remove all food from the refrigerator.
- If your refrigerator has an automatic ice maker;
- Turn off the water supply to the ice maker at least one day ahead of time.
- When the last load of ice drops, raise the wire shut-off arm to the OFF (up) position or move the switch to the OFF (right) setting.
Depending on your model, turn the Thermostat Control or Refrigerator Control to OFF. See the “Setting the Controls” section.
- Clean the refrigerator, wipe it, and dry well.
- Tape rubber or wood blocks to the tops of both doors to prop them open far enough for air to get in. This stops odor and mold from building up.
Moving
When you are moving your refrigerator to a new home, follow these steps to prepare it for the move.
- If your refrigerator has an automatic ice maker;
- Turn off the water supply to the ice maker at least one day ahead of time.
- Disconnect the water line from the back of the refrigerator.
- When the last load of ice drops, raise the wire shut-off arm to the OFF (up) position or move the switch to the OFF (right) setting.
- Remove all food from the refrigerator and pack all frozen food in dry ice.
- Empty the ice bin.
- Depending on your model, turn the Thermostat Control or Refrigerator Control to OFF. See the “Setting the Controls” section.
- Unplug the refrigerator.
- Empty water from the defrost pan.
- Clean, wipe, and dry thoroughly.
- Take out all removable parts, wrap them well, and tape them together so they don’t shift and rattle during the move.
- Depending on the model, raise the front of the refrigerator so it rolls more easily OR screw in the leveling legs so they don’t scrape the floor. See the “Door Closing” or “Leveling Your Refrigerator” section.
- Tape the doors shut and the power cord to the refrigerator cabinet.
When you get to your new home, put everything back and refer to the “Installing Your Refrigerator” section for preparation instructions. Also, if your refrigerator has an automatic ice maker, remember to reconnect the water supply to the refrigerator.
TROUBLESHOOTING
Try the solutions suggested here first in order to avoid the cost of an unnecessary service call.
Your refrigerator will not operate
- Is the power supply cord unplugged?
Plug into a grounded 3 prong outlet - Has a household fuse or circuit breaker tripped?
Replace the fuse or reset the circuit. - Is the refrigerator or freezer control turned to the OFF position?
Refer to the “Setting the Controls” section. - Is the refrigerator defrosting?
Recheck to see if the refrigerator is operating in 30 minutes. Your refrigerator will regularly run an automatic defrost cycle.
Hie lights do not work
- Is the power supply cord unplugged?
Plug into a grounded 3 prong outlet. - Is a light bulb loose in the socket?
Turn the refrigerator or freezer control to OFF. Disconnect the refrigerator from the electrical supply. Gently remove the bulb and reinsert. Then reconnect the refrigerator to the electrical supply and reset the control. - Is a light bulb burned out?
Replace with an appliance bulb of the same wattage, size, and shape. See the “Changing the Light Bulbs” section.
Hiere is water in the defrost drain pan
- Is the refrigerator defrosting?
The water will evaporate. It is normal for water to drip into the defrost pan.
Is it more humid than normal?
Expect that the water in the defrost pan will take longer to evaporate. This is normal when it is hot or humid.
TTie motor seems to run too much
- Is the room temperature hotter than normal?
Expect the motor to run longer under warm conditions. At normal room temperatures, expect your motor to run about 40% to 80% of the time. Under warmer conditions, expect it to run even more of the time. - Has a large amount of food just been added to the refrigerator?
Adding a large amount of food warms the refrigerator. It is normal for the motor to run longer in order to cool the refrigerator back down. - Is the door opened often?
Expect the motor to run longer when this occurs. In order to conserve energy, try to get everything you need out of the refrigerator at once, keep food organized so it is easy to find, and close the door as soon as the food is removed. - Are the controls not set correctly for the surrounding conditions?
Refer to the “Setting the Controls” section. - Are the doors not closed completely?
Push the doors firmly shut. If they will not shut all the way, see “The doors will not close completely” later in this section.
Are the condenser coils dirty?
This prevents air transfer and makes the motor work harder. Clean the condenser coils. Refer to the “Cleaning Your Refrigerator” section.
Are the door gaskets not sealed all the way around?
Contact a qualified person or a technician.
NOTE: If the problem is not due to any of the above, remember that your new refrigerator will run longer than your old one due to its high efficiency motor.
The refrigerator seems to make too much noise
- The sounds may be normal for your refrigerator.
Refer to the “Understanding Sounds You May Hear” section.
The ice maker is not producing ice
- Is the freezer temperature not cold enough to produce ice?
Wait 24 hours after ice maker hook-up for ice production. Refer to the “Setting the Controls” section. - Is the ice maker wire shut-off arm in the OFF (wire shutoff arm up) position (on some models)?
Lower wire shut-off arm to the ON (wire shut-off arm down) position. See the “Ice Maker and Storage Bin/Bucket” section. - Is the ice maker switch in the OFF (right) position (on some models)?
Move ice maker switch to the ON (left) position. See the “Ice Maker and Storage Bin/Bucket” section. - Is the water line shut-off valve to the refrigerator not turned on?
Turn on the water valve. See the “Connecting the Refrigerator to a Water Source” section. - Is an ice cube Jammed in the ice maker ejector arm?
For models with an interior ice bin, remove the ice from the ejector arm with a plastic utensil. For models with an ice bucket located on the freezer door, access the ice maker by depressing the ice sensor door on the upper left side of the freezer interior. While depressing the sensor door, lift the ice maker service door and remove the ice from the ejector with a plastic utensil. Refer to the “Ice Maker and Storage Bin/ Bucket” section. - Does the ice maker mold have water in it?
Check to see if your refrigerator has been connected to your home water supply and the supply shut-off valve is turned on. Refer to the “Connecting the Refrigerator to a Water Source” section.
NOTE: If not due to any of the above, there may be a problem with the water line. Call for service.
The ice maker is producing too little ice
- Has the ice maker Just been installed?
Walt 72 hours for full ice production to begin. Once your refrigerator is cooled down, the ice maker should begin producing 70 to 120 cubes every 24 hours. - Has a large amount of ice just been removed?
Allow 24 hours for ice maker to produce more ice. - Are the controls set correctly?
Refer to the “Setting the Controls” section. - Is the water shut-off valve turned completely on?
Turn valve on fully. Refer to the “Connecting the Refrigerator to a Water Source” section. - Is there a water filter installed on the refrigerator?
The filter may be clogged or Installed Incorrectly. First, check the filter Installation instructions to ensure that the filter was installed correctly and is not clogged. If installation or clogging is not a problem, call a qualified person or a technician.
Off-taste, odor or grey color in die ice
- Are the plumbing connections new, causing discolored or off-flavored ice?
Discard the first few batches of ice. - Have the ice cubes been stored for too long?
Throw old ice away and make a new supply. - Does the freezer and ice bin or bucket need to be cleaned?
See the “Cleaning Your Refrigerator” or “Ice Maker and Storage Bin/Bucket” section. - Has food in the freezer or refrigerator been wrapped properly?
Use airtight, moisture-proof packaging to help prevent odor transfer to stored food. - Does the water contain minerals (such as sulfur)?
A filter may need to be installed to remove the minerals. - Is there a water filter installed on the refrigerator?
Grey or dark discoloration in ice indicates that the water filtration system needs additional flushing. Run additional water through the water dispenser to flush the water filtration system more thoroughly (at least 2 to 3 gallons (8 to 12 L) or 6 to 7 minutes initially). Discard discolored ice.
The ice dispenser will not operate properly
- Is the freezer door closed completely?
Push the door firmly shut. If it will not shut all the way, see “The doors will not close completely” later in this section. - Is the ice bin or bucket installed correctly?
For models with an interior ice bin, push the ice bin in all the way. If the ice bin does not go in all the way, it may not be put in straight. Pull it out and try again. For models with an ice bucket located on the freezer door, the bucket should sit level. To remove the bucket, press the release button on the right side of the bucket and lift straight up. Replace the bucket in the door making sure it is properly aligned and snapped securely into place. Refer to the “Ice Maker and Storage Bin/Bucket” section. - Has the wrong ice been added to the bin or bucket?
Use only cubes produced by the current ice maker. If other cubes have been added, remove all cubes and check to see that none have become stuck in the delivery chute. - Has the ice frozen in the ice bin or bucket?
Shake the ice bin or bucket to separate cubes. It cubes do not separate, empty bin or bucket and wait 24 hours for ice to restock. - Has the ice melted around the auger (metal spiral) in the ice bucket?
Dump the ice cubes and clean the ice bucket completely. Allow 24 hours for the ice maker to restock. Do not try to remove the melted ice with a sharp object. You could damage the ice bucket. - Is ice stuck in the delivery chute?
Clear the ice from the delivery chute with a plastic utensil. Do not use anything sharp to remove the ice. You could cause damage. - Is the ice dispenser stalling while dispensing “crushed” ice?
Stop dispensing ice. Change the ice button from “crushed” to “cubed”. Depress the ice dispenser arm using a sturdy glass. It cubed ice dispenses correctly, depress the button for “crushed” ice and begin dispensing again. Refer to the “Water and Ice Dispensers” section. - Is there ice in the bucket?
See “The ice maker is not producing ice” earlier in this section. - Has the dispenser arm been held in too long?
Release dispenser arm. Ice will stop dispensing when the arm is held in too long. Wait three minutes for dispenser motor to reset before using again. (For future use, take large amounts of ice directly from the ice bin or bucket, so that the dispenser arm is not held in too long.)
Ice bucket difficult to remove
- Is the ice bucket difficult to remove (on some models)?
For models with an ice bucket located on the freezer door, select “cubed” ice. Using a sturdy glass, quickly depress and release the ice dispenser arm. Open the freezer door, depress the release button on the ice bucket and lift upward. Refer to the “Ice Maker and Storage Bin/Bucket” section.
Hie water dispenser will not operate properly
- Is the freezer door not closed completely?
Push the door firmly shut. It it wil! not shut all the way, see “The doors will not close completely” later in this section. - Has the water system not filled?
The water system needs to be filled the first time it is used. Depress the water dispenser bar with a large container until you draw 2 to 3 gallons (8 to 12 L) of water. Discard water. Refer to the “Water and Ice Dispensers” section. - Is the water shut-off valve not turned on or the water line connected at the source?
Check to be sure the water shut-off valve is turned on and the water source is connected to the refrigerator. Refer to the “Connecting the Refrigerator to a Water Source” section for directions. - Is the water shut-off valve clogged or incorrectly installed?
Refer to the “Connecting the Refrigerator to a Water Source” section. If clogging or installation is not a problem, call for service or contact a plumber. - Is there a kink in the home water source line?
It you find or suspect a kink in the water line, call for service. - Is there a water filter installed on the refrigerator?
The filter may be clogged or incorrectly installed. First, check the filter installation instructions to ensure that the filter was installed correctly and is not clogged. If instaliation or clogging is not a problem, call for service.
Water or ice is lealdng from the dispenser - Is the glass not being held under the ice dispenser long enough, causing the ice to spill?
Hold the container under the ice chute for two to three seconds after releasing the dispenser lever. A small amount of ice may dispense after the lever is released. - Is the glass not being held under the water dispenser long enough, causing water to drip?
Hold the container under the water dispenser two to three seconds after releasing the dispenser lever. Water may continue to dispense during this time.
Is an ice cube stuck in the chute and holding the trap door open?
Remove the cube. - Is there a water filter installed on the refrigerator?
The water filtration system may have air in the lines, causing water to drip. Additional flushing may help clear air from the lines. Normal dispenser use should flush air from the lines within 24 to 72 hours.
Water flow from the dispenser decreases noticeably
Is there a water filter installed on the refrigerator?
The filter may be full or incorrectly installed. Depending on your model, remove the water filter cartridge (see the “Base Grille Water Filtration and Monitoring System or Interior Water Filtration System” section.) Operate the dispenser. If the water flow increases noticeably, your filter is full and needs to be replaced.
Hie dispenser water is not cool enough
- Has the refrigerator been newly Installed?
Allow 24 hours for the refrigerator to cool completely. - Has a large amount of water been recently dispensed?
Allow 24 hours for the water to cool completely. - Has water not been recently dispensed?
The first glass of water may not be cool. Discard the first glass of water.
Hie divider between the two compartments is warm
The warmth is probably due to normal operation of the automatic exterior moisture control. If still concerned, call for service.
Temperature is too warm
- Are the air vents blocked In either compartment?
This prevents the movement of cold air from the freezer to the refrigerator. Remove any objects from in front of the air vents. Refer to the “Ensuring Proper Air Circulation” section for the location of air vents. - Are the door{s) opened often?
Be aware that the refrigerator will warm when this occurs. In order to keep the refrigerator cool, try to get everything you need out of the refrigerator at once, keep food organized so it is easy to find, and close the door as soon as the food is removed. - Has a large amount of food just been added to the refrigerator or freezer?
Adding a large amount of food warms the refrigerator. It can take several hours for the refrigerator to return to the normal temperature. - Are the controls set correctly for the surrounding conditions?
Refer to the “Setting the Controls” section.
There is interior moisture build-up
- Are the air vents blocked in the refrigerator?
Remove any objects from in front of the air vents. Refer to the “Ensuring Proper Air Circulation” section for the location of air vents. - Are the door{s) opened often?
To avoid humidity build-up, try to get everything you need out of the refrigerator at once, keep food organized so it is easy to find, and close the door as soon as the food is removed. (When the door is opened, humidity from the room air enters the refrigerator. The more often the door is opened, the faster humidity builds up, especially when the room itself is very humid.) - Is the room humid?
It is normal for moisture to build up inside the refrigerator when the room air is humid. - Is the food packaged correctly?
Check that all food is securely wrapped. Wipe off damp food containers before placing in the refrigerator. - Are the controls set correctly for the surrounding conditions?
Refer to the “Setting the Controls” section. - Was a self-defrost cycle completed?
It is normal for droplets to form on the back wall after the refrigerator self-defrosts.
The doors will not close completely
- Are food packages blocking the door open?
Rearrange containers so that they fit more tightly and take up less space. - Is the ice bin or ice bucket out of position?
For models with an interior ice bin, push the ice bin in all the way. If the ice bin does not go in all the way, it may not be put in straight. Pull it out and try again. For models with an ice bucket located on the freezer door, the bucket should sit level. To remove the bucket, press the release button on the right side of the bucket and lift straight up. Replace the bucket in the door making sure it is properly aligned and snapped securely into place. Refer to the “Ice Maker and Storage Bin/Bucket” section. - Are the pans, shelves, bins, or baskets out of position?
Put the crisper cover and ail pans, shelves, bins, and baskets back into their correct positions. See the “Crisper and Crisper Cover” section for more information. - Are the gaskets sticking?
Clean gaskets according to the directions in the “Cleaning Your Refrigerator” section. - Does the refrigerator wobble or seem unstable?
Level the refrigerator. Refer to the “Door Closing” or “Leveling Your Refrigerator” section, depending on your model. - Were the doors removed during product installation and not properly replaced?
Remove and replace the doors according to the “Removing the Doors” section on some models, or call a qualified service technician.
The doors are difficult to open
Are the gaskets dirty or sticky?
Clean gaskets according to the directions in the “Cleaning Your Refrigerator” section.
SEARS MAINTENANCE AGREEMENT
We Service What We are our assurance to you that you can depend on Sears for service. Your Kenmore appliance has added value when you consider that Sears has service units nationwide, staffed with professional technicians trained on ali appliances Sears sells. They have the knowledge and skills, tools, parts and equipment to ensure our pledge to you that We Service What We sell.
Sears Maintenance Agreement
Maintain the value of your purchase with a Sears Maintenance Agreement. Kenmore appliances are designed, manufactured, and tested for years of dependabie operation. Yet any home appliance may require service from time to time. The Sears Maintenance Agreement offers you an outstanding service program for your product.
Hie Sears Maintenance Agreement
- is your way to buy tomorrow’s service at today’s prices.
- Eliminates repair biiis resulting from normai use.
- Aliows for as many service caiis as you need.
- Provides an annual Preventive Maintenance Check at your request to keep your Kenmore Appiiance in proper running condition.
For more information, call 1-800-827-6655.
Replacement Parts
To order coil cleaning brush or replacement filters, call 1-800366-PART and ask for the appropriate part number listed below or contact your authorized Kenmore dealer.
Coil cleaning brush:
Order Part #4210463
Base grille water filter cartridges; Cyst Cartridge:
Order Part #9902 (WF-NLC250 and WF-LC400)
PRODUCT DATA SHEETS
Base Grille Water Filtration System Model WF-NLC250/NLC250
Tested and certified by NSF Internationa! against ANSI/NSF Standard 42 for the reduction of Chlorine (Class I) Taste and Odor and against ANSI/NSF Standard 53 for the reduction of Lead, Cysts and Turbidity.
Capacity; 250 Gallons (946 Liters)
Service Flow Rate: 0.5 GPM (1.89 L/min.) @ 60 psi.
| Substance Reduction | U.S. ERA | Average | Maximum | Average | Minimum % | Average % | NSF Test |
| Aesthetic Effects | MCL | Influent | Effluent | Effluent | Reduction | Reduction | Number |
| Chlorine Taste/Odor | N/A | 1.9 mg/L | N/A | 0.04 mg/L | N/A | 97.9% | 994707 |
| Particulate | N/A | 610,000/mL* | N/A | 154/mL | N/A | 99.97% | 994711 |
| Contaminant | U.S. ERA | Average | Maximum | Average | Minimum % | Average % | NSF Test |
| Reduction | MCL | Influent | Effluent | Effluent | Reduction | Reduction | Number |
| Cyst | 99.95%“ | 89,250/mL* | 6/mL | 2.3/mL | 99.993% | 99.997% | 994710 |
| Turbidity | 0.5 NTU | 29 NTU | 0.1 NTU | 0.09 NTU | 99.5% | 99.69% | 994710 |
| Lead: @ pH 6.5 | 0.015 mg/L | 0.16 mg/L“* | 0.001 mg/L | 0.001 mg/L | 99.4% | 99.4% | 994708 |
| Lead: @ pH 8.5 | 0.015 mg/L | 0.16 mg/L*“ | 0.002 mg/L | 0.001 mg/L | 98.8% | 99.4% | 994709 |
Base Grille Water Filtration System Model WF-LC400/LC400
Tested and certified by NSF International against ANSI/NSF Standard 42 for the reduction of Chlorine (Class I) Taste and Odor and against ANSI/NSF Standard 53 for the reduction of Lead, Cysts and Turbidity.
Tested and certified by NSF International against ANSI/NSF Standard 42 for the reduction of Chlorine (Class I) Taste and Odor and against ANSI/NSF Standard 53 for the reduction of Lead, Cysts and Turbidity.
Service Flow Rate: 0.5 GPM (1.89 L/min.)( 60 psi.
| Substance Reduction | U.S. ERA | Average | Maximum | Average | Minimum % | Average % | NSF Test |
| Aesthetic Effects | MCL | Influent | Effluent | Effluent | Reduction | Reduction | Number |
| Chlorine Taste/Odor | N/A | 2.0 mg/L | N/A | 0.04 mg/L | N/A | 98% | 994707 |
| Particulate | N/A | 610,000/mL* | N/A | 154/mL | N/A | 99% | 994711 |
| Contaminant | U.S. ERA | Average | Maximum | Average | Minimum % | Average % | NSF Test |
| Reduction | MCL | Influent | Effluent | Effluent | Reduction | Reduction | Number |
| Cyst | 99.95%“ | 89,250/mL* | 6/mL | 2.3/mL | 99.993% | 99.997% | 994710 |
| Turbidity | 0.5 NTU | 29 NTU | 0.12 NTU | 0.09 NTU | 99.59% | 99.69% | 994710 |
| Lead: @ pH 6.5 | 0.015 mg/L | 0.16 mg/L*“ | 0.001 mg/L | 0.001 mg/L | 99.4% | 99.4% | 994708 |
| Lead: @ pH 8.5 | 0.015 mg/L | 0.16 mg/L*“ | 0.002 mg/L | 0.001 mg/L | 98.8% | 99.4% | 994709 |
- It is essential that operational, maintenance, and filter replacement requirements be carried out for the product to perform as advertised.
- Model WF-NLC250 Change cartridge at least every 6-9 months. Use replacement cartridge NLC 250, part# 9902. 2000 suggested retail price of $39.95 U.S.A./S49.95 Canada.
- Model WF-LC400 The filter monitor system measures the amount of water that passes through the filter and alerts you to replace the filter. When 90% of the filter’s rated life is used, the filter indicator light changes from green to yellow. When 100% of the filter’s rated life is used, the filter indicator light changes from yellow to red, and it is recommended that you replace the filter. Use replacement cartridge LC400, part# 9902. 2000 suggested retail price of $39.95 U.S.A./$49.95 Canada.
- The product is for cold water use only.
- Do not use with water that is microbiologically unsafe or of unknown quality without adequate disinfection before or after the system.
- Refer to the “Assistance or Service” section for the Manufacturer’s name, address and telephone number.
- Refer to the “Warranty” section for the Manufacturer’s limited warranty.
Application Guidelines/Water Supply Parameters
- Water Supply City or Well
- Water Pressure 30-120 psi (207 – 827 kPa)
- Water Temperature OS’* -100°F (O.e” – ST.S” C)
‘Test requirement is at least 100,000 particles/ml of AC Fine Test Dust. “Cyst performance is % reduction based on NSF Standard 53. ‘“Test requirement is 0.15 mg/L ± 10%. These contaminants are not necessarily in your water supply. Performance may vary based on local water conditions. NSF is a registered trademark of NSF International
WARRANTY
ONE-YEAR FULL WARRANTY ON REFRIGERATOR
For one year from the date of purchase, when this refrigerator is operated and maintained according to instructions attached to or furnished with the product, Sears will repair this refrigerator, free of charge, if defective in material or workmanship.
FIVE-YEAR FULL WARRANTY ON SEALED REFRIGERATION SYSTEM
For five years from the date of purchase, when this refrigerator is operated and maintained according to owner’s instructions attached to or furnished with the product. Sears will repair the sealed system (consisting of refrigeration, connecting tubing, and compressor), free of charge, if defective in materials or workmanship. The above warranty coverage applies only to refrigerators which are used for storage of food for private household purposes and excludes original and replacement Kenmore Filtered Ice & Water filter cartridges (if equipped with the filter system). Original and replacement cartridges are warranted for 30 days, parts only, against defects in material or workmanship.
WARRANTY SERVICE IS AVAILABLE BY CONTACTING THE NEAREST SEARS SERVICE CENTER IN THE UNITED STATES OR CANADA
. This warranty applies only while this product is in use in the United States or Canada. This warranty gives you specific legal rights, and you may also have other rights which vary from state to state or province to province.
Warranty terms may vary in Canada. Contact your local Sears Service Center for complete details.
Sears, Roebuck and Co. Dept. 817WA, Hoffman Estates, IL 60179
Sears Canada, Inc., Toronto, Ontario, Canada MSB 2B8
In the space below, record your complete model number, serial number, and purchase date. You can find this information on the model and serial number label located on the inside wall of the refrigerator compartment. Have this information available to help you obtain assistance or service more quickly whenever you contact Sears concerning your refrigerator.
Model number 106.
Serial number _ Purchase date
Save these instructions and your sales receipt for future reference.




















































