JONATHAN Y JYL1107A 2-Light Coastal Vintage Iron LED Table Lamp Instruction Manual
WARNING
INSPECT ITEM CAREFULLY BEFORE ATTEMPTING TO INSTALL. IF THERE IS ANY DAMAGE OR OBVIOUS DEFECT, DO NOT INSTALL. ITEM MAY NOT BE RETURNED ONCE IT HAS BEEN INSTALLED
CARE AND MAINTENANCE
Unplug lamps before using any cleaning solutions. Dust shades with a feather duster or with an appropriate vacuum-brush attachment. Wipe with a soft, dry cloth and clean lamp bases with the methods appropriate to the material. Avoid the use of chemicals and household cleaners as they may damage the finish.
NOTICE& IMPORTANT SAFETY INSTRUCTIONS
- Please make sure that you have all parts indicated before you begin assembly of this item
- This item should be assembled on a soft surface to prevent scratching the finish during assembly
- To reduce the risk of fire, electrical shock or injury to persons or property, please follow the guideline below for safe use and installation
- The external flexible cable or cord of this lamp cannot be replaced;
If the cord is damaged, the lamp shall be destroyed
This portable lamp has a polarized plug (one blade is wider than the other) as a safety feature to reduce the risk of electric shock. this plug will fit in a polarized outlet only one way. if the plug does not fit fully in the outlet, reverse the plug, if it still does not fit, contact a qualified electrician. Never use with an extension cord unless the plug can be fully inserted. do not attempt to disregard this safety feature.
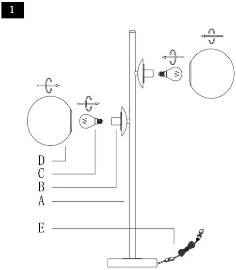
Part List and Hardware List
| PIECE | DESCRIPTION | PICTURE | QUANTITY | PIECE | DESCRIPTION | PICTURE | QUANTITY |
| A | Lamp body | 1X | D | Shade | ![]() | 2X | |
| B | Socket | 2X | E | Cord | 1X | ||
| C | Bulb | ![]() | 2X |
Product Dimensions
13″Lx6.25″Wx28″H
PREPARATION
Before beginning assembly of product, make sure all parts are present. Compare parts with package contents list and hardware contents list. If any part is missing or damaged, do not attempt to assemble the product. Estimated Assembly Time: 6 minutes.
PLEASE USE ON/OFF TYPE”B” BULB MAX 40-WATT OR CFL BULB MAX 13-WATT OR LED BULBMAX9-WATTTHERE ARE 2PCS LED 4-WATT BULB IN THE BOX\
Step 1
Put the lamp base(A) on the table
Insert the Bulb(C) into the Socket(B).
Put the shade(D) onto the Socket(B).
Be careful not to twist the power cord and tighten securely
Step 2
Put the light on a level surface to check if everything is stable.
ENJOY YOUR LAMP
![]()











