Altronix WP2 Weatherproof Enclosure

Overview:
Altronix WP2 is a UL Listed, NEMA 4/IP 66 Rated outdoor power supply/battery and accessory enclosure with a metal backplane. It can accommodate a wide variety of Altronix power supplies, sub-assemblies, and other accessories.
Specifications:
- NEMA 4/4X, IP66-11 Rated enclosure for outdoor use.
- Hot compression molded, halogen-free, self-extinguishing fiberglass reinforced polyester.
- Stainless steel continuous hinge and stainless steel pad-lockable latches.
- Includes metal backplanes for mounting power supplies and accessories.
- Integral flanges simplify wall or pole mounting.
- Fits two (2) 12VDC/12AH batteries.
- Product weight: 9 lb. (4.08 kg).
- Shipping weight: 10.5 lb. (11.57 kg).
Installation Instructions:
- Remove the backplane inside the enclosure by removing the four (4) mounting screws (do not discard hardware).
- Mark and drill desired knockouts on the enclosure to facilitate wiring.
- The enclosure can be wall or pole-mounted. See the detailed instructions below.
- Mount circuit boards to a backplane.
- Secure the backplane inside the enclosure with the four (4) mounting screws.
- mount the unit in the desired location with the appropriate fasteners utilizing the holes provided on the flanges (Enclosure Dimensions, pg. 4).
- To facilitate wire entry utilizes weather-tight NEMA 4 rated connectors, bushings, and cable.
Wall Mount Installation
- Place unit at the desired location and secure with mounting screws (not included) (Fig. 1, pg. 3).

Pole Mounting Using Optional Pole Mount Kit PMK2 (not included):
This installation should be made by qualified service personnel. This product contains no serviceable parts. PMK2 is intended for use with Altronix outdoor rated power supplies or accessories housed in WP2 enclosures. Brackets are designed for use with the Wormgear Quick Release Straps (two included).
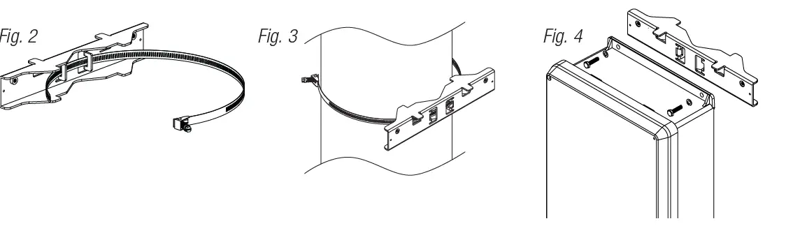
- Thread one (1) wormgear quick-release strap through the slots on the back of a mounting bracket (Fig. 2).
- Once the desired height of the top Pole Mount bracket is achieved, tighten the straps down by sliding the open the end of the strap through the locking mechanism on the strap, then tighten the screw with a flat head screwdriver or 5/16” hex socket driver (Fig. 3).
- Attach the bottom bracket to the enclosure by inserting bolts through the flange of the enclosure and into the bracket, tightening bolts with a 7/16” hex socket (Fig. 4).

- Thread the second wormgear quick-release strap through the slots on the back of the bottom mounting bracket (Fig. 5).
- Mount the enclosure onto the top bracket by inserting bolts through the flange of the enclosure and into the bracket, tightening bolts with a 7/16” hex socket (Fig. 6).
- Tighten the straps of the bottom bracket down by sliding the open end of the strap through the locking mechanism on the strap, then tighten the screw with a flat head screwdriver or 5/16” hex socket driver (Fig. 6/6a).
- Clip excess straps.

Enclosure Dimensions
Altronix is not responsible for any typographical errors.140 58th Street, Brooklyn, New York 11220 USA | phone: 718-567-8181 | fax: 718-567-9056 website: www.altronix.com | e-mail: [email protected] | Made in U.S.A.






















