Freezeless Yard Hydrant Model R34
Installation Guide
R34-5 Yard Hydrant

The Woodford R34 Freezeless yard hydrant is intended for irrigation purposes and offers immediate water flow even in sub-zero temperatures. The R34 can be used for many applications such as filling field spray equipment, cleaning equipment or tools, livestock watering, garden and lawn care. The shut-off valve for the hydrant is below the frost line when installed properly, which allows the water in the standpipe to drain out a hole in the valve body. When the hydrant is shut-off, and all devices removed from nozzle, the hydrant will drain and not freeze.
FEATURES:
Head & Handle: Ductile iron
All Metal Construction: No plastic components
Packing: Graphite for lubricity and long life
Valve Seat: Permanent brass valve body with large hemispherical seating surface.
Operation: 90° handle lift for full on
Nozzle: 3/4” brass hose nozzle
Casing: 1” Galvanized steel pipe
Operating Rod: 3/8” Steel rod
Drain Hole: Tapped – ⅛″ N.P.T.
Adjustable Pivot Block: Provides easy and positive adjustment of the lever lock in tension
Tamperproof Lock: Can be padlocked in closed position
Inlet Specifications: 3/4” FPT
MAX PRESSURE – 125 p.s.i.
MAX TEMPERATURE – 120° F
SHIPPING WEIGHT
| Bury Depth (Ft) | 1 | 2 | 3 | 4 | 5 | 6 | 7 |
| Shipping Wt. (Lbs) | 9.2 | 11.3 | 13.4 | 15.5 | 17.6 | 19.7 | 21.8 |
| Overall Length | 45” | 57” | 69” | 81” | 93” | 105” | 117” |
For Installation / Troubleshooting Instructions go to www.woodfordmfg.com or call 1-800-621-6032
When ordering, specify model and bury depth.
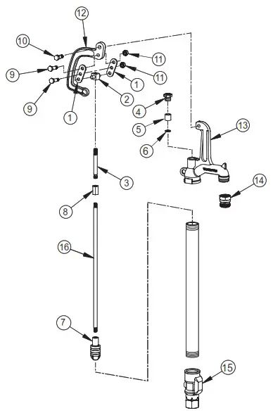
MODEL R34 PARTS LIST

| ITEM | PART# | DESCRIPTION |
| 15246 | R34 Head & Nozzle Assembly Includes items 13 & 14 | |
| RK-R34HA | R34 Head Assembly – Complete Includes items 1-6 & 8-14 (15247) | |
| 1 | 10620 | Link Plate (2) |
| 2 | 10619 | Pivot Square |
| 3 | 10588 | Rod Stem |
| 4 | 10100 | Packing Nut |
| 5 | 10101 | Packing |
| 6 | 10102 | Packing Support Washer |
| 7 | 10108 | Plunger |
| 8 | 10481 | Coupling Nut |
| 9 | 10589 | Link Bolt |
| 10 | 10590 | Handle Shoulder Bolt |
| 11 | 10206 | Hex Nut (2) |
| 12 | 10587 | Handle |
| 13 | 10586 | Head |
| 14 | 10004 | 3/4” Brass Hose Nozzle |
| 15 | 10018 | Valve Body |
| 16 | Operating Rod | |
| 10591 | 1’ Bury (35-15/16” Long) | |
| 10592 | 2’ Bury (47-15/16” Long) | |
| 10593 | 3’ Bury (59-15/16” Long) | |
| 10594 | 4’ Bury (71-15/16” Long) | |
| 10595 | 5’ Bury (83-15/16” Long) | |
| 10596 | 6’ Bury (95-15/16” Long) | |
| 10600 | 7’ Bury (107-15/16” Long) | |
| RK-R34 | Repair Kit (Includes items 1-7) |
![]()
For more information contact…
WOODFORD MANUFACTURING COMPANY
2121 Waynoka Road, Colorado Springs, Colorado 80915 • Phone: (800) 621-6032 • Fax: (800) 765-4115
To view our complete product line visit: www.woodfordmfg.com or email: [email protected]
A Division Of WCM Industries, Inc.
©2020 WOODFORD Mfg.
Rev. 06/20 Form No. R34.107
















