
Instruction Manual
![]() | ![]() | ![]() |
| Talis M54 210 2jet 72800XXX Talis M54 210 Eco 2jet 72842XXX | Talis M54 210 1jet 72802XXX | Talis M54 270 1jet 72808XXX Talis M54 270 Eco 1jet 72845XXX |
![]()
Accepterad
monteringsanvisning
2021:1
Safety Notes
Installation Instructions
- Prior to installation, inspect the product for transport damages. After it has been installed, no transport or surface damage will be honoured.
- The pipes and the fixture must be installed, flushed and tested as per the applicable standards.
- The plumbing codes applicable in the respective countries must be observed.
Technical Data
| Operating pressure: | max. 1 MPa |
| Recommended operating pressure: | 0,1 – 0,5 MPa |
| Test pressure: | 1,6 MPa (1 MPa = 10 bar = 147 PSI) |
| Hot water temperature: | max. 60°C |
| Thermal disinfection: | 70°C / 4 min |
The product is exclusively designed for drinking water!
Symbol description
Do not use silicone containing acetic acid!
Adjustment (see page 41)
To adjust the hot water limiter. Using a hot water limiter in combination with a continuous flow water heater is not recommended.
Maintenance (see page 48)
The check valves must be checked regularly according to EN 806-5 in accordance with national or regional regulations (at least once a year).
Dimensions (see page 42)
Flow diagram (see page 43)
Spare parts (see page 45)
XXX = Colors
000 = Chrome Plated
130 = Polished Bronze
340 = Brushed Black Chrome
670 = Matt Black
800 = Stainless Steel Optic
930 = Polished Brass
Special accessories (order as an extra)
Adapter (G⅜ / G½)
#93395000 (see page 46)
Cleaning (see page 45)
Operation (see page 44)
| Fault | Cause | Remedy |
| Mixer stiff | – Cartridge defective, calcified | – Exchange cartridge |
| Mixer dripping | – Cartridge defective | – Exchange cartridge |
| Water escaping in area of swivel spout | – 0-ring defective | – Exchange 0-ring |
| Water escaping at the threaded base | – connection hoses not completely screwed into basic body | – Tighten connection hoses by hand |
| – 0-ring at the connection hose defective. | – Exchange 0-ring | |
| Hot water temperature too low | – Hot water limiter incorrectly set | – Set hot water limiter |
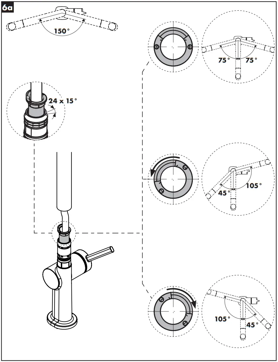
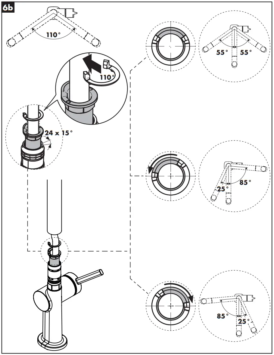
Assembly
![]() | ![]() |
![]() | ![]() |
![]() | ![]() |
![]() | ![]() |

www.hansgrohe.com/cleaning-recommendation

Cleaning recommendation / Warranty / Contact

![]() | ![]() |
![]() | ![]() |

| 72800XXX P-IX 29737/IOO | DL0136 | X |
| 72802XXX P-IX 29738/IA | DL0136 | X |
| 72808XXX P-IX 29741/IO | DL0136 | X |
| 72842XXX P-IX 29743/IOO | DL0136 | X |
| 72845XXX P-IX 29745/IO | DL0136 | X |


Hansgrohe · Auestraße 5 – 9 · D-77761 Schiltach · Telefon +49 (0) 78 36/51-1282 · Telefax +49 (0) 7836/511440
E-Mail: [email protected] · Internet: www.hansgrohe.com
































