CoolMax SRX
Charge Controller
Installation and Operation User Manual
Models
SRX 600/30-120
About AERL
Australian Energy Research Laboratories (AERL) was founded by Stuart Watkinson (BE Elec. Eng., Grad. M.I.E.A) in 1985 to commercialize the “Power Optimizer”, a revolutionary solution to a complex problem, developed while studying at the University of Queensland in Brisbane, Australia.
Unlike many inventors, Stuart possessed not only a great idea but also the entrepreneurial skill to turn it into a commercially viable product. The “Power Optimizer” would eventually come to be known as the AERL MAXIMIZER™, the world’s first truly Universal Maximum Power Point Tracker (MPPT).
Today, AERL manufactures a range of highly reliable and efficient specialized power electronic controllers for use in Solar, Micro Hydro, Micro Wind, and Cathodic Protection applications.
Contact Information
Address: 2/75 Bluestone Circuit, Seventeen Mile Rocks, 4073, Queensland, Australia
Phone: +61 1800 950 865
Email: [email protected]
Website: https://www.aerl.com.au
Disclaimer
UNLESS SPECIFICALLY AGREED TO IN WRITING, AUSTRALIAN ENERGY RESEARCH LABORATORIES:
(a) MAKES NO WARRANTY AS TO THE ACCURACY, SUFFICIENCY OR SUITABILITY OF ANY TECHNICAL OR OTHER INFORMATION PROVIDED IN ITS MANUALS OR OTHER DOCUMENTATION.
(b) ASSUMES NO RESPONSIBILITY OR LIABILITY FOR LOSS OR DAMAGE, WHETHER DIRECT, INDIRECT, CONSEQUENTIAL, OR INCIDENTAL, WHICH MIGHT ARISE OUT OF THE USE OF SUCH INFORMATION.
THE USE OF ANY SUCH INFORMATION WILL BE ENTIRELY AT THE USER’S RISK.
Notice of Copyright
CoolMax SRX Charge Controller User Manual © 2023 by AERL Pty. Ltd. All Rights Reserved.
Trademark
AERL and the AERL Logo are trademarks owned by AERL Holdings Pty. Ltd. and used by AERL Pty. Ltd under license.
These trademarks may be registered in Australia and other countries.
Effective Date
April 2023 (4/2023)
Important Safety Information
This Installation Manual contains important safety information and installation instructions for the AERL COOLMAX SRX MPPT Solar Charge Controller.
The following symbols are used throughout this user manual to indicate ideal installation methods, potentially dangerous conditions, and important operational information.
IMPORTANT
Indicates information that must be followed to ensure proper operation of the COOLMAX SRX.
CAUTION
Indicates a critical procedure for the safe installation of the COOLMAX SRX. Use extreme caution when performing this task.
About this Manual
IMPORTANT
- This User Manual provides detailed installation and usage instructions for the COOLMAX SRX unit. It is recommended that all the Instructions and Cautions in this User Manual be read before beginning installation.
- Only qualified electricians and technicians should install the COOLMAX SRX. This manual is intended for all installation technicians and the system owner.
- Do not disassemble or attempt to repair the COOLMAX SRX unless you are a qualified technician and have authority in writing from AERL to do so.
- AERL will not be held responsible in any way for the mishandling of this product or for installation of the product in a manner that does not follow the instructions in this manual or as advised by an AERL technician.
Warranty Conditions
1Warranty Duration from the Date of Purchase
| Warranty Requirements | Total Warranty Duration |
| 1. You are the original purchaser of the CoolMax SRX. | 5 Years |
Our goods come with guarantees that cannot be excluded under the Australian Consumer Law. You are entitled to a replacement or refund for a major failure and compensation for any other reasonably foreseeable loss or damage. You are also entitled to have the goods repaired or replaced if the goods fail to be of acceptable quality and the failure does not amount to a major failure.
AERL will bear the cost of parts and labour to repair any manufacturing faults found within the terms and period of this warranty and pay the cost of freight to return the repaired CoolMax SRX controller within Australia/New Zealand but the method of freight will be determined by AERL.
An allowance is made for the labour required to disconnect or reinstall faulty parts up to the value of $220 AUD excluding GST. All installation and user conditions as set down in the instruction manual must be strictly adhered to as failure to do so may void your warranty. Any faults or like faults caused by lightning, water or moisture ingress, vermin infestation, improper voltage, faulty installation, use of the product in a manner for which it is not intended, alterations which affect the reliability or performance of the unit but are not attributable to faulty manufacture, or damage caused by other system components will not be covered under warranty. In the event of the product being out of service, AERL shall bear no responsibility for any consequential loss or expense.
AERL will not be held responsible for any misleading or incorrect information conveyed by anyone not directly employed by AERL. For claims under warranty, the faulty product(s) must be returned to AERL’s facility at 2/75 Bluestone Circuit, Seventeen Mile Rocks, 4073, QLD, Australia after contacting AERL and receiving the appropriate RMA documentation from AERL.
Note: Warranty conditions remain current until the next revision of this document is published. Proof of purchase is required when making a warranty claim.
Specifications
General Specifications
| Parameter | Typical |
| Weight | 5.65 kg |
| Dimensions (H x W x D) | 432 x 192 x 89 mm |
| Enclosure Type | Indoor Type 1 / IP20 |
| Input / Output Power Connectors | Screw Terminals (8 mm 2 -> 42mm 2 ) |
| Characteristics | SRX 600/30-120 |
| Nominal Battery Voltage / Vdc Range | 120 V / 90 – 170 |
| Max Charge Current | 30A |
| Nominal Charge Power | 4320 W @ 120 V |
| Max PV Input Power | Nominal Charge Power x 1.33 |
| Max PV Input Voltage (Voc) | 600 V |
| MPP Voltage Range (Vmp) | 215 – 500 V |
| Min PV Operating Voltage | 200 V |
| Max PV Input Current (Imp) | 12:00 AM |
| Max PV Short Circuit Current (Isc) | 18 A |
| Device Startup Voltage | 24 V |
| Total Backfeed Current (Ibf Total) | 12:00 AM |
| Overload Behaviour | Power Limitation |
| PV Reverse Polarity Protection | Yes |
| Earth Leakage Current Detection | Yes |
| Overvoltage Category | DC II |
| Overvoltage Protection | DC Type II |
| Safety Protection Class | I |
| Pollution Degree (Int & Ext) | III |
| Max Altitude Rating | 2000m |
| Max Conversion Efficiency | 98.70% |
| Ambient Operating Temperate Range (Maximum Charge Current derates by up to 10% Per ° C above 80% Ambient ° C) | -20 to +50 °C |
| Storage Temperature | -30 to +70 °C |
| Self-Consumption @ Idle | 3 W |
| Allowable Relative Humidity | 4 – 95% (Non-Condensing) |
| Cooling Method | Active (User Serviceable) |
| Required Cabinet Air Exchange Rate (Intake @ 40°C) | 14 m 3 /hour |
| Communications | RS485 / CAN Bus |
| Certifications | IEC62109-1:2010 EN61000.6.3:2012 EN61000.6.4:2012 |
Introduction
Thank-you for purchasing an Australian made CoolMax 600 Series Charge Controller.
CoolMax Charge Controllers offer an efficient and reliable charging process that not only maintains battery efficiency and life but maximizes power generation by utilizing the full potential of your PV array.
Features
CoolMax Charge Controllers utilize an advanced form of Maximum Power Point Tracking (MPPT) technology to extract the maximum power available from your PV array, efficiently charging your batteries and maximizing power generation. AERL’s Maximum Power Point Tracking (MPPT) algorithm has been proven to be highly robust, resistant to local extremes, and results in power losses of less than 0.5% over the whole operating temperature range of a PV Array.
- High Input Voltage for Ease of Install
- On-Board Ground Fault Detection
- PV Array Oversizing Support (+33%)
- Superior Peak Power Efficiency
- Built-In Overload and Thermal Protection
- Reverse Polarity and Current Protection
- Designed for Long Term Reliability
- Australian Made
Firmware
This user manual covers CoolMax SRX Control Firmware Revisions v1.6 and above.
Installation
IMPORTANT
The SOLAR DC ISOLATOR/BREAKER at the input side must be in the OFF position before connecting or disconnecting the MPPT Charge Controller.
CAUTION – Equipment Damage
CoolMax Charge Controllers are not designed to be used in parallel with other Third Party Charge Controllers and this will void your warranty.
Standards & Requirements
All installations must comply with national and local electrical standards and codes of practice, and the CoolMax SRX must be installed in a clean, dry location away from direct sunlight. AERL always recommends professional installation. No on-going maintenance is required.
Grounding
CoolMax Charge Controllers are designed to be installed in floating systems but contain provisions for positive functional earthing for telecom applications if required.
CAUTION – Hazard
DO NOT FUNCTIONALLY EARTH THE ARRAY if a negative earth is used for the batteries, load, or DC system.
IMPORTANT
The Chassis Ground (located inside the enclosure) is marked with the following symbol:
CAUTION – Hazard
If damaged or malfunctioning, the AERL controller should only be disassembled and repaired by a qualified service centre. Please contact your local authorized distributor for assistance. Incorrect reassembly risks malfunction, electric shock, or fire.
Mounting the Controller
Use the mounting plate included with the controller to mount the SRX on a vertical surface as demonstrated in Figure 1A below.
Figure 1A: SRX Mounting Hole Locations
Mounting Clearances
When mounting the SRX, a clearance zone around the device must be adhered to for optimal cooling of the controller under full load. Please refer to the Figure 1B below.

Wiring Information
This section will provide information and instructions for safely wiring up the DC connections on the CoolMax SRX.
Wire and Disconnect Sizing
Use a minimum of #6 AWG (16 mm
IMPORTANT
- Wire sizes must comply with local and national standards. Input conductors and circuit breakers must be rated at 1.56 times the short-circuit current of the PV array.
- Copper wiring must be rated at 75°C or higher. 2 ) wire for the output between the CoolMax and the battery bus bar or termination, and we recommend you use an appropriately sized insulated crimp ferrule when terminating both the input and output connections.
Torque all CoolMax wire and ground terminals to 1.7 Nm (15 in-lb). CoolMax 600/30-120
- The output current limit of the CoolMax 600/30-120 is 30 amps.
- Use a 40A Non-Polarized DC Circuit Breaker between the controller output and load.
o Recommended Option: Beny BB2-40 40A 1000V 2-Pole Circuit Breaker
Please refer to the relevant IEC or AS/NZS electrical code for recommendations on PV array cable sizing, length, and ampacity.
All devices connected to the controller must have suitable insulation in accordance with the relevant product standards.
Wiring Compartment
CAUTION – Hazard
All CoolMax SRX wiring must enter the unit through the entry ports located in the base and rear of the enclosure.
Under absolutely no circumstances should holes be drilled anywhere into the unit to make other cable entry points. Doing so can cause metal swarf or fillings to enter the internal electronics and damage the unit once powered up.
Drilling any holes into the unit will void all product warranty.
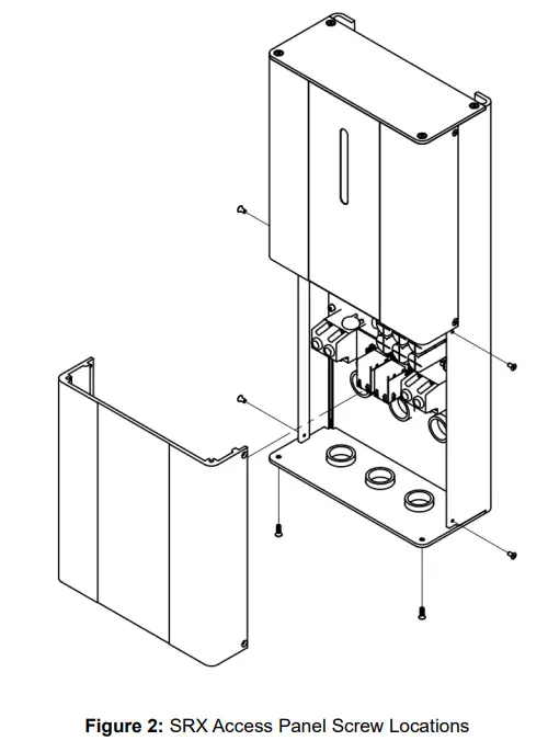
To install cabling, the access panel of the COOLMAX SRX must be removed. This is done by removing the two M4 countersunk Phillips screws on the bottom of the enclosure and the four M3 countersunk Phillips screws on either side of the access panel. Refer to Figure 2 below.

Wiring Polarity
CAUTION – Equipment Damage
Reversing the polarity of either the input or output may damage the CoolMax SRX and void product warranty. Confirm polarity with a multi-meter prior to closing the input and output circuit breakers.
With the access cover removed, the internal PV Input and Battery Output terminals will be visible. Refer to Figure 3 below.

Operation
Start-Up & Shutdown Procedure
The CoolMax SRX will start-up when a voltage above 60Vdc is applied to the PV Input – The device will not power up from the Battery terminal.
To start the device, connect the Battery first, and then turn the PV Isolator/Breaker on. The LED will flash blue for approximately 60 seconds, and then begin to charge – USB setup will be required on first start-up. To shut down the device, turn the PV Isolator off, wait for the LED to turn off, and then disconnect the battery breaker to isolate the controller.
CAUTION – Equipment Damage
Do not disconnect the Battery Fuse/Breaker under load. Refer to the startup & shutdown procedure above – Turn Off the PV Isolator first!
Programming the Device
When the CoolMax SRX is first powered on, the device will run a self-test and then the LED indication strip will flash yellow to indicate no charge profile has been configured.
The CoolMax SRX is programmed via the USB-C port located inside the access cover as demonstrated in Figure 4 to the right. The AERL Link Software for Windows 10/11 can be downloaded at the URL below.

link.aerl.com.au
Instructions for setting the charge profile located on Page 18.
Device Status Indicator

Battery Charge Profile
IMPORTANT
The CoolMax SRX default charge profile is intended for a generic LiFePo 4 battery solution. AERL supports most other battery chemistries that do not require external BMS communications. AERL is working with various battery manufacturers to expand out-of-the-box comms support for Lithium batteries that require communication with the Charge Controller. Please contact AERL support to confirm compatibility prior to installation. Additional battery support will be rolled out via Over-The-Air firmware updates.
The CoolMax SRX charge output will not automatically activate for safety reasons. Prior to activating the charge output, the charge profile must be configured for the relevant battery solution being utilized. The SRX operates using an advanced three-stage charging process and has pre-set charge voltage profiles for each supported nominal battery voltage. That said, AERL always recommends referring to the battery manufacturers specifications regarding charge voltages for optimal battery life and performance. These voltages can be adjusted in the charge profile settings. Refer to Page 18 for instructions.

Charge Profile Configuration
The CoolMax SRX allows for extensive flexibility when it comes to charge profile parameters to suit numerous different modern battery chemistries and manufacturers requirements. Our programmable charge profile allows for the configuration of the Battery Charge Rate, and the Absorb, Float, Re-Bulk, and Equalization voltage points.
IMPORTANT
An Equalization is only normally required for Flooded Lead-Acid cells that experience sulfation because of poor charging practices over the lifetime of said cell. Equalization is not required, nor recommended for LiFePo4 or other lithium-based battery solutions and will likely cause damage unless otherwise advised by the battery manufacturer.
The default charge profile is suitable for most applications but to determine the optimal charge profile for your application, please refer to your battery manufacturer’s user manual or datasheet.
The CoolMax SRX Default Charge Profiles are as follows:
| SRX 600/30-120 | |
| Nominal Battery voltage | 120 V |
| Max Charge current | 30 A |
| Absorption voltage | 144 V |
| Absorption time | 2 Hours |
| Float Voltage | 138 V |
| Re-Bulk Voltage | 126 V |
Setting the Battery Charge Profile with AERL Link
Connect to the USB-C Port on the CoolMax and Select the Device from the available local devices list.

Select the Settings button to access the battery charging settings. Charge settings are changed by clicking on the setting value and using the plus/minus arrows or the keyboard to enter a new value.

Once the required settings have been set, Apply the Changes to the CoolMax SRX by clicking on the Apply button.

Note – Further instructions for more complex functionality can be found in the AERL Link User Manual.
Battery Temperature Compensation
IMPORTANT
To utilize the CoolMax SRX battery temperature compensation functionality, an AERL
Battery Sense Remote Temperature and Voltage Sensor will be required.
Part Number: BATT-SENSE
Temperature compensation measures the temperature of the batteries and adjusts the float and absorb voltset points to the ideal voltage for batteries at that temperature. Using the temperature of the batteries, the COOLMAX SRX adjusts voltages by a user specified factor in millivolts perfect. The temperature compensation factor can be set using the AERL Link Software. The compensation factor is per bank, not per cell. Please refer to Page 18 of this User Manual for instructions on how to edit settings in the charge profile.
Connecting the Temperature Sensor
IMPORTANT
A temperature compensation value must be set in the charge profile before the CoolMax SRX will begin to utilize the battery temperature.
To connect your remote temperature sensor to the CoolMax SRX, plug the sensor into one of the CAN RJ45 ports labelled “CAN” and located between the power terminals. Insert the remote temperature sensor connector into the RJ45 connection (Make sure the orientation is correct and do not force the connection). Once the connector is inserted, it will click into place.
Temperature Sensor Location
The CoolMax SRX remote temperature sensor must be near the battery cells for accurate results. Securing the temperature sensor in a central location near the top of the bank is recommended.
CAUTION – Equipment Damage
Do not place the Battery Sense Remote Temperature and Voltage Sensor in a location where it may be exposed to water, moisture, direct sunlight, or chemical material.
Ground Fault Detection
The CoolMax SRX features industry-first onboard PV and Battery system ground fault detection, with all connected electrical poles checked for insulation degradation during the device’s start-up routine. The device chassis must be connected to the same earth as the PV array for the ground fault detection to function. The chassis earth point is located inside the access cover and indicated with the symbol demonstrated below.

IMPORTANT
The system earth configuration (Ground Fault Mode) must be adjusted in the AERL Link software for use with functionally earthed systems otherwise an earth fault will be detected on the earthed pole.
Ground Fault Sensitivity
The SRX ground fault detection offers three levels of sensitivity, all of which are compliant with the Australian PV installation standards.
| Low | 100kΩ |
| Medium | 50kΩ |
| High | 30kΩ |
The sensitivity of the ground fault detection can be configured in AERL Link as demonstrated in Figure 11 below.

Communications Protocols
The CoolMax SRX features both Controller Area Network (CAN bus) and ModBus RTU (RS485) compatible protocols for remote monitoring and control functionality. The relevant protocol registry maps for integration are available from AERL on request. Both networking protocols can be accessed via the RJ45 connectors located inside the access cover. The pin-outs for these connections are demonstrated in Figure 12 below.

| Pin | RS485 Connector |
| 3 | RS485 A |
| 6 | RS485 B |
| 1, 2, 4,5, 7, 8 | GND |
| Pin | CAN Connector |
| 3 | +5V |
| 4 | CAN High |
| 5 | CAN Low |
| 6 | GND |
Figure 12: Comms Connector Pin-Outs
Troubleshooting – Error Codes
If the CoolMax SRX detects an issue, a warning, or fault code will be triggered.
Please refer to the table below for Warning Codes and the tables located on Page 25 & 26 for Fault Codes.
| Warning Code | LED Code | Warning | Description | Recommended Action |
| -26 | Flashing Yellow/Green | Device Not Configured | The initial setup process has not been completed and the device will not begin charging. | Connect and configure the device with the AERL Link Software. Refer to Page 14. |
| -1303 | Solid Yellow/Green | Charger Disabled | The charger has been disabled via the Settings in AERL Link. | Connect to the device and enable the charger to begin charging. |
| -1153 | Solid Blue | Low Input Voltage Detected (Sleep Mode) | The PV Voltage is below the minimum allowed PV Voltage or not adequate to charge the connected battery. | Confirm PV String Configuration is appropriate for the device and the sun is shining. Note — This code may be shown during sunrise and sunset conditions. |
| -1304 | N/A | Battery Sense Not Detected | The remote voltage and temperature sensor is either unplugged or faulty. | Refer to Battery Sense User Manual for troubleshooting. |
| 1301 | Flashing Yellow/Green | CAN Master Lost | The device has not received information from the Master within the allowed time-out window. | Confirm your RJ45 connection has not been interrupted and the Master device is still active. |
| -1160 | Flashing Yellow/Green | Configuration Out of Range | Set Point configuration is outside limits and may be dangerous for detected nominal battery voltage. | Confirm the Charge Profile is appropriate for the battery being charged. Refer to the Battery Manufacturer’s recommendations. |
Please refer to the table below for Fault Codes.
| Fault Code | LED Code | Error | Description | Recommended Action |
| -1 to -100 | Solid Red | Generic Hardware Fault | A hardware fault has been detected. | Please contact your distributor to organize a warranty replacement. |
| -350 | 1 Flash – Red | No Output Detected | No output has been detected. | Power cycle the device and contact AERL if it reoccurs. |
| -1100 | Solid Red | Internal Temperature Critical | The device’s internal systems have reached a critical temperature and shutdown to prevent system damage. | The device will automatically restart when it’s safe to do so. |
| -1159 | 2 Flashes – Red | Low Output Voltage | Low output voltage has been detected. | Confirm the battery is connected to the controller. |
| – 1154 | 3 Flashes – Red | High Output Voltage | High output voltage has been detected. | Battery may be being charged from a secondary source. Confirm all system battery charge parameters. |
| -1157 | 4 Flashes – Red | High Output Current | High output current has been detected. | Confirm no short circuit is present on the output of the controller. |
| -1152 | 5 Flashes – Red | High PV Voltage | High PV Voltage has been detected. The device has shutdown to prevent system damage. | Confirm PV String Configuration is appropriate for the device. |
| -1156 | 6 Flashes – Red | High PV Current | High PV input current has been detected. | Confirm PV String Configuration is appropriate for the device. |
| Fault Code | LED Code | Error | Description | Recommended Action |
| -1051 -1052 | Solid Red | Active Cooling Degraded | Degraded active cooling capability has been detected. | Replace Fan Module. |
| -1102 | 8 Flashes – Red | High Battery Temperature Detected | The battery temperature sensor has detected a high battery temperature. Operating the battery at a high temperature will greatly reduce its lifespan. | Consider increasing the battery temperature compensation factor with the AERL Link Software or reducing the ambient environment temperature. |
| -1103 | 9 Flashes – Red | Low Battery Temperature Detected | The battery temperature sensor has detected a low battery temperature. Operating the battery at a low temperature may greatly reduce its lifespan. | Consider a temperature- controlled battery environment if the battery regularly experiences low temperatures. |
| -1401 -1402 -1403 | 10 Flashes – Red | Earth Fault Detected | An Earth Fault has been detected. | Disconnect the device, confirm the fault with a Megger, and repair the system. |
Note: The CoolMax troubleshooting guide and documentation is being improved regularly. If the relevant situation is not documented, please contact AERL.


















